Крупнейшая бесплатная информационно-справочная система онлайн доступа к полному собранию технических нормативно-правовых актов РФ. Огромная база технических нормативов (более 150 тысяч документов) и полное собрание национальных стандартов, аутентичное официальной базе Госстандарта. GOSTRF.com - это более 1 Терабайта бесплатной технической информации для всех пользователей интернета. Все электронные копии представленных здесь документов могут распространяться без каких-либо ограничений. Поощряется распространение информации с этого сайта на любых других ресурсах. Каждый человек имеет право на неограниченный доступ к этим документам! Каждый человек имеет право на знание требований, изложенных в данных нормативно-правовых актах!

  


 

ГОСТ 16086-70

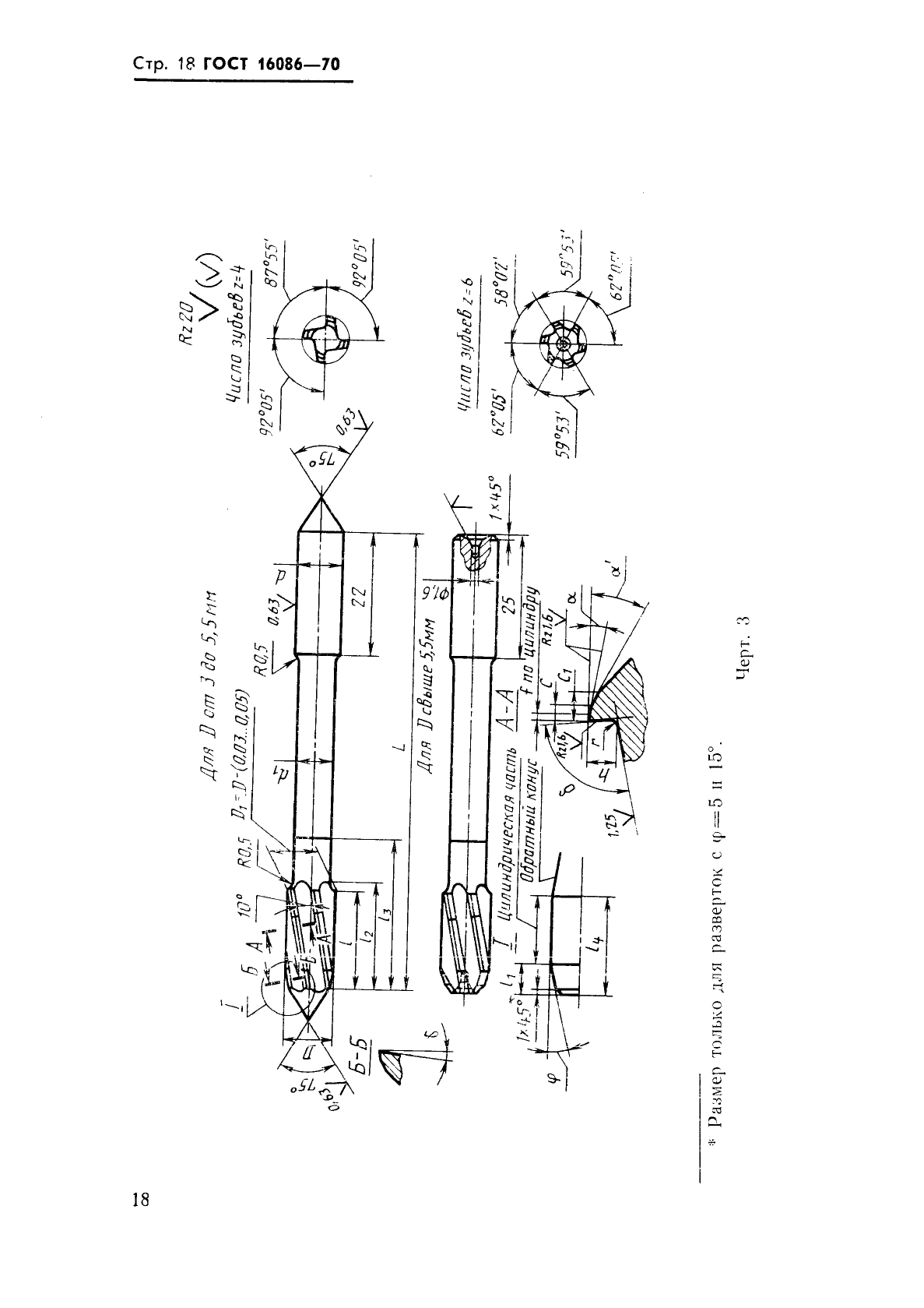
Развертки машинные цельные с цилиндрическим хвостовиком из твердого сплава. Типы и основные размеры

Обозначение:ГОСТ 16086-70
Текущий статус документа: действующий
Название документа рус.:Развертки машинные цельные с цилиндрическим хвостовиком из твердого сплава. Типы и основные размеры
Название документа англ.:Solid carbide machine reamers with cylindrical shank. Types and basic dimensions
Дата актуализации текста:01.12.2013
Дата издания:01.12.1985
Дата введения:01.01.1972
Дата последнего изменения:22.05.2013
Переиздание:переиздание с изм. 1
Область применения:Настоящий стандарт распространяется на машинные цельные чистовые развертки с цилиндрическим хвостовиком из твердого сплава для обработки без кондукторных втулок отверстий с полями допусков Н7, К7, Н8, Н9 по СТ СЭВ 144-75 или с припуском под доводку от №1 до 6 в труднообрабатываемых материалах с сигмой В = 1600-2000 МПа (160-200 кгс/мм кв.) или пластмассах с абразивными наполнителями
Список изменений:№1 от 01.04.1977 (рег. 01.04.1977) «Срок действия продлен»
№2 от 01.08.1980 (рег. 24.06.1980) «Срок действия продлен»
ГОСТ 16086-70ГОСТ 16086-70ГОСТ 16086-70ГОСТ 16086-70ГОСТ 16086-70ГОСТ 16086-70ГОСТ 16086-70ГОСТ 16086-70ГОСТ 16086-70ГОСТ 16086-70ГОСТ 16086-70ГОСТ 16086-70ГОСТ 16086-70ГОСТ 16086-70ГОСТ 16086-70ГОСТ 16086-70ГОСТ 16086-70ГОСТ 16086-70ГОСТ 16086-70ГОСТ 16086-70ГОСТ 16086-70ГОСТ 16086-70ГОСТ 16086-70
 




ГОСТЫ, СТРОИТЕЛЬНЫЕ и ТЕХНИЧЕСКИЕ НОРМАТИВЫ.
Некоммерческая онлайн система, содержащая все Российские Госты, национальные Стандарты и нормативы.
В Системе содержится более 150000 файлов нормативно-технической документации, действующей на территории РФ.
Система предназначена для широкого круга инженерно-технических специалистов.

Рейтинг@Mail.ru Яндекс цитирования

Copyright © www.gostrf.com, 2008 - 2026