Крупнейшая бесплатная информационно-справочная система онлайн доступа к полному собранию технических нормативно-правовых актов РФ. Огромная база технических нормативов (более 150 тысяч документов) и полное собрание национальных стандартов, аутентичное официальной базе Госстандарта. GOSTRF.com - это более 1 Терабайта бесплатной технической информации для всех пользователей интернета. Все электронные копии представленных здесь документов могут распространяться без каких-либо ограничений. Поощряется распространение информации с этого сайта на любых других ресурсах. Каждый человек имеет право на неограниченный доступ к этим документам! Каждый человек имеет право на знание требований, изложенных в данных нормативно-правовых актах!

  


 

ГОСТ 15967-70

Ткани льняные и полульняные для спецодежды. Метод определения стойкости к истиранию по плоскости

Обозначение:ГОСТ 15967-70
Текущий статус документа: действующий
Название документа рус.:Ткани льняные и полульняные для спецодежды. Метод определения стойкости к истиранию по плоскости
Название документа англ.:Linen and semi-linen fabrics for overalls. Method for determination of surface abrasion resistance
Дата актуализации текста:01.12.2013
Дата издания:01.04.1985
Дата введения:01.01.1971
Дата последнего изменения:22.05.2013
Переиздание:переиздание с изм. 1
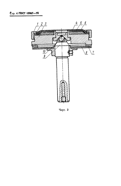
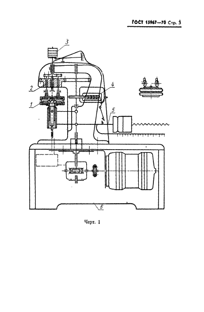
Область применения:Настоящий стандарт распространяется на ткани льняные и полульняные для спецодежды и устанавливает метод определения их стойкости к истиранию по плоскости.
Стойкость к истиранию характеризуется числом циклов истирающих воздействий, выдерживаемых тканью до образования дыры
Список изменений:№1 от 01.05.1975 (рег. 12.03.1975) «Срок действия продлен»
№2 от 01.11.1984 (рег. 18.05.1984) «Срок действия продлен»
ГОСТ 15967-70ГОСТ 15967-70ГОСТ 15967-70ГОСТ 15967-70ГОСТ 15967-70ГОСТ 15967-70ГОСТ 15967-70ГОСТ 15967-70
 




ГОСТЫ, СТРОИТЕЛЬНЫЕ и ТЕХНИЧЕСКИЕ НОРМАТИВЫ.
Некоммерческая онлайн система, содержащая все Российские Госты, национальные Стандарты и нормативы.
В Системе содержится более 150000 файлов нормативно-технической документации, действующей на территории РФ.
Система предназначена для широкого круга инженерно-технических специалистов.

Рейтинг@Mail.ru Яндекс цитирования

Copyright © www.gostrf.com, 2008 - 2026