Крупнейшая бесплатная информационно-справочная система онлайн доступа к полному собранию технических нормативно-правовых актов РФ. Огромная база технических нормативов (более 150 тысяч документов) и полное собрание национальных стандартов, аутентичное официальной базе Госстандарта. GOSTRF.com - это более 1 Терабайта бесплатной технической информации для всех пользователей интернета. Все электронные копии представленных здесь документов могут распространяться без каких-либо ограничений. Поощряется распространение информации с этого сайта на любых других ресурсах. Каждый человек имеет право на неограниченный доступ к этим документам! Каждый человек имеет право на знание требований, изложенных в данных нормативно-правовых актах!

  


 

ГОСТ 15009-69

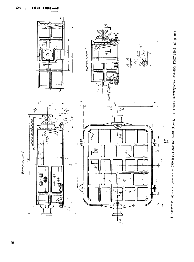
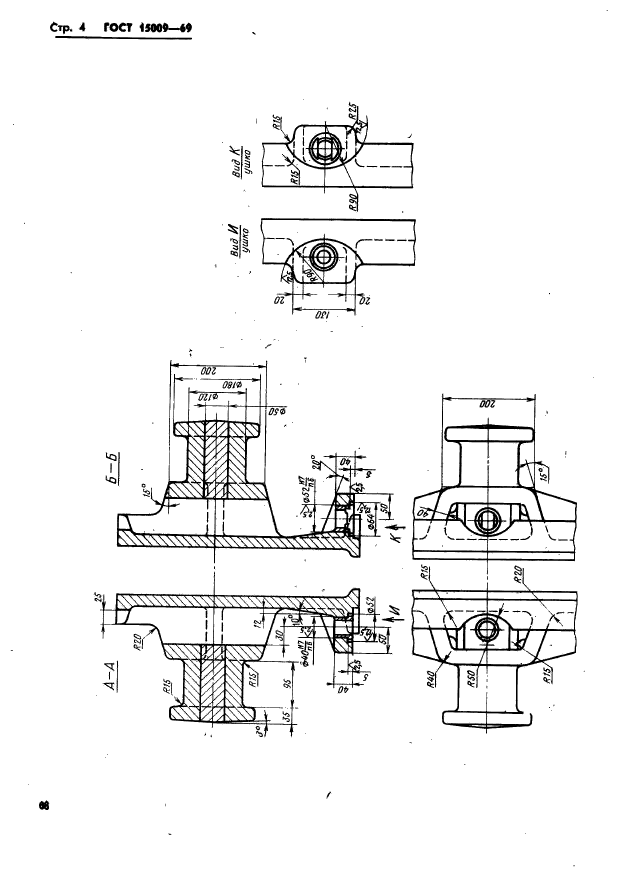
Опоки литейные цельнолитые чугунные прямоугольные размерами в свету: длиной 1200; 1400 мм, шириной 900; 1000 мм, высотой 450; 500 мм. Конструкция и размеры

Обозначение:ГОСТ 15009-69
Текущий статус документа: действующий
Название документа рус.:Опоки литейные цельнолитые чугунные прямоугольные размерами в свету: длиной 1200; 1400 мм, шириной 900; 1000 мм, высотой 450; 500 мм. Конструкция и размеры
Название документа англ.:Rectangular iron all-cast moulding boxes having inside dimensions: length 1200; 1400 mm, width 900; 1000 mm, height 450; 500 mm. Construction and dimensions
Дата актуализации текста:01.12.2013
Дата издания:01.11.1981
Дата введения:01.01.1971
Дата последнего изменения:22.05.2013
Переиздание:переиздание с изм. 1
Взамен:МН 2014-61
Область применения:Настоящий стандарт распространяется на литейные цельнолитые чугунные прямоугольные опоки, предназначенные для изготовления песчаных литейных форм при машинной, пескометной и ручной формовке.
Стандарт не распространяется на опоки, применяемые при формовке методом прессования под высоким удельным давлением
Список изменений:№1 от 01.11.1980 (рег. 10.07.1980) «Срок действия продлен»
ГОСТ 15009-69ГОСТ 15009-69ГОСТ 15009-69ГОСТ 15009-69ГОСТ 15009-69
 




ГОСТЫ, СТРОИТЕЛЬНЫЕ и ТЕХНИЧЕСКИЕ НОРМАТИВЫ.
Некоммерческая онлайн система, содержащая все Российские Госты, национальные Стандарты и нормативы.
В Системе содержится более 150000 файлов нормативно-технической документации, действующей на территории РФ.
Система предназначена для широкого круга инженерно-технических специалистов.

Рейтинг@Mail.ru Яндекс цитирования

Copyright © www.gostrf.com, 2008 - 2026