Крупнейшая бесплатная информационно-справочная система онлайн доступа к полному собранию технических нормативно-правовых актов РФ. Огромная база технических нормативов (более 150 тысяч документов) и полное собрание национальных стандартов, аутентичное официальной базе Госстандарта. GOSTRF.com - это более 1 Терабайта бесплатной технической информации для всех пользователей интернета. Все электронные копии представленных здесь документов могут распространяться без каких-либо ограничений. Поощряется распространение информации с этого сайта на любых других ресурсах. Каждый человек имеет право на неограниченный доступ к этим документам! Каждый человек имеет право на знание требований, изложенных в данных нормативно-правовых актах!

  


 

ГОСТ 25762-83

Обработка резанием. Термины, определения и обозначения общих понятий

Обозначение:ГОСТ 25762-83
Текущий статус документа: действующий
Название документа рус.:Обработка резанием. Термины, определения и обозначения общих понятий
Название документа англ.:Machining. Terms, definitions
Дата актуализации текста:01.12.2013
Дата издания:01.08.1985
Дата введения:30.06.1984
Дата последнего изменения:22.05.2013
Переиздание:переиздание
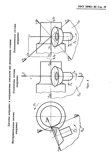
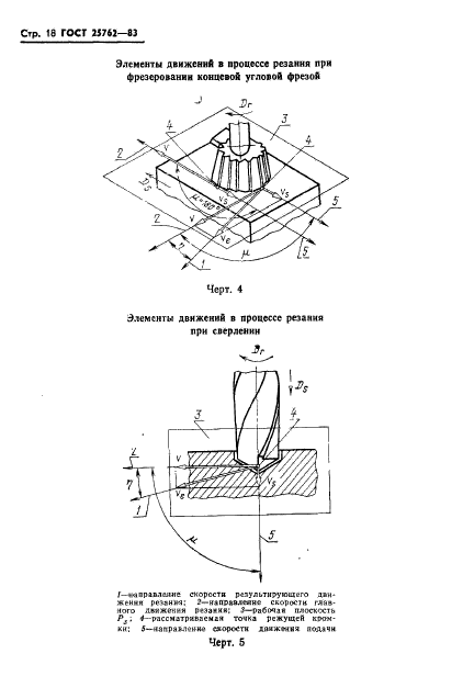
Область применения:Настоящий стандарт устанавливает применяемые в науке, технике и производстве термины и определения общих понятий, относящихся ко всем видам обработки резанием, а также буквенные обозначения величин кинематических элементов резания, координатных плоскостей и элементов лезвия
ГОСТ 25762-83ГОСТ 25762-83ГОСТ 25762-83ГОСТ 25762-83ГОСТ 25762-83ГОСТ 25762-83ГОСТ 25762-83ГОСТ 25762-83ГОСТ 25762-83ГОСТ 25762-83ГОСТ 25762-83ГОСТ 25762-83ГОСТ 25762-83ГОСТ 25762-83ГОСТ 25762-83ГОСТ 25762-83ГОСТ 25762-83ГОСТ 25762-83ГОСТ 25762-83ГОСТ 25762-83ГОСТ 25762-83ГОСТ 25762-83ГОСТ 25762-83ГОСТ 25762-83ГОСТ 25762-83ГОСТ 25762-83ГОСТ 25762-83ГОСТ 25762-83ГОСТ 25762-83ГОСТ 25762-83ГОСТ 25762-83ГОСТ 25762-83ГОСТ 25762-83ГОСТ 25762-83ГОСТ 25762-83ГОСТ 25762-83ГОСТ 25762-83ГОСТ 25762-83ГОСТ 25762-83ГОСТ 25762-83ГОСТ 25762-83ГОСТ 25762-83ГОСТ 25762-83ГОСТ 25762-83ГОСТ 25762-83
 




ГОСТЫ, СТРОИТЕЛЬНЫЕ и ТЕХНИЧЕСКИЕ НОРМАТИВЫ.
Некоммерческая онлайн система, содержащая все Российские Госты, национальные Стандарты и нормативы.
В Системе содержится более 150000 файлов нормативно-технической документации, действующей на территории РФ.
Система предназначена для широкого круга инженерно-технических специалистов.

Рейтинг@Mail.ru Яндекс цитирования

Copyright © www.gostrf.com, 2008 - 2026