Крупнейшая бесплатная информационно-справочная система онлайн доступа к полному собранию технических нормативно-правовых актов РФ. Огромная база технических нормативов (более 150 тысяч документов) и полное собрание национальных стандартов, аутентичное официальной базе Госстандарта. GOSTRF.com - это более 1 Терабайта бесплатной технической информации для всех пользователей интернета. Все электронные копии представленных здесь документов могут распространяться без каких-либо ограничений. Поощряется распространение информации с этого сайта на любых других ресурсах. Каждый человек имеет право на неограниченный доступ к этим документам! Каждый человек имеет право на знание требований, изложенных в данных нормативно-правовых актах!

  


 

ГОСТ Р 52785-2007

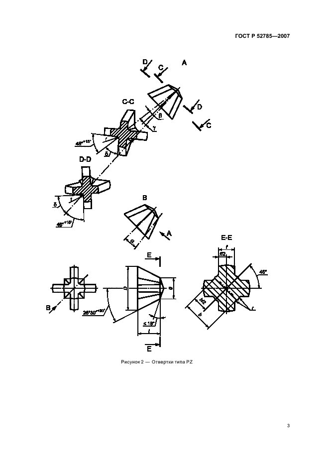
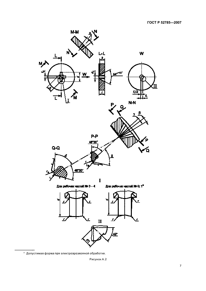
Отвертки слесарно-монтажные для винтов и шурупов с крестообразным шлицем. Рабочая часть. Размеры

Обозначение:ГОСТ Р 52785-2007
Текущий статус документа: действующий
Название документа рус.:Отвертки слесарно-монтажные для винтов и шурупов с крестообразным шлицем. Рабочая часть. Размеры
Название документа англ.:Screwdrivers for fitting and assеmbling for recessed screws and wood screws. Working part. Dimensions
Дата актуализации текста:01.12.2013
Дата издания:21.01.2010
Дата введения:01.01.2009
Дата последнего изменения:22.05.2013
Переиздание:переиздание с поправкой
Область применения:Настоящий стандарт распространяется на слесарно-монтажные отвертки для винтов и шурупов с крестообразным шлицем и устанавливает размеры их рабочей части
Список изменений:№0 от 29.04.2009 (рег. 29.04.2009) «Дата введения перенесена»
Приложение №1:Поправка к ГОСТ Р 52785-2007
ГОСТ Р 52785-2007ГОСТ Р 52785-2007ГОСТ Р 52785-2007ГОСТ Р 52785-2007ГОСТ Р 52785-2007ГОСТ Р 52785-2007ГОСТ Р 52785-2007ГОСТ Р 52785-2007ГОСТ Р 52785-2007ГОСТ Р 52785-2007ГОСТ Р 52785-2007ГОСТ Р 52785-2007

Поправка к ГОСТ Р 52785-2007

Обозначение:Поправка к ГОСТ Р 52785-2007
Дата введения:29.04.2009


Поправка к ГОСТ Р 52785-2007
 




ГОСТЫ, СТРОИТЕЛЬНЫЕ и ТЕХНИЧЕСКИЕ НОРМАТИВЫ.
Некоммерческая онлайн система, содержащая все Российские Госты, национальные Стандарты и нормативы.
В Системе содержится более 150000 файлов нормативно-технической документации, действующей на территории РФ.
Система предназначена для широкого круга инженерно-технических специалистов.

Рейтинг@Mail.ru Яндекс цитирования

Copyright © www.gostrf.com, 2008 - 2026