Крупнейшая бесплатная информационно-справочная система онлайн доступа к полному собранию технических нормативно-правовых актов РФ. Огромная база технических нормативов (более 150 тысяч документов) и полное собрание национальных стандартов, аутентичное официальной базе Госстандарта. GOSTRF.com - это более 1 Терабайта бесплатной технической информации для всех пользователей интернета. Все электронные копии представленных здесь документов могут распространяться без каких-либо ограничений. Поощряется распространение информации с этого сайта на любых других ресурсах. Каждый человек имеет право на неограниченный доступ к этим документам! Каждый человек имеет право на знание требований, изложенных в данных нормативно-правовых актах!

  


 

ГОСТ Р 51317.4.11-2007

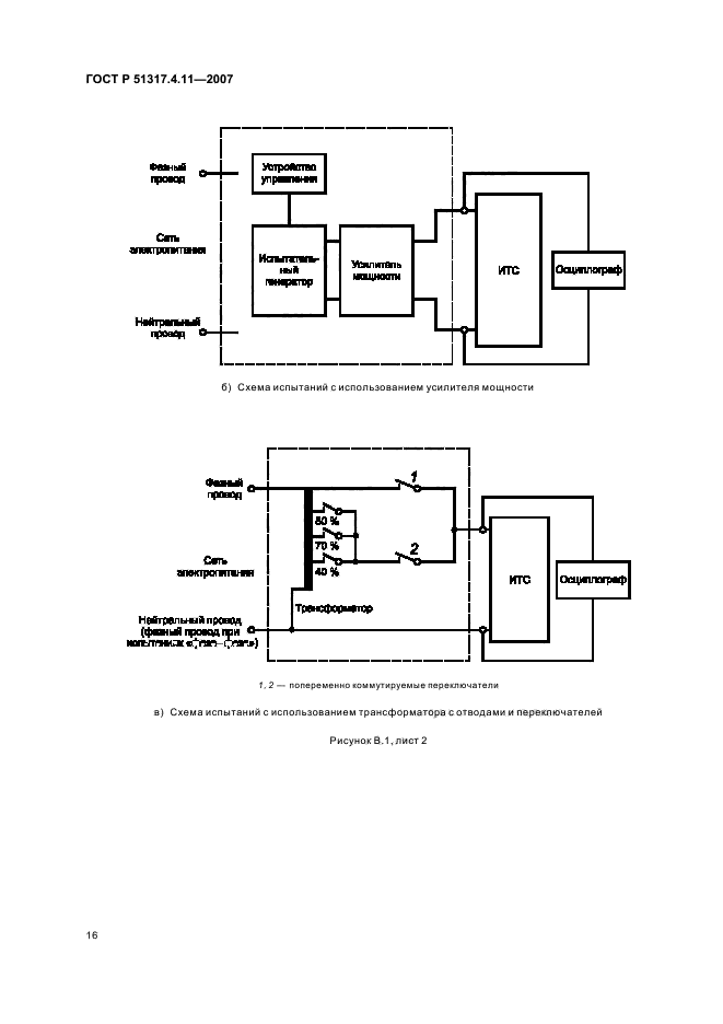
Совместимость технических средств электромагнитная. Устойчивость к провалам, кратковременным прерываниям и изменениям напряжения электропитания. Требования и методы испытаний

Обозначение:ГОСТ Р 51317.4.11-2007
Текущий статус документа: действующий
Название документа рус.:Совместимость технических средств электромагнитная. Устойчивость к провалам, кратковременным прерываниям и изменениям напряжения электропитания. Требования и методы испытаний
Название документа англ.:Electromagnetic compatibility of technical equipmеnt. Voltage dips, short interruptions and voltage variations immunity. Requirements and test methods
Дата актуализации текста:01.12.2013
Дата издания:01.04.2008
Дата введения:30.06.2008
Дата последнего изменения:11.09.2013
Дата окончания срока действия:01.01.2014
Область применения:Настоящий стандарт устанавливает методы испытаний электротехнических, электронных и радиоэлектронных изделий и оборудования, подключаемых к низковольтным (напряжение не выше 1000 В) электрическим сетям переменного тока, на устойчивость к воздействию провалов, кратковременных прерываний и изменений напряжения электропитания, а также рекомендуемые уровни испытательных напряжений при проведении испытаний на помехоустойчивость.
Настоящий стандарт не распространяется на технические средства, подключаемые к электрическим сетям переменного тока частотой 400 Гц
Список изменений:№0 от 01.01.2014 (рег. 22.07.2013) «Текстовое изменение; Изменено заглавие»
ГОСТ Р 51317.4.11-2007ГОСТ Р 51317.4.11-2007ГОСТ Р 51317.4.11-2007ГОСТ Р 51317.4.11-2007ГОСТ Р 51317.4.11-2007ГОСТ Р 51317.4.11-2007ГОСТ Р 51317.4.11-2007ГОСТ Р 51317.4.11-2007ГОСТ Р 51317.4.11-2007ГОСТ Р 51317.4.11-2007ГОСТ Р 51317.4.11-2007ГОСТ Р 51317.4.11-2007ГОСТ Р 51317.4.11-2007ГОСТ Р 51317.4.11-2007ГОСТ Р 51317.4.11-2007ГОСТ Р 51317.4.11-2007ГОСТ Р 51317.4.11-2007ГОСТ Р 51317.4.11-2007ГОСТ Р 51317.4.11-2007ГОСТ Р 51317.4.11-2007ГОСТ Р 51317.4.11-2007ГОСТ Р 51317.4.11-2007ГОСТ Р 51317.4.11-2007ГОСТ Р 51317.4.11-2007
 




ГОСТЫ, СТРОИТЕЛЬНЫЕ и ТЕХНИЧЕСКИЕ НОРМАТИВЫ.
Некоммерческая онлайн система, содержащая все Российские Госты, национальные Стандарты и нормативы.
В Системе содержится более 150000 файлов нормативно-технической документации, действующей на территории РФ.
Система предназначена для широкого круга инженерно-технических специалистов.

Рейтинг@Mail.ru Яндекс цитирования

Copyright © www.gostrf.com, 2008 - 2026