Крупнейшая бесплатная информационно-справочная система онлайн доступа к полному собранию технических нормативно-правовых актов РФ. Огромная база технических нормативов (более 150 тысяч документов) и полное собрание национальных стандартов, аутентичное официальной базе Госстандарта. GOSTRF.com - это более 1 Терабайта бесплатной технической информации для всех пользователей интернета. Все электронные копии представленных здесь документов могут распространяться без каких-либо ограничений. Поощряется распространение информации с этого сайта на любых других ресурсах. Каждый человек имеет право на неограниченный доступ к этим документам! Каждый человек имеет право на знание требований, изложенных в данных нормативно-правовых актах!

  


 

ГОСТ Р 52797.2-2007

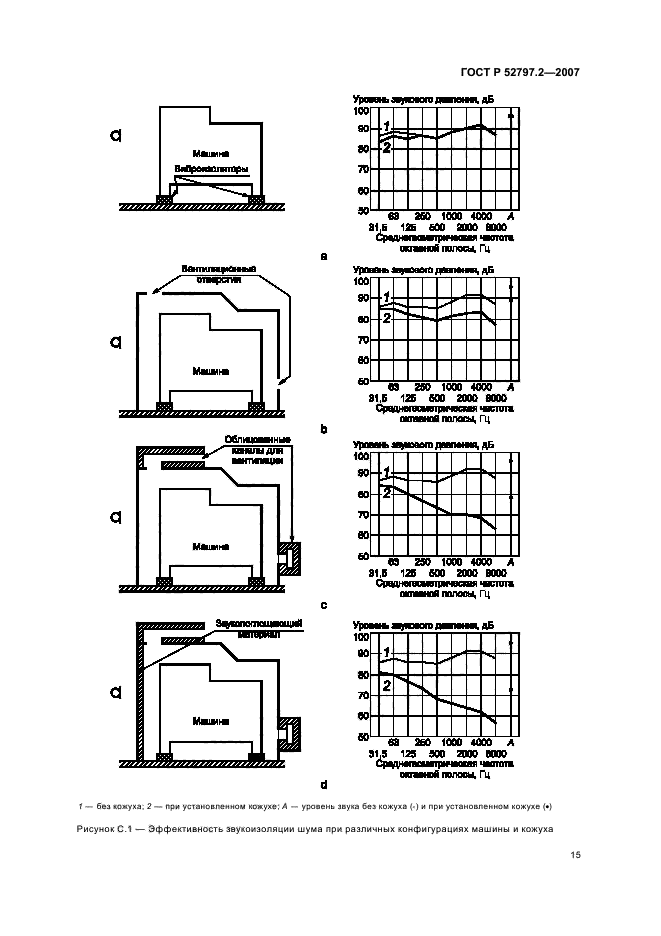
Акустика. Рекомендуемые методы проектирования малошумных рабочих мест производственных помещений. Часть 2. Меры и средства защиты от шума

Обозначение:ГОСТ Р 52797.2-2007
Текущий статус документа: действующий
Название документа рус.:Акустика. Рекомендуемые методы проектирования малошумных рабочих мест производственных помещений. Часть 2. Меры и средства защиты от шума
Название документа англ.:Acoustics. Recommended practice for the design of low-noise workplaces containing machinery. Part 2. Noise control measures
Дата актуализации текста:01.12.2013
Дата издания:16.04.2008
Дата введения:30.06.2008
Дата последнего изменения:22.05.2013
Область применения:Настоящий стандарт устанавливает технические меры защиты шума на рабочих местах. В стандарте рассмотрены различные виды средств и мер защиты, акустические величины для оценки и контроля эффективности этих средств, приведены типичные значения характеристик снижения шума.
Настоящий стандарт относится к слышимому звуку
ГОСТ Р 52797.2-2007ГОСТ Р 52797.2-2007ГОСТ Р 52797.2-2007ГОСТ Р 52797.2-2007ГОСТ Р 52797.2-2007ГОСТ Р 52797.2-2007ГОСТ Р 52797.2-2007ГОСТ Р 52797.2-2007ГОСТ Р 52797.2-2007ГОСТ Р 52797.2-2007ГОСТ Р 52797.2-2007ГОСТ Р 52797.2-2007ГОСТ Р 52797.2-2007ГОСТ Р 52797.2-2007ГОСТ Р 52797.2-2007ГОСТ Р 52797.2-2007ГОСТ Р 52797.2-2007ГОСТ Р 52797.2-2007ГОСТ Р 52797.2-2007ГОСТ Р 52797.2-2007ГОСТ Р 52797.2-2007ГОСТ Р 52797.2-2007ГОСТ Р 52797.2-2007ГОСТ Р 52797.2-2007ГОСТ Р 52797.2-2007ГОСТ Р 52797.2-2007ГОСТ Р 52797.2-2007ГОСТ Р 52797.2-2007
 




ГОСТЫ, СТРОИТЕЛЬНЫЕ и ТЕХНИЧЕСКИЕ НОРМАТИВЫ.
Некоммерческая онлайн система, содержащая все Российские Госты, национальные Стандарты и нормативы.
В Системе содержится более 150000 файлов нормативно-технической документации, действующей на территории РФ.
Система предназначена для широкого круга инженерно-технических специалистов.

Рейтинг@Mail.ru Яндекс цитирования

Copyright © www.gostrf.com, 2008 - 2026