Крупнейшая бесплатная информационно-справочная система онлайн доступа к полному собранию технических нормативно-правовых актов РФ. Огромная база технических нормативов (более 150 тысяч документов) и полное собрание национальных стандартов, аутентичное официальной базе Госстандарта. GOSTRF.com - это более 1 Терабайта бесплатной технической информации для всех пользователей интернета. Все электронные копии представленных здесь документов могут распространяться без каких-либо ограничений. Поощряется распространение информации с этого сайта на любых других ресурсах. Каждый человек имеет право на неограниченный доступ к этим документам! Каждый человек имеет право на знание требований, изложенных в данных нормативно-правовых актах!

  


 

ГОСТ Р 51318.16.1.1-2007

Совместимость технических средств электромагнитная. Требования к аппаратуре для измерения параметров индустриальных радиопомех и помехоустойчивости и методы измерений. Часть 1-1. Аппаратура для измерения параметров индустриальных радиопомех и помехоустойчивости. Приборы для измерения индустриальных радиопомех

Обозначение:ГОСТ Р 51318.16.1.1-2007
Текущий статус документа: действующий
Название документа рус.:Совместимость технических средств электромагнитная. Требования к аппаратуре для измерения параметров индустриальных радиопомех и помехоустойчивости и методы измерений. Часть 1-1. Аппаратура для измерения параметров индустриальных радиопомех и помехоустойчивости. Приборы для измерения индустриальных радиопомех
Название документа англ.:Electromagnetic compatibility of technical equipment. Specification for radio disturbance and immunity measuring apparatus and methods. Part 1-1. Radio disturbance and immunity measuring apparatus. Measuring apparatus
Дата актуализации текста:01.12.2013
Дата издания:03.10.2008
Дата введения:30.06.2008
Дата последнего изменения:22.05.2013
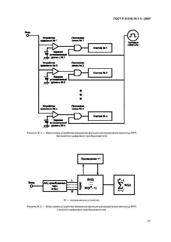
Область применения:Настоящий стандарт является основополагающим стандартом, устанавливающим характеристики и качество функционирования аппаратуры для измерения напряжения, тока и напряженности поля индустриальных радиопомех (ИРП) в полосе частот от 9 кГц до 18 ГГц.
В настоящем стандарте установлены также требования к специализированным приборам для измерений прерывистых ИРП.
Настоящий стандарт распространяется на следующие виды измерителей ИРП:
а) измерительный приемник с квазипиковым детектором;
б) измерительный приемник с детектором пиковых значений;
в) измерительный приемник с детектором средних значений;
г) измерительный приемник с детектором среднеквадратических значений
ГОСТ Р 51318.16.1.1-2007ГОСТ Р 51318.16.1.1-2007ГОСТ Р 51318.16.1.1-2007ГОСТ Р 51318.16.1.1-2007ГОСТ Р 51318.16.1.1-2007ГОСТ Р 51318.16.1.1-2007ГОСТ Р 51318.16.1.1-2007ГОСТ Р 51318.16.1.1-2007ГОСТ Р 51318.16.1.1-2007ГОСТ Р 51318.16.1.1-2007ГОСТ Р 51318.16.1.1-2007ГОСТ Р 51318.16.1.1-2007ГОСТ Р 51318.16.1.1-2007ГОСТ Р 51318.16.1.1-2007ГОСТ Р 51318.16.1.1-2007ГОСТ Р 51318.16.1.1-2007ГОСТ Р 51318.16.1.1-2007ГОСТ Р 51318.16.1.1-2007ГОСТ Р 51318.16.1.1-2007ГОСТ Р 51318.16.1.1-2007ГОСТ Р 51318.16.1.1-2007ГОСТ Р 51318.16.1.1-2007ГОСТ Р 51318.16.1.1-2007ГОСТ Р 51318.16.1.1-2007ГОСТ Р 51318.16.1.1-2007ГОСТ Р 51318.16.1.1-2007ГОСТ Р 51318.16.1.1-2007ГОСТ Р 51318.16.1.1-2007ГОСТ Р 51318.16.1.1-2007ГОСТ Р 51318.16.1.1-2007ГОСТ Р 51318.16.1.1-2007ГОСТ Р 51318.16.1.1-2007ГОСТ Р 51318.16.1.1-2007ГОСТ Р 51318.16.1.1-2007ГОСТ Р 51318.16.1.1-2007ГОСТ Р 51318.16.1.1-2007ГОСТ Р 51318.16.1.1-2007ГОСТ Р 51318.16.1.1-2007ГОСТ Р 51318.16.1.1-2007ГОСТ Р 51318.16.1.1-2007ГОСТ Р 51318.16.1.1-2007ГОСТ Р 51318.16.1.1-2007ГОСТ Р 51318.16.1.1-2007ГОСТ Р 51318.16.1.1-2007ГОСТ Р 51318.16.1.1-2007ГОСТ Р 51318.16.1.1-2007ГОСТ Р 51318.16.1.1-2007ГОСТ Р 51318.16.1.1-2007ГОСТ Р 51318.16.1.1-2007ГОСТ Р 51318.16.1.1-2007ГОСТ Р 51318.16.1.1-2007ГОСТ Р 51318.16.1.1-2007ГОСТ Р 51318.16.1.1-2007ГОСТ Р 51318.16.1.1-2007ГОСТ Р 51318.16.1.1-2007ГОСТ Р 51318.16.1.1-2007ГОСТ Р 51318.16.1.1-2007ГОСТ Р 51318.16.1.1-2007
 




ГОСТЫ, СТРОИТЕЛЬНЫЕ и ТЕХНИЧЕСКИЕ НОРМАТИВЫ.
Некоммерческая онлайн система, содержащая все Российские Госты, национальные Стандарты и нормативы.
В Системе содержится более 150000 файлов нормативно-технической документации, действующей на территории РФ.
Система предназначена для широкого круга инженерно-технических специалистов.

Рейтинг@Mail.ru Яндекс цитирования

Copyright © www.gostrf.com, 2008 - 2026