Крупнейшая бесплатная информационно-справочная система онлайн доступа к полному собранию технических нормативно-правовых актов РФ. Огромная база технических нормативов (более 150 тысяч документов) и полное собрание национальных стандартов, аутентичное официальной базе Госстандарта. GOSTRF.com - это более 1 Терабайта бесплатной технической информации для всех пользователей интернета. Все электронные копии представленных здесь документов могут распространяться без каких-либо ограничений. Поощряется распространение информации с этого сайта на любых других ресурсах. Каждый человек имеет право на неограниченный доступ к этим документам! Каждый человек имеет право на знание требований, изложенных в данных нормативно-правовых актах!

  


 

ГОСТ Р ИСО/МЭК ТО 10032-2007

Эталонная модель управления данными

Обозначение:ГОСТ Р ИСО/МЭК ТО 10032-2007
Текущий статус документа: действующий
Название документа рус.:Эталонная модель управления данными
Название документа англ.:Reference model of data management
Дата актуализации текста:01.12.2013
Дата издания:03.02.2009
Дата введения:01.09.2008
Дата последнего изменения:22.05.2013
Область применения:Настоящий стандарт устанавливает эталонную модель управления данными, разработанную ИСО, и структуру, необходимую для координации и разработки действующих и будущих стандартов в области управления постоянными данными в информационных системах.
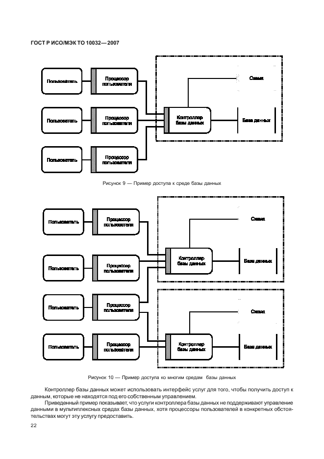
Стандарт устанавливает общую терминологию и основные понятия, относящиеся ко всем данным информационных систем. Такие поняти используют для определения более специфических услуг, предоставляемых специальными компонентами управления данных, например системами управления базами данных или системами словарей данных. Определение подобных взаимосвязанных услуг идентифицирует интерфейсы, которые могут стать предметом будущих стандартов
ГОСТ Р ИСО/МЭК ТО 10032-2007ГОСТ Р ИСО/МЭК ТО 10032-2007ГОСТ Р ИСО/МЭК ТО 10032-2007ГОСТ Р ИСО/МЭК ТО 10032-2007ГОСТ Р ИСО/МЭК ТО 10032-2007ГОСТ Р ИСО/МЭК ТО 10032-2007ГОСТ Р ИСО/МЭК ТО 10032-2007ГОСТ Р ИСО/МЭК ТО 10032-2007ГОСТ Р ИСО/МЭК ТО 10032-2007ГОСТ Р ИСО/МЭК ТО 10032-2007ГОСТ Р ИСО/МЭК ТО 10032-2007ГОСТ Р ИСО/МЭК ТО 10032-2007ГОСТ Р ИСО/МЭК ТО 10032-2007ГОСТ Р ИСО/МЭК ТО 10032-2007ГОСТ Р ИСО/МЭК ТО 10032-2007ГОСТ Р ИСО/МЭК ТО 10032-2007ГОСТ Р ИСО/МЭК ТО 10032-2007ГОСТ Р ИСО/МЭК ТО 10032-2007ГОСТ Р ИСО/МЭК ТО 10032-2007ГОСТ Р ИСО/МЭК ТО 10032-2007ГОСТ Р ИСО/МЭК ТО 10032-2007ГОСТ Р ИСО/МЭК ТО 10032-2007ГОСТ Р ИСО/МЭК ТО 10032-2007ГОСТ Р ИСО/МЭК ТО 10032-2007ГОСТ Р ИСО/МЭК ТО 10032-2007ГОСТ Р ИСО/МЭК ТО 10032-2007ГОСТ Р ИСО/МЭК ТО 10032-2007ГОСТ Р ИСО/МЭК ТО 10032-2007ГОСТ Р ИСО/МЭК ТО 10032-2007ГОСТ Р ИСО/МЭК ТО 10032-2007ГОСТ Р ИСО/МЭК ТО 10032-2007ГОСТ Р ИСО/МЭК ТО 10032-2007ГОСТ Р ИСО/МЭК ТО 10032-2007ГОСТ Р ИСО/МЭК ТО 10032-2007ГОСТ Р ИСО/МЭК ТО 10032-2007ГОСТ Р ИСО/МЭК ТО 10032-2007ГОСТ Р ИСО/МЭК ТО 10032-2007ГОСТ Р ИСО/МЭК ТО 10032-2007ГОСТ Р ИСО/МЭК ТО 10032-2007ГОСТ Р ИСО/МЭК ТО 10032-2007ГОСТ Р ИСО/МЭК ТО 10032-2007ГОСТ Р ИСО/МЭК ТО 10032-2007ГОСТ Р ИСО/МЭК ТО 10032-2007ГОСТ Р ИСО/МЭК ТО 10032-2007ГОСТ Р ИСО/МЭК ТО 10032-2007
 




ГОСТЫ, СТРОИТЕЛЬНЫЕ и ТЕХНИЧЕСКИЕ НОРМАТИВЫ.
Некоммерческая онлайн система, содержащая все Российские Госты, национальные Стандарты и нормативы.
В Системе содержится более 150000 файлов нормативно-технической документации, действующей на территории РФ.
Система предназначена для широкого круга инженерно-технических специалистов.

Рейтинг@Mail.ru Яндекс цитирования

Copyright © www.gostrf.com, 2008 - 2026