Крупнейшая бесплатная информационно-справочная система онлайн доступа к полному собранию технических нормативно-правовых актов РФ. Огромная база технических нормативов (более 150 тысяч документов) и полное собрание национальных стандартов, аутентичное официальной базе Госстандарта. GOSTRF.com - это более 1 Терабайта бесплатной технической информации для всех пользователей интернета. Все электронные копии представленных здесь документов могут распространяться без каких-либо ограничений. Поощряется распространение информации с этого сайта на любых других ресурсах. Каждый человек имеет право на неограниченный доступ к этим документам! Каждый человек имеет право на знание требований, изложенных в данных нормативно-правовых актах!

  


 

ГОСТ Р 40.003-2008

Система сертификации ГОСТ Р. Регистр систем качества. Порядок сертификации систем менеджмента качества на соответствие ГОСТ Р ИСО 9001-2008 (ИСО 9001:2008)

Обозначение:ГОСТ Р 40.003-2008
Текущий статус документа: действующий
Название документа рус.:Система сертификации ГОСТ Р. Регистр систем качества. Порядок сертификации систем менеджмента качества на соответствие ГОСТ Р ИСО 9001-2008 (ИСО 9001:2008)
Название документа англ.:GOST R certification system. Register of quality systems. Certification procedure of quality management systems to accordance with GOST R ISO 9001-2008 (ISO 9001:2008)
Дата актуализации текста:01.12.2013
Дата издания:03.03.2009
Дата введения:01.12.2009
Дата последнего изменения:16.10.2013
Дата окончания срока действия:01.02.2014
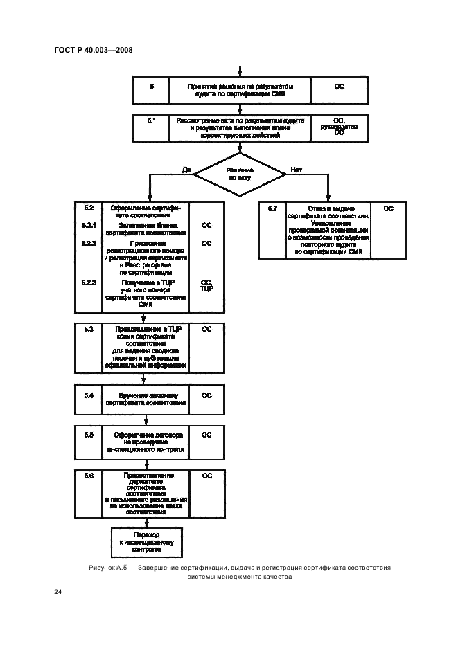
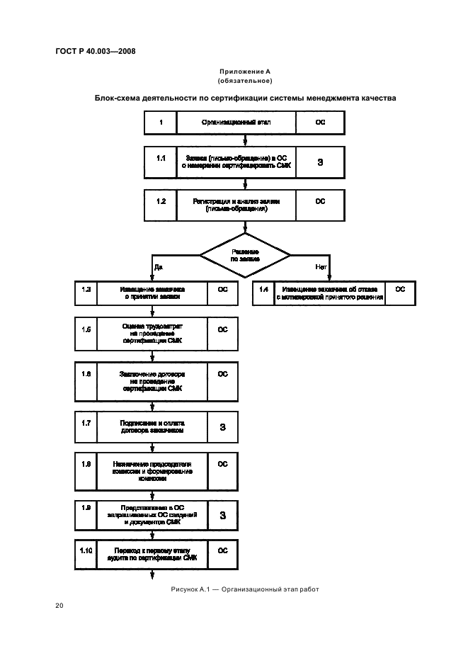
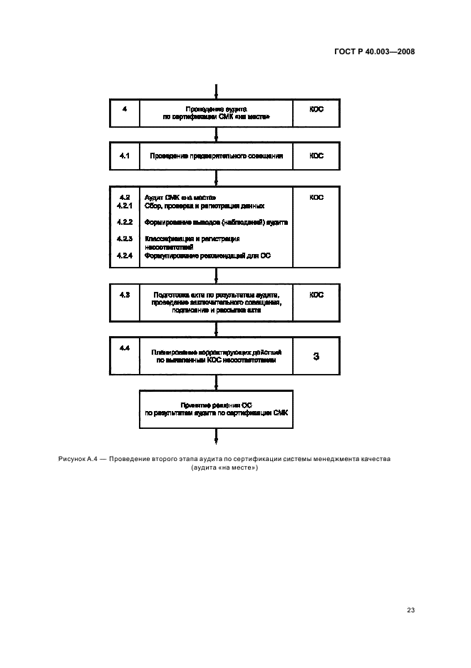
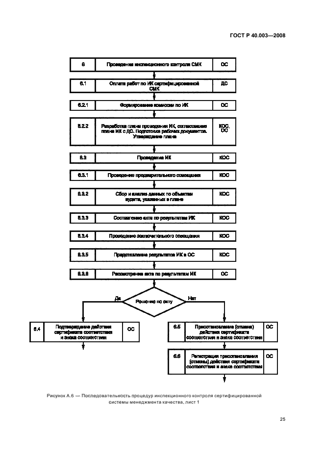
Область применения:Настоящий стандарт устанавливает порядок сертификации систем менеджмента качества на соответсвие требованиям ГОСТ Р ИСО 9001 в Системе сертификации ГОСТ Р.
Стандарт предназначен для применения органами по сертификации систем менеджмента качества Системы сертификации ГОСТ Р, организациями, претендующими на получение сертификата соответствия системы менеджмента качества, организациями - держателями таких сертификатов
ГОСТ Р 40.003-2008ГОСТ Р 40.003-2008ГОСТ Р 40.003-2008ГОСТ Р 40.003-2008ГОСТ Р 40.003-2008ГОСТ Р 40.003-2008ГОСТ Р 40.003-2008ГОСТ Р 40.003-2008ГОСТ Р 40.003-2008ГОСТ Р 40.003-2008ГОСТ Р 40.003-2008ГОСТ Р 40.003-2008ГОСТ Р 40.003-2008ГОСТ Р 40.003-2008ГОСТ Р 40.003-2008ГОСТ Р 40.003-2008ГОСТ Р 40.003-2008ГОСТ Р 40.003-2008ГОСТ Р 40.003-2008ГОСТ Р 40.003-2008ГОСТ Р 40.003-2008ГОСТ Р 40.003-2008ГОСТ Р 40.003-2008ГОСТ Р 40.003-2008ГОСТ Р 40.003-2008ГОСТ Р 40.003-2008ГОСТ Р 40.003-2008ГОСТ Р 40.003-2008ГОСТ Р 40.003-2008ГОСТ Р 40.003-2008ГОСТ Р 40.003-2008ГОСТ Р 40.003-2008ГОСТ Р 40.003-2008ГОСТ Р 40.003-2008ГОСТ Р 40.003-2008ГОСТ Р 40.003-2008ГОСТ Р 40.003-2008ГОСТ Р 40.003-2008ГОСТ Р 40.003-2008ГОСТ Р 40.003-2008ГОСТ Р 40.003-2008ГОСТ Р 40.003-2008ГОСТ Р 40.003-2008ГОСТ Р 40.003-2008ГОСТ Р 40.003-2008ГОСТ Р 40.003-2008ГОСТ Р 40.003-2008ГОСТ Р 40.003-2008ГОСТ Р 40.003-2008ГОСТ Р 40.003-2008ГОСТ Р 40.003-2008ГОСТ Р 40.003-2008ГОСТ Р 40.003-2008ГОСТ Р 40.003-2008ГОСТ Р 40.003-2008ГОСТ Р 40.003-2008ГОСТ Р 40.003-2008ГОСТ Р 40.003-2008ГОСТ Р 40.003-2008ГОСТ Р 40.003-2008ГОСТ Р 40.003-2008
 




ГОСТЫ, СТРОИТЕЛЬНЫЕ и ТЕХНИЧЕСКИЕ НОРМАТИВЫ.
Некоммерческая онлайн система, содержащая все Российские Госты, национальные Стандарты и нормативы.
В Системе содержится более 150000 файлов нормативно-технической документации, действующей на территории РФ.
Система предназначена для широкого круга инженерно-технических специалистов.

Рейтинг@Mail.ru Яндекс цитирования

Copyright © www.gostrf.com, 2008 - 2026