Крупнейшая бесплатная информационно-справочная система онлайн доступа к полному собранию технических нормативно-правовых актов РФ. Огромная база технических нормативов (более 150 тысяч документов) и полное собрание национальных стандартов, аутентичное официальной базе Госстандарта. GOSTRF.com - это более 1 Терабайта бесплатной технической информации для всех пользователей интернета. Все электронные копии представленных здесь документов могут распространяться без каких-либо ограничений. Поощряется распространение информации с этого сайта на любых других ресурсах. Каждый человек имеет право на неограниченный доступ к этим документам! Каждый человек имеет право на знание требований, изложенных в данных нормативно-правовых актах!

  


 

ГОСТ Р 53301-2009

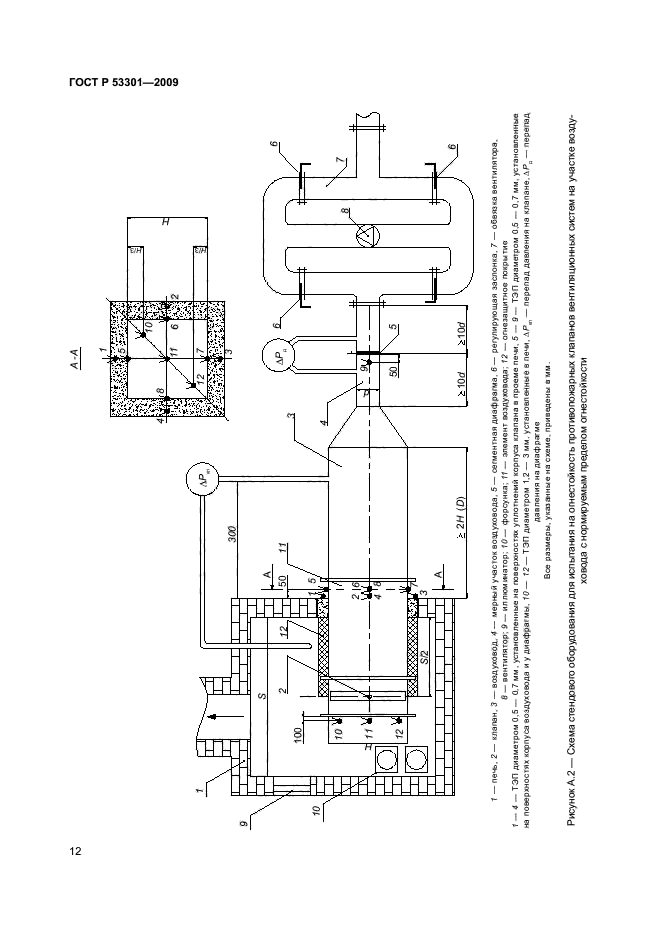
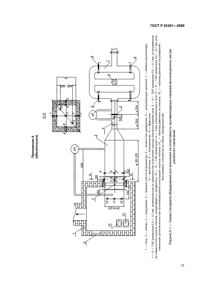
Клапаны противопожарные вентиляционных систем. Метод испытаний на огнестойкость

Обозначение:ГОСТ Р 53301-2009
Текущий статус документа: действующий
Название документа рус.:Клапаны противопожарные вентиляционных систем. Метод испытаний на огнестойкость
Название документа англ.:Fire dampers of ventilation systems. The test method for the fire resistance
Дата актуализации текста:01.12.2013
Дата издания:20.04.2009
Дата введения:30.04.2009
Дата последнего изменения:20.06.2013
Область применения:Настоящий стандарт устанавливает метод испытания на огнестойкость следующих разновидностей конструкций:
- противопожарных нормально открытых клапанов систем общеобменной, аварийной вентиляции, систем местных отсосов, систем кондиционирования воздуха;
- противопожарных нормально закрытых клапанов систем приточно-вытяжной противодымной вентиляции;
- дымовых клапанов систем вытяжной противодымной вентиляции;
- противопожарных клапанов двойного действия;
- дымовых люков (клапанов) систем вытяжной противодымной вентиляции с естественным побуждением тяги
ГОСТ Р 53301-2009ГОСТ Р 53301-2009ГОСТ Р 53301-2009ГОСТ Р 53301-2009ГОСТ Р 53301-2009ГОСТ Р 53301-2009ГОСТ Р 53301-2009ГОСТ Р 53301-2009ГОСТ Р 53301-2009ГОСТ Р 53301-2009ГОСТ Р 53301-2009ГОСТ Р 53301-2009ГОСТ Р 53301-2009ГОСТ Р 53301-2009ГОСТ Р 53301-2009ГОСТ Р 53301-2009ГОСТ Р 53301-2009ГОСТ Р 53301-2009ГОСТ Р 53301-2009
 




ГОСТЫ, СТРОИТЕЛЬНЫЕ и ТЕХНИЧЕСКИЕ НОРМАТИВЫ.
Некоммерческая онлайн система, содержащая все Российские Госты, национальные Стандарты и нормативы.
В Системе содержится более 150000 файлов нормативно-технической документации, действующей на территории РФ.
Система предназначена для широкого круга инженерно-технических специалистов.

Рейтинг@Mail.ru Яндекс цитирования

Copyright © www.gostrf.com, 2008 - 2026