Крупнейшая бесплатная информационно-справочная система онлайн доступа к полному собранию технических нормативно-правовых актов РФ. Огромная база технических нормативов (более 150 тысяч документов) и полное собрание национальных стандартов, аутентичное официальной базе Госстандарта. GOSTRF.com - это более 1 Терабайта бесплатной технической информации для всех пользователей интернета. Все электронные копии представленных здесь документов могут распространяться без каких-либо ограничений. Поощряется распространение информации с этого сайта на любых других ресурсах. Каждый человек имеет право на неограниченный доступ к этим документам! Каждый человек имеет право на знание требований, изложенных в данных нормативно-правовых актах!

  


 

ГОСТ Р 53365-2009

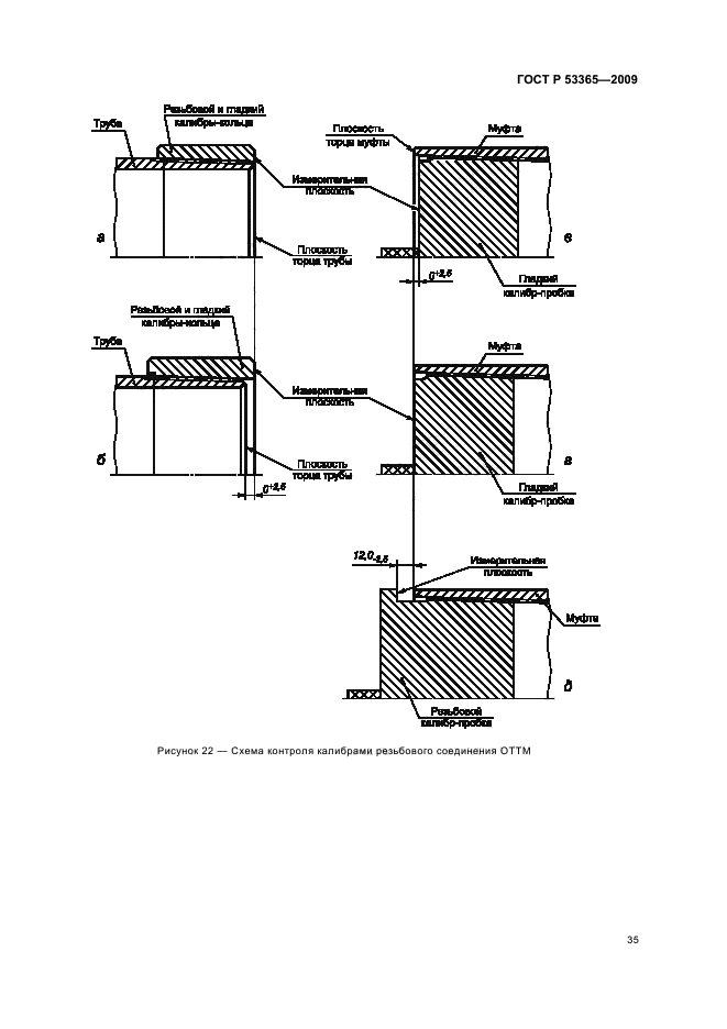
Трубы обсадные и насосно-компрессорные и муфты к ним. Основные параметры и контроль резьбовых соединений. Общие технические требования

Обозначение:ГОСТ Р 53365-2009
Текущий статус документа: действующий
Название документа рус.:Трубы обсадные и насосно-компрессорные и муфты к ним. Основные параметры и контроль резьбовых соединений. Общие технические требования
Название документа англ.:Pipes for use as casing or tubing and couplings for them. Basic parameters and inspection of thread connections. General technical requirements
Дата актуализации текста:01.12.2013
Дата издания:22.12.2009
Дата введения:01.03.2010
Дата последнего изменения:16.10.2013
Область применения:Настоящий стандарт распространяется на резьбовые соединения обсадных и насосно-компрессорных труб и муфт к ним, применяемых в нефтяной и газовой промышленности и устанавливает требования к основным параметрам и контролю резьбы и резьбовых соединений
Список изменений:№1 от 01.01.2014 (рег. 05.07.2013) «Срок действия продлен»
Приложение №1:Изменение №1 к ГОСТ Р 53365-2009
ГОСТ Р 53365-2009ГОСТ Р 53365-2009ГОСТ Р 53365-2009ГОСТ Р 53365-2009ГОСТ Р 53365-2009ГОСТ Р 53365-2009ГОСТ Р 53365-2009ГОСТ Р 53365-2009ГОСТ Р 53365-2009ГОСТ Р 53365-2009ГОСТ Р 53365-2009ГОСТ Р 53365-2009ГОСТ Р 53365-2009ГОСТ Р 53365-2009ГОСТ Р 53365-2009ГОСТ Р 53365-2009ГОСТ Р 53365-2009ГОСТ Р 53365-2009ГОСТ Р 53365-2009ГОСТ Р 53365-2009ГОСТ Р 53365-2009ГОСТ Р 53365-2009ГОСТ Р 53365-2009ГОСТ Р 53365-2009ГОСТ Р 53365-2009ГОСТ Р 53365-2009ГОСТ Р 53365-2009ГОСТ Р 53365-2009ГОСТ Р 53365-2009ГОСТ Р 53365-2009ГОСТ Р 53365-2009ГОСТ Р 53365-2009ГОСТ Р 53365-2009ГОСТ Р 53365-2009ГОСТ Р 53365-2009ГОСТ Р 53365-2009ГОСТ Р 53365-2009ГОСТ Р 53365-2009ГОСТ Р 53365-2009ГОСТ Р 53365-2009ГОСТ Р 53365-2009ГОСТ Р 53365-2009ГОСТ Р 53365-2009ГОСТ Р 53365-2009

Изменение №1 к ГОСТ Р 53365-2009

Обозначение:Изменение №1 к ГОСТ Р 53365-2009
Дата введения:01.01.2014


Изменение №1 к ГОСТ Р 53365-2009Изменение №1 к ГОСТ Р 53365-2009Изменение №1 к ГОСТ Р 53365-2009Изменение №1 к ГОСТ Р 53365-2009Изменение №1 к ГОСТ Р 53365-2009Изменение №1 к ГОСТ Р 53365-2009Изменение №1 к ГОСТ Р 53365-2009Изменение №1 к ГОСТ Р 53365-2009Изменение №1 к ГОСТ Р 53365-2009Изменение №1 к ГОСТ Р 53365-2009Изменение №1 к ГОСТ Р 53365-2009Изменение №1 к ГОСТ Р 53365-2009Изменение №1 к ГОСТ Р 53365-2009Изменение №1 к ГОСТ Р 53365-2009Изменение №1 к ГОСТ Р 53365-2009Изменение №1 к ГОСТ Р 53365-2009Изменение №1 к ГОСТ Р 53365-2009Изменение №1 к ГОСТ Р 53365-2009
 




ГОСТЫ, СТРОИТЕЛЬНЫЕ и ТЕХНИЧЕСКИЕ НОРМАТИВЫ.
Некоммерческая онлайн система, содержащая все Российские Госты, национальные Стандарты и нормативы.
В Системе содержится более 150000 файлов нормативно-технической документации, действующей на территории РФ.
Система предназначена для широкого круга инженерно-технических специалистов.

Рейтинг@Mail.ru Яндекс цитирования

Copyright © www.gostrf.com, 2008 - 2026