Крупнейшая бесплатная информационно-справочная система онлайн доступа к полному собранию технических нормативно-правовых актов РФ. Огромная база технических нормативов (более 150 тысяч документов) и полное собрание национальных стандартов, аутентичное официальной базе Госстандарта. GOSTRF.com - это более 1 Терабайта бесплатной технической информации для всех пользователей интернета. Все электронные копии представленных здесь документов могут распространяться без каких-либо ограничений. Поощряется распространение информации с этого сайта на любых других ресурсах. Каждый человек имеет право на неограниченный доступ к этим документам! Каждый человек имеет право на знание требований, изложенных в данных нормативно-правовых актах!

  


 

ГОСТ Р ИСО 8586-1-2008

Органолептический анализ. Общее руководство по отбору, обучению и контролю испытателей. Часть 1. Отобранные испытатели

Обозначение:ГОСТ Р ИСО 8586-1-2008
Текущий статус документа: отменён
Название документа рус.:Органолептический анализ. Общее руководство по отбору, обучению и контролю испытателей. Часть 1. Отобранные испытатели
Название документа англ.:Sensory analysis. General guidance for the selection, training and monitoring of assessors. Part 1. Selected assessors
Дата актуализации текста:01.12.2013
Дата издания:23.09.2009
Дата введения:01.01.2010
Дата последнего изменения:22.05.2013
Дата окончания срока действия:01.01.2013
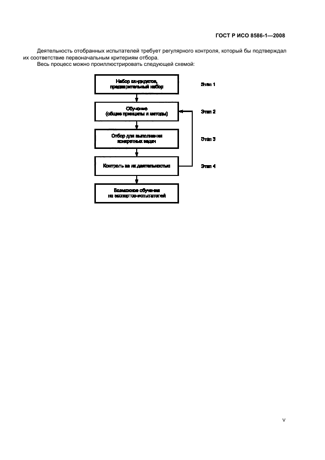
Область применения:Настоящий стандарт предназначен для примененния во всех областях промышленности, в которых используют органолептическую оценку продуктов с помощью органов чувств, устанавливает критерии отбора испытателей и содержит описание процедуры обучения отобранных испытателей, а также контроля их деятельностью. Настоящий стандарт дополняет информацию, изложенную в ИСО 6658
Список изменений:№0 от 01.01.2013 (рег. 13.12.2011) «Текстовое изменение; Изменено заглавие»
ГОСТ Р ИСО 8586-1-2008ГОСТ Р ИСО 8586-1-2008ГОСТ Р ИСО 8586-1-2008ГОСТ Р ИСО 8586-1-2008ГОСТ Р ИСО 8586-1-2008ГОСТ Р ИСО 8586-1-2008ГОСТ Р ИСО 8586-1-2008ГОСТ Р ИСО 8586-1-2008ГОСТ Р ИСО 8586-1-2008ГОСТ Р ИСО 8586-1-2008ГОСТ Р ИСО 8586-1-2008ГОСТ Р ИСО 8586-1-2008ГОСТ Р ИСО 8586-1-2008ГОСТ Р ИСО 8586-1-2008ГОСТ Р ИСО 8586-1-2008ГОСТ Р ИСО 8586-1-2008ГОСТ Р ИСО 8586-1-2008ГОСТ Р ИСО 8586-1-2008ГОСТ Р ИСО 8586-1-2008ГОСТ Р ИСО 8586-1-2008ГОСТ Р ИСО 8586-1-2008ГОСТ Р ИСО 8586-1-2008ГОСТ Р ИСО 8586-1-2008
 




ГОСТЫ, СТРОИТЕЛЬНЫЕ и ТЕХНИЧЕСКИЕ НОРМАТИВЫ.
Некоммерческая онлайн система, содержащая все Российские Госты, национальные Стандарты и нормативы.
В Системе содержится более 150000 файлов нормативно-технической документации, действующей на территории РФ.
Система предназначена для широкого круга инженерно-технических специалистов.

Рейтинг@Mail.ru Яндекс цитирования

Copyright © www.gostrf.com, 2008 - 2026