Крупнейшая бесплатная информационно-справочная система онлайн доступа к полному собранию технических нормативно-правовых актов РФ. Огромная база технических нормативов (более 150 тысяч документов) и полное собрание национальных стандартов, аутентичное официальной базе Госстандарта. GOSTRF.com - это более 1 Терабайта бесплатной технической информации для всех пользователей интернета. Все электронные копии представленных здесь документов могут распространяться без каких-либо ограничений. Поощряется распространение информации с этого сайта на любых других ресурсах. Каждый человек имеет право на неограниченный доступ к этим документам! Каждый человек имеет право на знание требований, изложенных в данных нормативно-правовых актах!

  


 

ГОСТ Р ИСО 4759-1-2009

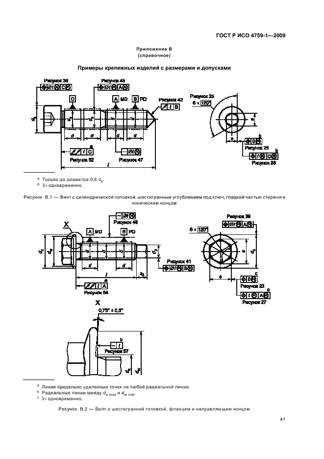
Изделия крепежные. Допуски. Часть 1. Болты, винты, шпильки и гайки. Классы точности А, В и С

Обозначение:ГОСТ Р ИСО 4759-1-2009
Текущий статус документа: действующий
Название документа рус.:Изделия крепежные. Допуски. Часть 1. Болты, винты, шпильки и гайки. Классы точности А, В и С
Название документа англ.:Tolerances for fasteners. Part 1: bolts, screws, studs and nuts. Product grades A, B and C
Дата актуализации текста:01.12.2013
Дата издания:23.08.2010
Дата введения:01.01.2011
Дата последнего изменения:22.05.2013
Область применения:Настоящий стандарт устанавливает допуски для болтов, винтов, шпилек и гаек с метрической резьбой ИСО классов точности А, В и С , а также для самонарезающих винтов класса точности А.
Примечание - Класс точности изделия определяется величиной допусков, при этом класс А является наиболее точным, а класс С – наименее точным.
Допуски, за исключением допусков на резьбу, выбираются из допусков и посадок по системе ИСО, установленной в ИСО 286-1 и ИСО 286-2. Допуски на метрическую резьбу выбираются из серии полей допусков, установленных в ИСО 965-3. Допуски на резьбу самонарезающих винтов приведены в ИСО 1478.
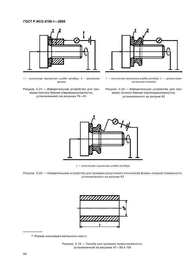
Допуски формы и расположения поверхностей устанавливаются и указываются в соответствии с ИСО 1101, ИСО 8015 и ИСО 2692.
Допуски, установленные в настоящем стандарте, применяются к крепежным изделиям до нанесения на них покрытия, если не оговорено иное. См. также ИСО 4042.
Отступления от допусков, установленных в настоящем стандарте, допускается в стандартах на изделия, только в обоснованных случаях. Если имеет место расхождение между требованиями к допускам настоящего стандарта и стандарта на изделие, предпочтение отдается стандарту на изделие.
Рекомендуется использовать эти допуски также для нестандартных крепежных изделий.
Размеры и допуски, установленные в настоящем стандарте, указаны в миллиметрах
ГОСТ Р ИСО 4759-1-2009ГОСТ Р ИСО 4759-1-2009ГОСТ Р ИСО 4759-1-2009ГОСТ Р ИСО 4759-1-2009ГОСТ Р ИСО 4759-1-2009ГОСТ Р ИСО 4759-1-2009ГОСТ Р ИСО 4759-1-2009ГОСТ Р ИСО 4759-1-2009ГОСТ Р ИСО 4759-1-2009ГОСТ Р ИСО 4759-1-2009ГОСТ Р ИСО 4759-1-2009ГОСТ Р ИСО 4759-1-2009ГОСТ Р ИСО 4759-1-2009ГОСТ Р ИСО 4759-1-2009ГОСТ Р ИСО 4759-1-2009ГОСТ Р ИСО 4759-1-2009ГОСТ Р ИСО 4759-1-2009ГОСТ Р ИСО 4759-1-2009ГОСТ Р ИСО 4759-1-2009ГОСТ Р ИСО 4759-1-2009ГОСТ Р ИСО 4759-1-2009ГОСТ Р ИСО 4759-1-2009ГОСТ Р ИСО 4759-1-2009ГОСТ Р ИСО 4759-1-2009ГОСТ Р ИСО 4759-1-2009ГОСТ Р ИСО 4759-1-2009ГОСТ Р ИСО 4759-1-2009ГОСТ Р ИСО 4759-1-2009ГОСТ Р ИСО 4759-1-2009ГОСТ Р ИСО 4759-1-2009ГОСТ Р ИСО 4759-1-2009ГОСТ Р ИСО 4759-1-2009ГОСТ Р ИСО 4759-1-2009ГОСТ Р ИСО 4759-1-2009ГОСТ Р ИСО 4759-1-2009ГОСТ Р ИСО 4759-1-2009ГОСТ Р ИСО 4759-1-2009ГОСТ Р ИСО 4759-1-2009ГОСТ Р ИСО 4759-1-2009ГОСТ Р ИСО 4759-1-2009ГОСТ Р ИСО 4759-1-2009ГОСТ Р ИСО 4759-1-2009ГОСТ Р ИСО 4759-1-2009ГОСТ Р ИСО 4759-1-2009ГОСТ Р ИСО 4759-1-2009ГОСТ Р ИСО 4759-1-2009ГОСТ Р ИСО 4759-1-2009ГОСТ Р ИСО 4759-1-2009ГОСТ Р ИСО 4759-1-2009ГОСТ Р ИСО 4759-1-2009ГОСТ Р ИСО 4759-1-2009ГОСТ Р ИСО 4759-1-2009ГОСТ Р ИСО 4759-1-2009ГОСТ Р ИСО 4759-1-2009ГОСТ Р ИСО 4759-1-2009ГОСТ Р ИСО 4759-1-2009ГОСТ Р ИСО 4759-1-2009ГОСТ Р ИСО 4759-1-2009
 




ГОСТЫ, СТРОИТЕЛЬНЫЕ и ТЕХНИЧЕСКИЕ НОРМАТИВЫ.
Некоммерческая онлайн система, содержащая все Российские Госты, национальные Стандарты и нормативы.
В Системе содержится более 150000 файлов нормативно-технической документации, действующей на территории РФ.
Система предназначена для широкого круга инженерно-технических специалистов.

Рейтинг@Mail.ru Яндекс цитирования

Copyright © www.gostrf.com, 2008 - 2026