Крупнейшая бесплатная информационно-справочная система онлайн доступа к полному собранию технических нормативно-правовых актов РФ. Огромная база технических нормативов (более 150 тысяч документов) и полное собрание национальных стандартов, аутентичное официальной базе Госстандарта. GOSTRF.com - это более 1 Терабайта бесплатной технической информации для всех пользователей интернета. Все электронные копии представленных здесь документов могут распространяться без каких-либо ограничений. Поощряется распространение информации с этого сайта на любых других ресурсах. Каждый человек имеет право на неограниченный доступ к этим документам! Каждый человек имеет право на знание требований, изложенных в данных нормативно-правовых актах!

  


 

ГОСТ Р ИСО/ТС 10303-1156-2009

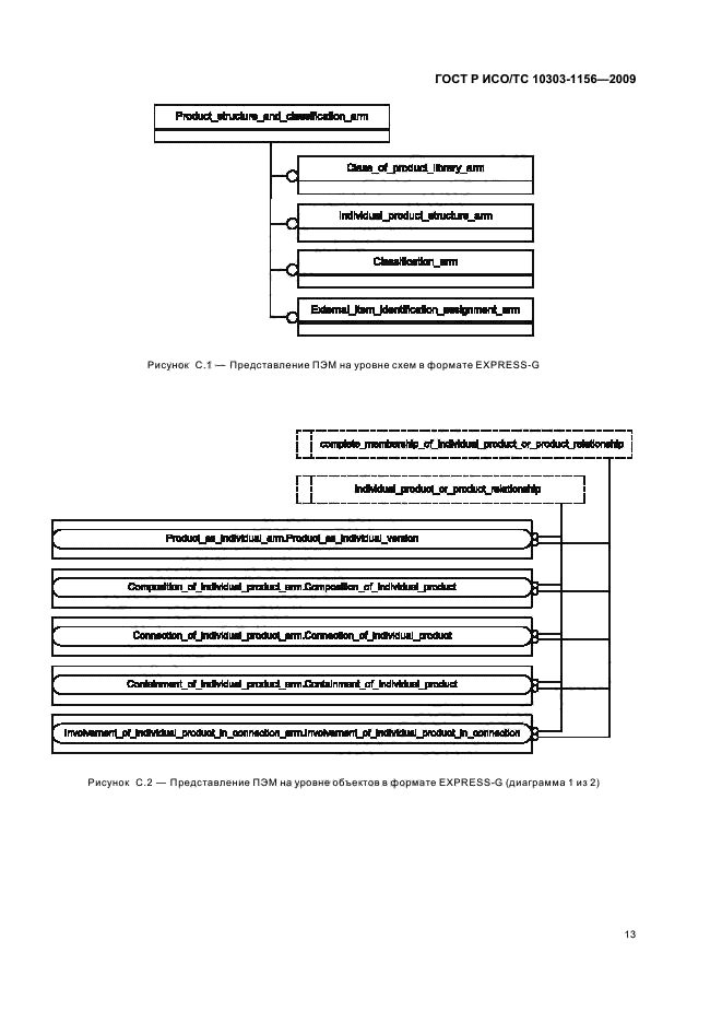
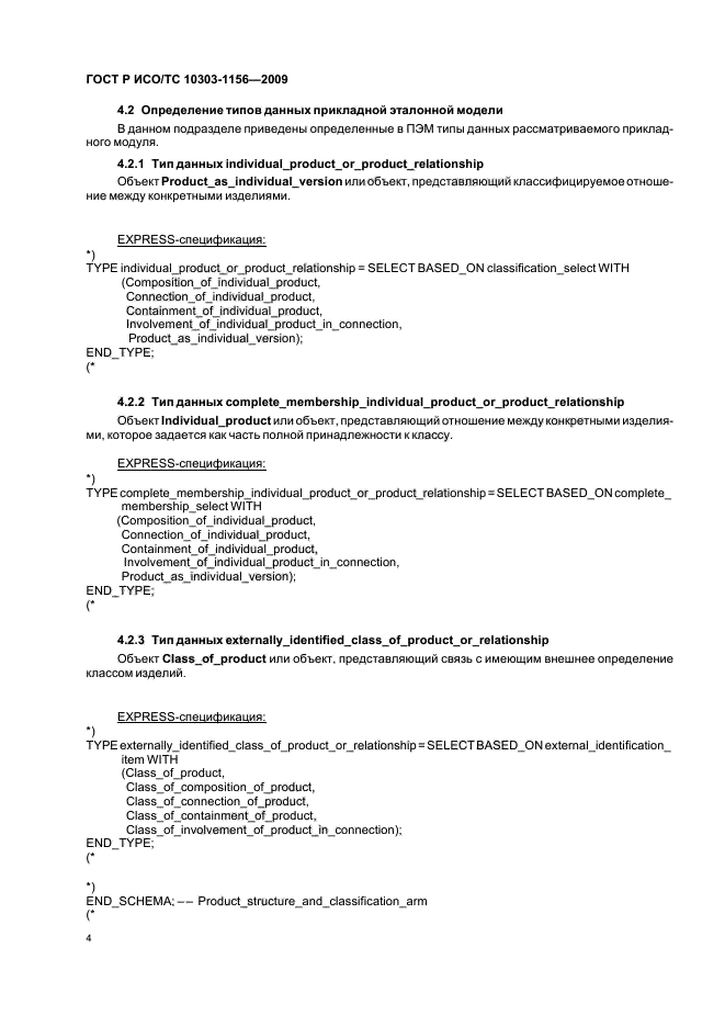
Системы автоматизации производства и их интеграция. Представление данных об изделии и обмен этими данными. Часть 1156. Прикладной модуль. Структура и классификация изделия

Обозначение:ГОСТ Р ИСО/ТС 10303-1156-2009
Текущий статус документа: действующий
Название документа рус.:Системы автоматизации производства и их интеграция. Представление данных об изделии и обмен этими данными. Часть 1156. Прикладной модуль. Структура и классификация изделия
Название документа англ.:Industrial automation systems and integration. Product data representation and exchange. Part 1156. Application module. Product structure and classification
Дата актуализации текста:01.12.2013
Дата издания:01.10.2010
Дата введения:01.07.2010
Дата последнего изменения:22.05.2013
Область применения:Настоящий стандарт определяет прикладной модуль «Структура и классификация изделия». В область применения настоящего стандарта входит:
- существование конкретного изделия;
- отношение часть-целое между двумя конкретными изделиями;
- отношение соединения между двумя конкретными изделиями;
- отношение нахождения внутри между двумя конкретными изделиями;
- отношение использования конкретного изделия в отношении соединения между двумя конкретными изделиями;
- существование класса изделия;
- соответствие между одним классом изделий и другим, раскрывающее природу отношения часть-целое между двумя конкретными изделиями;
- соответствие между одним классом изделий и другим, раскрывающее природу отношения соединения между двумя конкретными изделиями;
- соответствие между одним классом изделий и другим, раскрывающее природу отношения нахождения внутри между двумя конкретными изделиями;
- соответствие между классом изделий и классом соединений изделий, раскрывающее природу отношения использования конкретного изделия в соединении;
- отношения теории множеств, такие как подмножество, объединение, пересечение между классами изделий и между отображениями;
- классификация конкретного изделия как члена класса изделий;
- классификация отношения между отдельными изделиями как члена соответствия;
- спецификация полной принадлежности к классу изделий или к соответствию между классами изделий;
- ссылка на внешне определенный класс изделий или класс отношений между изделиями.
В область применения настоящего стандарта не входит:
- структура и классификация документации;
- структура и классификация деятельности;
- присвоение свойства
ГОСТ Р ИСО/ТС 10303-1156-2009ГОСТ Р ИСО/ТС 10303-1156-2009ГОСТ Р ИСО/ТС 10303-1156-2009ГОСТ Р ИСО/ТС 10303-1156-2009ГОСТ Р ИСО/ТС 10303-1156-2009ГОСТ Р ИСО/ТС 10303-1156-2009ГОСТ Р ИСО/ТС 10303-1156-2009ГОСТ Р ИСО/ТС 10303-1156-2009ГОСТ Р ИСО/ТС 10303-1156-2009ГОСТ Р ИСО/ТС 10303-1156-2009ГОСТ Р ИСО/ТС 10303-1156-2009ГОСТ Р ИСО/ТС 10303-1156-2009ГОСТ Р ИСО/ТС 10303-1156-2009ГОСТ Р ИСО/ТС 10303-1156-2009ГОСТ Р ИСО/ТС 10303-1156-2009ГОСТ Р ИСО/ТС 10303-1156-2009ГОСТ Р ИСО/ТС 10303-1156-2009ГОСТ Р ИСО/ТС 10303-1156-2009ГОСТ Р ИСО/ТС 10303-1156-2009ГОСТ Р ИСО/ТС 10303-1156-2009ГОСТ Р ИСО/ТС 10303-1156-2009ГОСТ Р ИСО/ТС 10303-1156-2009ГОСТ Р ИСО/ТС 10303-1156-2009ГОСТ Р ИСО/ТС 10303-1156-2009
 




ГОСТЫ, СТРОИТЕЛЬНЫЕ и ТЕХНИЧЕСКИЕ НОРМАТИВЫ.
Некоммерческая онлайн система, содержащая все Российские Госты, национальные Стандарты и нормативы.
В Системе содержится более 150000 файлов нормативно-технической документации, действующей на территории РФ.
Система предназначена для широкого круга инженерно-технических специалистов.

Рейтинг@Mail.ru Яндекс цитирования

Copyright © www.gostrf.com, 2008 - 2026