Крупнейшая бесплатная информационно-справочная система онлайн доступа к полному собранию технических нормативно-правовых актов РФ. Огромная база технических нормативов (более 150 тысяч документов) и полное собрание национальных стандартов, аутентичное официальной базе Госстандарта. GOSTRF.com - это более 1 Терабайта бесплатной технической информации для всех пользователей интернета. Все электронные копии представленных здесь документов могут распространяться без каких-либо ограничений. Поощряется распространение информации с этого сайта на любых других ресурсах. Каждый человек имеет право на неограниченный доступ к этим документам! Каждый человек имеет право на знание требований, изложенных в данных нормативно-правовых актах!

  


 

ГОСТ Р ИСО 10303-507-2009

Системы автоматизации производства и их интеграция. Представление данных об изделии и обмен этими данными. Часть 507. Прикладные интерпретированные конструкции. Геометрически ограниченная поверхность

Обозначение:ГОСТ Р ИСО 10303-507-2009
Текущий статус документа: действующий
Название документа рус.:Системы автоматизации производства и их интеграция. Представление данных об изделии и обмен этими данными. Часть 507. Прикладные интерпретированные конструкции. Геометрически ограниченная поверхность
Название документа англ.:Industrial automation systems and integration. Product data representation and exchange. Part 507. Application interpreted construct. Geometrically bounded surface
Дата актуализации текста:01.12.2013
Дата издания:28.09.2010
Дата введения:01.07.2010
Дата последнего изменения:22.05.2013
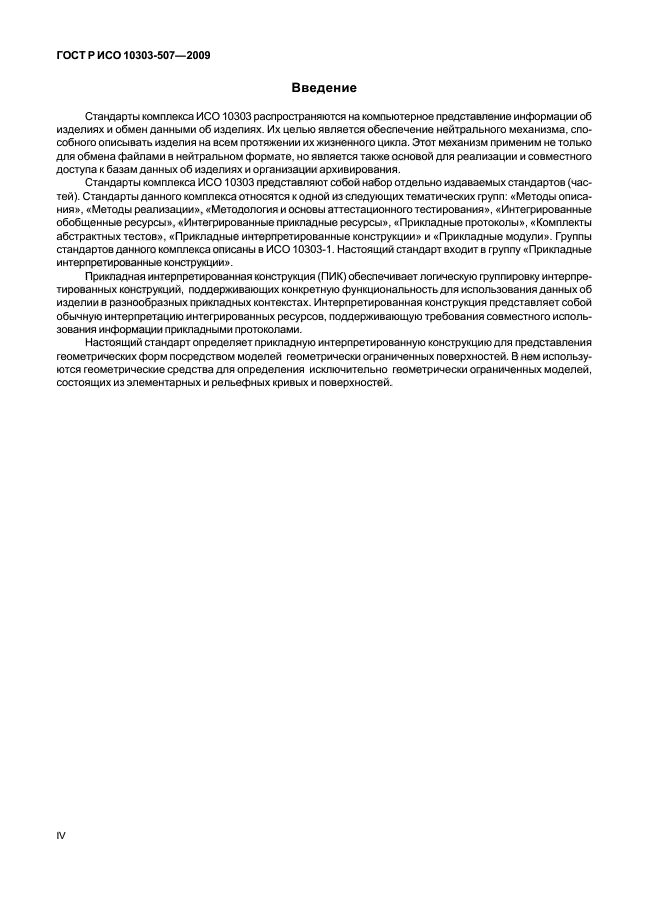
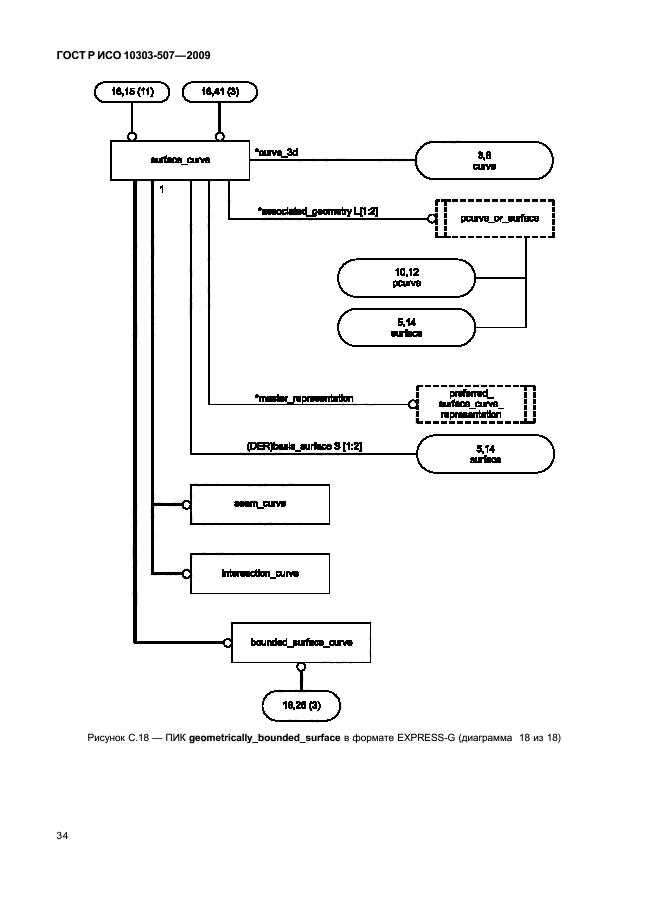
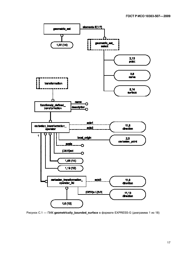
Область применения:Настоящий стандарт определяет интерпретацию интегрированных ресурсов, обеспечивающую соответствие требованиям к представлению геометрических форм посредством моделей геометрически ограниченных поверхностей.
Требования настоящего стандарта распространяются на:
- трехмерные точки;
- точки, определенные в параметрическом пространстве кривых или поверхностей;
- трехмерные кривые;
- кривые, определенные в параметрическом пространстве поверхностей;
- элементарные кривые: линию, окружность, эллипс, параболу, гиперболу;
- кривые пересечений;
- полилинии, состоящие, по крайней мере, из трех точек;
- поверхности;
- элементарные поверхности: плоскость, цилиндр, конус, тор, сферу;
- криволинейные поверхности, созданные путем вращения или линейной экструзии кривой;
- рельефные кривые и поверхности;
- обрезание кривых и поверхностей;
- композицию кривых и поверхностей;
- копирование кривых, поверхностей и моделей поверхностей;
- трехмерные смещения кривых и поверхностей.
Требования настоящего стандарта не распространяются на:
- неограниченную геометрию;
- геометрию самопересечений;
- геометрию в двухмерном пространстве декартовых координат;
- копирование точек;
- топологические объекты
ГОСТ Р ИСО 10303-507-2009ГОСТ Р ИСО 10303-507-2009ГОСТ Р ИСО 10303-507-2009ГОСТ Р ИСО 10303-507-2009ГОСТ Р ИСО 10303-507-2009ГОСТ Р ИСО 10303-507-2009ГОСТ Р ИСО 10303-507-2009ГОСТ Р ИСО 10303-507-2009ГОСТ Р ИСО 10303-507-2009ГОСТ Р ИСО 10303-507-2009ГОСТ Р ИСО 10303-507-2009ГОСТ Р ИСО 10303-507-2009ГОСТ Р ИСО 10303-507-2009ГОСТ Р ИСО 10303-507-2009ГОСТ Р ИСО 10303-507-2009ГОСТ Р ИСО 10303-507-2009ГОСТ Р ИСО 10303-507-2009ГОСТ Р ИСО 10303-507-2009ГОСТ Р ИСО 10303-507-2009ГОСТ Р ИСО 10303-507-2009ГОСТ Р ИСО 10303-507-2009ГОСТ Р ИСО 10303-507-2009ГОСТ Р ИСО 10303-507-2009ГОСТ Р ИСО 10303-507-2009ГОСТ Р ИСО 10303-507-2009ГОСТ Р ИСО 10303-507-2009ГОСТ Р ИСО 10303-507-2009ГОСТ Р ИСО 10303-507-2009ГОСТ Р ИСО 10303-507-2009ГОСТ Р ИСО 10303-507-2009ГОСТ Р ИСО 10303-507-2009ГОСТ Р ИСО 10303-507-2009ГОСТ Р ИСО 10303-507-2009ГОСТ Р ИСО 10303-507-2009ГОСТ Р ИСО 10303-507-2009ГОСТ Р ИСО 10303-507-2009ГОСТ Р ИСО 10303-507-2009ГОСТ Р ИСО 10303-507-2009ГОСТ Р ИСО 10303-507-2009ГОСТ Р ИСО 10303-507-2009ГОСТ Р ИСО 10303-507-2009ГОСТ Р ИСО 10303-507-2009
 




ГОСТЫ, СТРОИТЕЛЬНЫЕ и ТЕХНИЧЕСКИЕ НОРМАТИВЫ.
Некоммерческая онлайн система, содержащая все Российские Госты, национальные Стандарты и нормативы.
В Системе содержится более 150000 файлов нормативно-технической документации, действующей на территории РФ.
Система предназначена для широкого круга инженерно-технических специалистов.

Рейтинг@Mail.ru Яндекс цитирования

Copyright © www.gostrf.com, 2008 - 2026