Крупнейшая бесплатная информационно-справочная система онлайн доступа к полному собранию технических нормативно-правовых актов РФ. Огромная база технических нормативов (более 150 тысяч документов) и полное собрание национальных стандартов, аутентичное официальной базе Госстандарта. GOSTRF.com - это более 1 Терабайта бесплатной технической информации для всех пользователей интернета. Все электронные копии представленных здесь документов могут распространяться без каких-либо ограничений. Поощряется распространение информации с этого сайта на любых других ресурсах. Каждый человек имеет право на неограниченный доступ к этим документам! Каждый человек имеет право на знание требований, изложенных в данных нормативно-правовых актах!

  


 

ГОСТ Р 53798-2010

Стандартное руководство по лабораторным информационным менеджмент-системам (ЛИМС)

Обозначение:ГОСТ Р 53798-2010
Текущий статус документа: действующий
Название документа рус.:Стандартное руководство по лабораторным информационным менеджмент-системам (ЛИМС)
Название документа англ.:Standard guide for laboratory information management systems (LIMS)
Дата актуализации текста:01.12.2013
Дата издания:11.11.2010
Дата введения:30.09.2010
Дата последнего изменения:22.05.2013
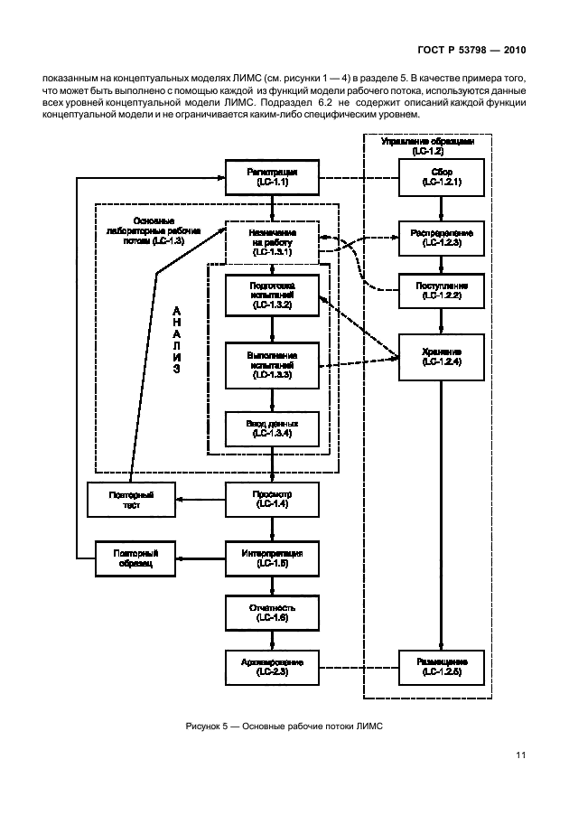
Область применения:В настоящем стандарте рассматриваются проблемы, возникающие, как правило, на всех стадиях жизненного цикла лабораторных информационных менеджмент-систем (ЛИМС) от начала их эксплуатации и до изъятия из эксплуатации. Подразделы настоящего стандарта также содержат детальное описание возможностей ЛИМС при применении в конкретных областях промышленности и хозяйственной деятельности
ГОСТ Р 53798-2010ГОСТ Р 53798-2010ГОСТ Р 53798-2010ГОСТ Р 53798-2010ГОСТ Р 53798-2010ГОСТ Р 53798-2010ГОСТ Р 53798-2010ГОСТ Р 53798-2010ГОСТ Р 53798-2010ГОСТ Р 53798-2010ГОСТ Р 53798-2010ГОСТ Р 53798-2010ГОСТ Р 53798-2010ГОСТ Р 53798-2010ГОСТ Р 53798-2010ГОСТ Р 53798-2010ГОСТ Р 53798-2010ГОСТ Р 53798-2010ГОСТ Р 53798-2010ГОСТ Р 53798-2010ГОСТ Р 53798-2010ГОСТ Р 53798-2010ГОСТ Р 53798-2010ГОСТ Р 53798-2010ГОСТ Р 53798-2010ГОСТ Р 53798-2010ГОСТ Р 53798-2010ГОСТ Р 53798-2010ГОСТ Р 53798-2010ГОСТ Р 53798-2010ГОСТ Р 53798-2010ГОСТ Р 53798-2010ГОСТ Р 53798-2010ГОСТ Р 53798-2010ГОСТ Р 53798-2010ГОСТ Р 53798-2010ГОСТ Р 53798-2010ГОСТ Р 53798-2010ГОСТ Р 53798-2010ГОСТ Р 53798-2010ГОСТ Р 53798-2010ГОСТ Р 53798-2010ГОСТ Р 53798-2010ГОСТ Р 53798-2010ГОСТ Р 53798-2010ГОСТ Р 53798-2010ГОСТ Р 53798-2010ГОСТ Р 53798-2010ГОСТ Р 53798-2010ГОСТ Р 53798-2010ГОСТ Р 53798-2010ГОСТ Р 53798-2010ГОСТ Р 53798-2010ГОСТ Р 53798-2010ГОСТ Р 53798-2010ГОСТ Р 53798-2010ГОСТ Р 53798-2010ГОСТ Р 53798-2010ГОСТ Р 53798-2010ГОСТ Р 53798-2010ГОСТ Р 53798-2010ГОСТ Р 53798-2010ГОСТ Р 53798-2010ГОСТ Р 53798-2010ГОСТ Р 53798-2010ГОСТ Р 53798-2010ГОСТ Р 53798-2010ГОСТ Р 53798-2010ГОСТ Р 53798-2010ГОСТ Р 53798-2010ГОСТ Р 53798-2010ГОСТ Р 53798-2010ГОСТ Р 53798-2010ГОСТ Р 53798-2010ГОСТ Р 53798-2010ГОСТ Р 53798-2010ГОСТ Р 53798-2010ГОСТ Р 53798-2010
 




ГОСТЫ, СТРОИТЕЛЬНЫЕ и ТЕХНИЧЕСКИЕ НОРМАТИВЫ.
Некоммерческая онлайн система, содержащая все Российские Госты, национальные Стандарты и нормативы.
В Системе содержится более 150000 файлов нормативно-технической документации, действующей на территории РФ.
Система предназначена для широкого круга инженерно-технических специалистов.

Рейтинг@Mail.ru Яндекс цитирования

Copyright © www.gostrf.com, 2008 - 2026