Крупнейшая бесплатная информационно-справочная система онлайн доступа к полному собранию технических нормативно-правовых актов РФ. Огромная база технических нормативов (более 150 тысяч документов) и полное собрание национальных стандартов, аутентичное официальной базе Госстандарта. GOSTRF.com - это более 1 Терабайта бесплатной технической информации для всех пользователей интернета. Все электронные копии представленных здесь документов могут распространяться без каких-либо ограничений. Поощряется распространение информации с этого сайта на любых других ресурсах. Каждый человек имеет право на неограниченный доступ к этим документам! Каждый человек имеет право на знание требований, изложенных в данных нормативно-правовых актах!

  


 

ГОСТ Р 53617-2009

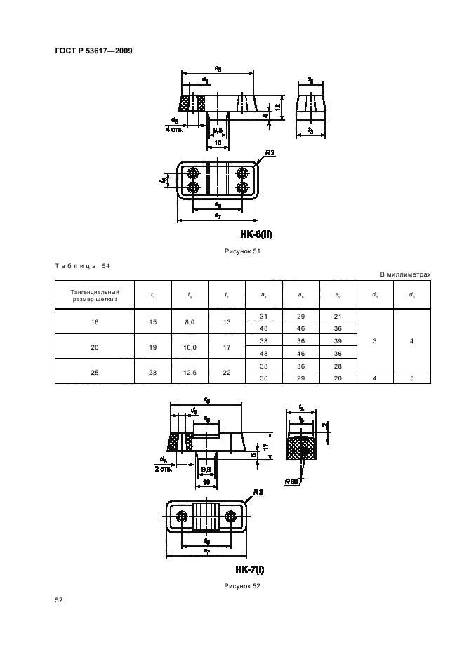
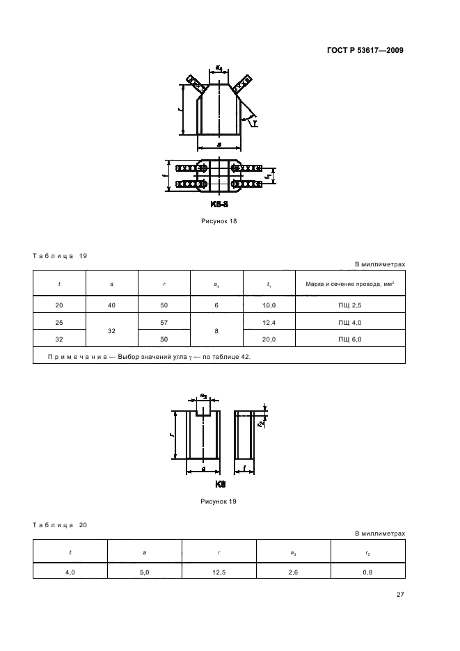
Щетки электрических машин. Конструкция. Типы и размеры

Обозначение:ГОСТ Р 53617-2009
Текущий статус документа: действующий
Название документа рус.:Щетки электрических машин. Конструкция. Типы и размеры
Название документа англ.:Carbon brushes for electrical machines. Construction. Types and dimensions
Дата актуализации текста:01.12.2013
Дата издания:24.01.2011
Дата введения:01.01.2011
Дата последнего изменения:15.07.2013
Область применения:Настоящий стандарт распространяется на щетки, применяемые для подвода и отвода тока на коллекторах и контактных кольцах электрических машин, а также на накладки и наконечники, применяемые для армирования щеток.
Стандарт устанавливает конструкции, типы и размеры щеток, накладок и наконечников.
Стандарт не распространяется на щетки, накладки и наконечники, применяемые в электрических машинах военной техники
ГОСТ Р 53617-2009ГОСТ Р 53617-2009ГОСТ Р 53617-2009ГОСТ Р 53617-2009ГОСТ Р 53617-2009ГОСТ Р 53617-2009ГОСТ Р 53617-2009ГОСТ Р 53617-2009ГОСТ Р 53617-2009ГОСТ Р 53617-2009ГОСТ Р 53617-2009ГОСТ Р 53617-2009ГОСТ Р 53617-2009ГОСТ Р 53617-2009ГОСТ Р 53617-2009ГОСТ Р 53617-2009ГОСТ Р 53617-2009ГОСТ Р 53617-2009ГОСТ Р 53617-2009ГОСТ Р 53617-2009ГОСТ Р 53617-2009ГОСТ Р 53617-2009ГОСТ Р 53617-2009ГОСТ Р 53617-2009ГОСТ Р 53617-2009ГОСТ Р 53617-2009ГОСТ Р 53617-2009ГОСТ Р 53617-2009ГОСТ Р 53617-2009ГОСТ Р 53617-2009ГОСТ Р 53617-2009ГОСТ Р 53617-2009ГОСТ Р 53617-2009ГОСТ Р 53617-2009ГОСТ Р 53617-2009ГОСТ Р 53617-2009ГОСТ Р 53617-2009ГОСТ Р 53617-2009ГОСТ Р 53617-2009ГОСТ Р 53617-2009ГОСТ Р 53617-2009ГОСТ Р 53617-2009ГОСТ Р 53617-2009ГОСТ Р 53617-2009ГОСТ Р 53617-2009ГОСТ Р 53617-2009ГОСТ Р 53617-2009ГОСТ Р 53617-2009ГОСТ Р 53617-2009ГОСТ Р 53617-2009ГОСТ Р 53617-2009ГОСТ Р 53617-2009ГОСТ Р 53617-2009ГОСТ Р 53617-2009ГОСТ Р 53617-2009ГОСТ Р 53617-2009ГОСТ Р 53617-2009ГОСТ Р 53617-2009ГОСТ Р 53617-2009ГОСТ Р 53617-2009ГОСТ Р 53617-2009ГОСТ Р 53617-2009ГОСТ Р 53617-2009ГОСТ Р 53617-2009ГОСТ Р 53617-2009ГОСТ Р 53617-2009ГОСТ Р 53617-2009ГОСТ Р 53617-2009ГОСТ Р 53617-2009ГОСТ Р 53617-2009ГОСТ Р 53617-2009
 




ГОСТЫ, СТРОИТЕЛЬНЫЕ и ТЕХНИЧЕСКИЕ НОРМАТИВЫ.
Некоммерческая онлайн система, содержащая все Российские Госты, национальные Стандарты и нормативы.
В Системе содержится более 150000 файлов нормативно-технической документации, действующей на территории РФ.
Система предназначена для широкого круга инженерно-технических специалистов.

Рейтинг@Mail.ru Яндекс цитирования

Copyright © www.gostrf.com, 2008 - 2026