Крупнейшая бесплатная информационно-справочная система онлайн доступа к полному собранию технических нормативно-правовых актов РФ. Огромная база технических нормативов (более 150 тысяч документов) и полное собрание национальных стандартов, аутентичное официальной базе Госстандарта. GOSTRF.com - это более 1 Терабайта бесплатной технической информации для всех пользователей интернета. Все электронные копии представленных здесь документов могут распространяться без каких-либо ограничений. Поощряется распространение информации с этого сайта на любых других ресурсах. Каждый человек имеет право на неограниченный доступ к этим документам! Каждый человек имеет право на знание требований, изложенных в данных нормативно-правовых актах!

  


 

ГОСТ 16093-2004

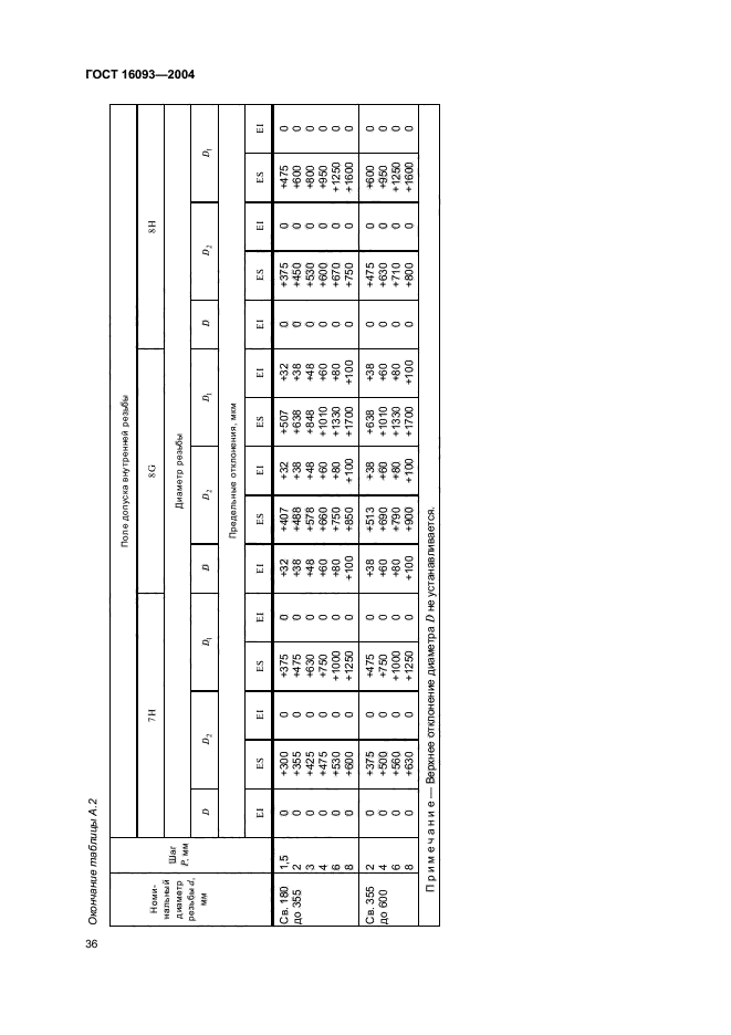
Основные нормы взаимозаменяемости.Резьба метрическая. Допуски. Посадки с зазором

Обозначение:ГОСТ 16093-2004
Текущий статус документа: действующий
Название документа рус.:Основные нормы взаимозаменяемости.Резьба метрическая. Допуски. Посадки с зазором
Название документа англ.:Вasic norms of interchangeability. Metric screw thread. Tolerances. Clearance fits
Дата актуализации текста:01.12.2013
Дата издания:11.04.2005
Дата введения:30.06.2005
Дата последнего изменения:22.05.2013
Область применения:Настоящий стандарт распространяется на метрические резьбы общего назначения с профилем по ГОСТ 9150, диаметрами и шагами по ГОСТ 8724 и ГОСТ 16967 и основными размерами по ГОСТ 24705 и ГОСТ 24706.
Допуски для резьб диаметром менее 1 мм - по ГОСТ 9000
Список изменений:№0 от 01.07.2005 (рег. 01.07.2005) «Дата введения перенесена»
№0 от 01.04.2006 (рег. 01.04.2006) «Дата введения перенесена»
Приложение №1:Поправка к ГОСТ 16093-2004
Приложение №2:Поправка к ГОСТ 16093-2004
ГОСТ 16093-2004ГОСТ 16093-2004ГОСТ 16093-2004ГОСТ 16093-2004ГОСТ 16093-2004ГОСТ 16093-2004ГОСТ 16093-2004ГОСТ 16093-2004ГОСТ 16093-2004ГОСТ 16093-2004ГОСТ 16093-2004ГОСТ 16093-2004ГОСТ 16093-2004ГОСТ 16093-2004ГОСТ 16093-2004ГОСТ 16093-2004ГОСТ 16093-2004ГОСТ 16093-2004ГОСТ 16093-2004ГОСТ 16093-2004ГОСТ 16093-2004ГОСТ 16093-2004ГОСТ 16093-2004ГОСТ 16093-2004ГОСТ 16093-2004ГОСТ 16093-2004ГОСТ 16093-2004ГОСТ 16093-2004ГОСТ 16093-2004ГОСТ 16093-2004ГОСТ 16093-2004ГОСТ 16093-2004ГОСТ 16093-2004ГОСТ 16093-2004ГОСТ 16093-2004ГОСТ 16093-2004ГОСТ 16093-2004ГОСТ 16093-2004ГОСТ 16093-2004ГОСТ 16093-2004ГОСТ 16093-2004ГОСТ 16093-2004ГОСТ 16093-2004ГОСТ 16093-2004ГОСТ 16093-2004

Поправка к ГОСТ 16093-2004

Обозначение:Поправка к ГОСТ 16093-2004
Дата введения:01.04.2006


Поправка к ГОСТ 16093-2004

Поправка к ГОСТ 16093-2004

Обозначение:Поправка к ГОСТ 16093-2004
Дата введения:01.07.2005


Поправка к ГОСТ 16093-2004
 




ГОСТЫ, СТРОИТЕЛЬНЫЕ и ТЕХНИЧЕСКИЕ НОРМАТИВЫ.
Некоммерческая онлайн система, содержащая все Российские Госты, национальные Стандарты и нормативы.
В Системе содержится более 150000 файлов нормативно-технической документации, действующей на территории РФ.
Система предназначена для широкого круга инженерно-технических специалистов.

Рейтинг@Mail.ru Яндекс цитирования

Copyright © www.gostrf.com, 2008 - 2026