Крупнейшая бесплатная информационно-справочная система онлайн доступа к полному собранию технических нормативно-правовых актов РФ. Огромная база технических нормативов (более 150 тысяч документов) и полное собрание национальных стандартов, аутентичное официальной базе Госстандарта. GOSTRF.com - это более 1 Терабайта бесплатной технической информации для всех пользователей интернета. Все электронные копии представленных здесь документов могут распространяться без каких-либо ограничений. Поощряется распространение информации с этого сайта на любых других ресурсах. Каждый человек имеет право на неограниченный доступ к этим документам! Каждый человек имеет право на знание требований, изложенных в данных нормативно-правовых актах!

  


 

ГОСТ Р 52380.1-2005

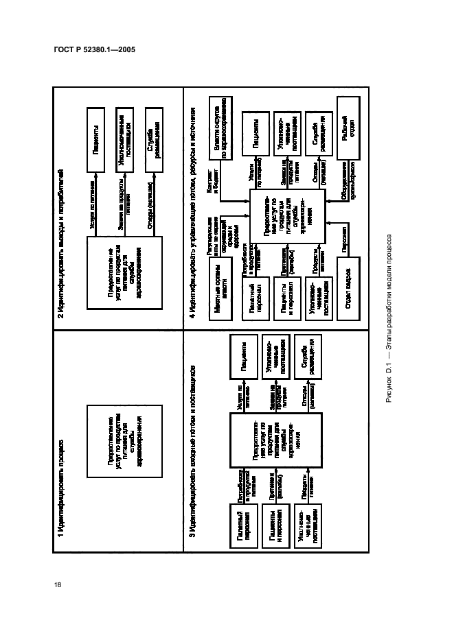
Руководство по экономике качества. Часть 1. Модель затрат на процесс

Обозначение:ГОСТ Р 52380.1-2005
Текущий статус документа: действующий
Название документа рус.:Руководство по экономике качества. Часть 1. Модель затрат на процесс
Название документа англ.:Guide to the economics of quality. Part 1. Process cost model
Дата актуализации текста:01.12.2013
Дата издания:21.11.2005
Дата введения:01.02.2006
Дата последнего изменения:22.05.2013
Область применения:Настоящий стандарт устанавливает руководство по моделированию и определению затрат, связанных с любым процессом хозяйственной деятельности. Применение стандарта совместимо с требованием непрерывного улучшения и с концепцией всеобщего менеджмента качества
ГОСТ Р 52380.1-2005ГОСТ Р 52380.1-2005ГОСТ Р 52380.1-2005ГОСТ Р 52380.1-2005ГОСТ Р 52380.1-2005ГОСТ Р 52380.1-2005ГОСТ Р 52380.1-2005ГОСТ Р 52380.1-2005ГОСТ Р 52380.1-2005ГОСТ Р 52380.1-2005ГОСТ Р 52380.1-2005ГОСТ Р 52380.1-2005ГОСТ Р 52380.1-2005ГОСТ Р 52380.1-2005ГОСТ Р 52380.1-2005ГОСТ Р 52380.1-2005ГОСТ Р 52380.1-2005ГОСТ Р 52380.1-2005ГОСТ Р 52380.1-2005ГОСТ Р 52380.1-2005ГОСТ Р 52380.1-2005ГОСТ Р 52380.1-2005ГОСТ Р 52380.1-2005ГОСТ Р 52380.1-2005
 




ГОСТЫ, СТРОИТЕЛЬНЫЕ и ТЕХНИЧЕСКИЕ НОРМАТИВЫ.
Некоммерческая онлайн система, содержащая все Российские Госты, национальные Стандарты и нормативы.
В Системе содержится более 150000 файлов нормативно-технической документации, действующей на территории РФ.
Система предназначена для широкого круга инженерно-технических специалистов.

Рейтинг@Mail.ru Яндекс цитирования

Copyright © www.gostrf.com, 2008 - 2026