Крупнейшая бесплатная информационно-справочная система онлайн доступа к полному собранию технических нормативно-правовых актов РФ. Огромная база технических нормативов (более 150 тысяч документов) и полное собрание национальных стандартов, аутентичное официальной базе Госстандарта. GOSTRF.com - это более 1 Терабайта бесплатной технической информации для всех пользователей интернета. Все электронные копии представленных здесь документов могут распространяться без каких-либо ограничений. Поощряется распространение информации с этого сайта на любых других ресурсах. Каждый человек имеет право на неограниченный доступ к этим документам! Каждый человек имеет право на знание требований, изложенных в данных нормативно-правовых актах!

  


 

ГОСТ Р 50267.49-2004

Изделия медицинские электрические. Часть 2. Частные требования безопасности к многофункциональным мониторам пациента

Обозначение:ГОСТ Р 50267.49-2004
Текущий статус документа: действующий
Название документа рус.:Изделия медицинские электрические. Часть 2. Частные требования безопасности к многофункциональным мониторам пациента
Название документа англ.:Medical electrical equipment. Part 2. Particular requirements for the safety of multifunction patient monitoring equipment
Дата актуализации текста:01.12.2013
Дата издания:09.07.2004
Дата введения:01.01.2005
Дата последнего изменения:20.06.2013
Дата окончания срока действия:01.01.2015
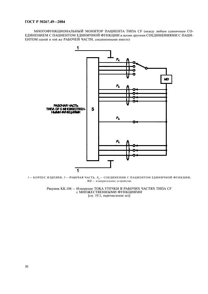
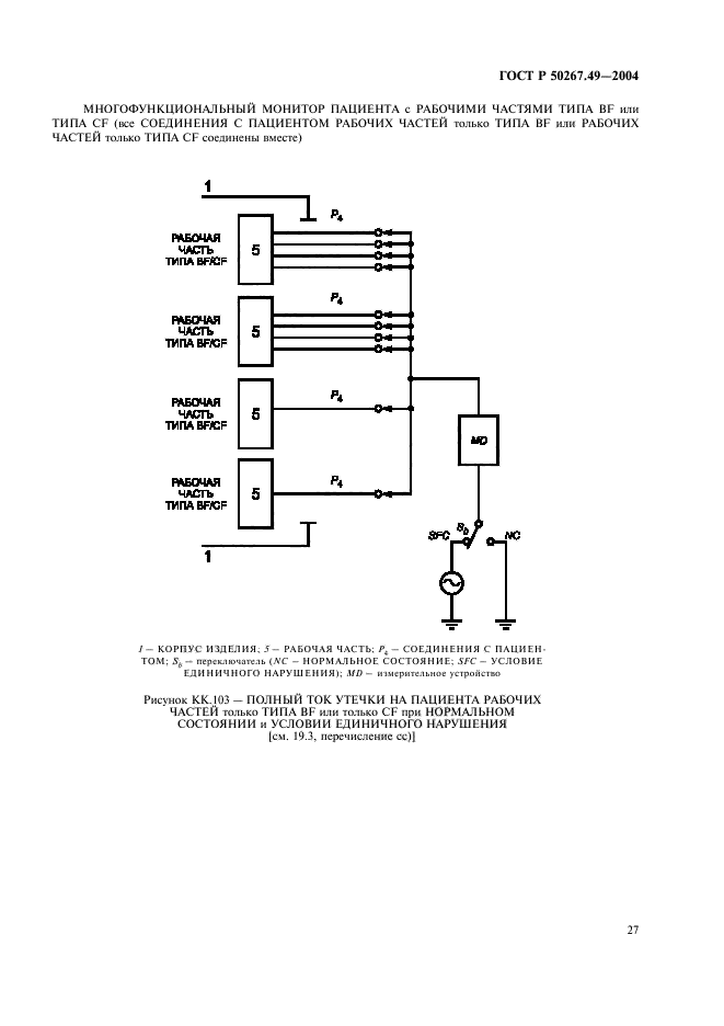
Область применения:Настоящий стандарт устанавливает требования безопасности, предъявляемые к многофункциональным мониторам пациента.
Настоящий стандарт распространяется на изделия, имеющие более одной рабочей части или более одной единичной функции, предназначенной для подсоединения к одному пациенту.
Настоящий стандарт не устанавливает требований к индивидуальным функциям мониторинга
Список изменений:№0 от 01.01.2015 (рег. 01.11.2012) «Текстовое изменение; Изменено заглавие»
ГОСТ Р 50267.49-2004ГОСТ Р 50267.49-2004ГОСТ Р 50267.49-2004ГОСТ Р 50267.49-2004ГОСТ Р 50267.49-2004ГОСТ Р 50267.49-2004ГОСТ Р 50267.49-2004ГОСТ Р 50267.49-2004ГОСТ Р 50267.49-2004ГОСТ Р 50267.49-2004ГОСТ Р 50267.49-2004ГОСТ Р 50267.49-2004ГОСТ Р 50267.49-2004ГОСТ Р 50267.49-2004ГОСТ Р 50267.49-2004ГОСТ Р 50267.49-2004ГОСТ Р 50267.49-2004ГОСТ Р 50267.49-2004ГОСТ Р 50267.49-2004ГОСТ Р 50267.49-2004ГОСТ Р 50267.49-2004ГОСТ Р 50267.49-2004ГОСТ Р 50267.49-2004ГОСТ Р 50267.49-2004ГОСТ Р 50267.49-2004ГОСТ Р 50267.49-2004ГОСТ Р 50267.49-2004ГОСТ Р 50267.49-2004ГОСТ Р 50267.49-2004ГОСТ Р 50267.49-2004ГОСТ Р 50267.49-2004ГОСТ Р 50267.49-2004ГОСТ Р 50267.49-2004ГОСТ Р 50267.49-2004ГОСТ Р 50267.49-2004ГОСТ Р 50267.49-2004ГОСТ Р 50267.49-2004ГОСТ Р 50267.49-2004ГОСТ Р 50267.49-2004ГОСТ Р 50267.49-2004
 




ГОСТЫ, СТРОИТЕЛЬНЫЕ и ТЕХНИЧЕСКИЕ НОРМАТИВЫ.
Некоммерческая онлайн система, содержащая все Российские Госты, национальные Стандарты и нормативы.
В Системе содержится более 150000 файлов нормативно-технической документации, действующей на территории РФ.
Система предназначена для широкого круга инженерно-технических специалистов.

Рейтинг@Mail.ru Яндекс цитирования

Copyright © www.gostrf.com, 2008 - 2026