Крупнейшая бесплатная информационно-справочная система онлайн доступа к полному собранию технических нормативно-правовых актов РФ. Огромная база технических нормативов (более 150 тысяч документов) и полное собрание национальных стандартов, аутентичное официальной базе Госстандарта. GOSTRF.com - это более 1 Терабайта бесплатной технической информации для всех пользователей интернета. Все электронные копии представленных здесь документов могут распространяться без каких-либо ограничений. Поощряется распространение информации с этого сайта на любых других ресурсах. Каждый человек имеет право на неограниченный доступ к этим документам! Каждый человек имеет право на знание требований, изложенных в данных нормативно-правовых актах!

  


 

ГОСТ Р 8.601-2003

Государственная система обеспечения единства измерений. Давление насыщенных паров нефти и нефтепродуктов. Методика выполнения измерений

Обозначение:ГОСТ Р 8.601-2003
Текущий статус документа: отменён
Название документа рус.:Государственная система обеспечения единства измерений. Давление насыщенных паров нефти и нефтепродуктов. Методика выполнения измерений
Название документа англ.:State system for ensuring the uniformity of measurements. Pressure of saturated steams of crude oil and products from oil. Measurement procedure
Дата актуализации текста:01.12.2013
Дата издания:28.10.2003
Дата введения:31.03.2004
Дата последнего изменения:22.05.2013
Дата окончания срока действия:01.01.2013
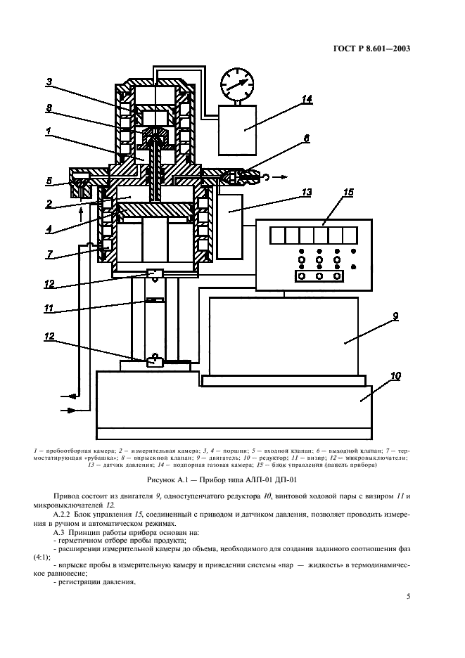
Область применения:Настоящий стандарт распространяется на давление насыщенных паров нефти и нефтепродуктов и устанавливает методику выполнения его измерений в диапазоне от 10 до 160 кПа и в интервале температур от 10 град. С до 60 град. С при соотношении объемов паровой и жидкой фаз 4:1
Список изменений:№0 от 09.03.2004 (рег. 09.03.2004) «Дата введения перенесена»
№0 от 01.01.2013 (рег. 13.12.2011) «Текстовое изменение; Изменено заглавие»
Приложение №1:Поправка к ГОСТ Р 8.601-2003
ГОСТ Р 8.601-2003ГОСТ Р 8.601-2003ГОСТ Р 8.601-2003ГОСТ Р 8.601-2003ГОСТ Р 8.601-2003ГОСТ Р 8.601-2003ГОСТ Р 8.601-2003ГОСТ Р 8.601-2003ГОСТ Р 8.601-2003ГОСТ Р 8.601-2003ГОСТ Р 8.601-2003ГОСТ Р 8.601-2003

Поправка к ГОСТ Р 8.601-2003

Обозначение:Поправка к ГОСТ Р 8.601-2003
Дата введения:09.03.2004


Поправка к ГОСТ Р 8.601-2003
 




ГОСТЫ, СТРОИТЕЛЬНЫЕ и ТЕХНИЧЕСКИЕ НОРМАТИВЫ.
Некоммерческая онлайн система, содержащая все Российские Госты, национальные Стандарты и нормативы.
В Системе содержится более 150000 файлов нормативно-технической документации, действующей на территории РФ.
Система предназначена для широкого круга инженерно-технических специалистов.

Рейтинг@Mail.ru Яндекс цитирования

Copyright © www.gostrf.com, 2008 - 2026