Крупнейшая бесплатная информационно-справочная система онлайн доступа к полному собранию технических нормативно-правовых актов РФ. Огромная база технических нормативов (более 150 тысяч документов) и полное собрание национальных стандартов, аутентичное официальной базе Госстандарта. GOSTRF.com - это более 1 Терабайта бесплатной технической информации для всех пользователей интернета. Все электронные копии представленных здесь документов могут распространяться без каких-либо ограничений. Поощряется распространение информации с этого сайта на любых других ресурсах. Каждый человек имеет право на неограниченный доступ к этим документам! Каждый человек имеет право на знание требований, изложенных в данных нормативно-правовых актах!

  


 

ГОСТ Р 52078-2003

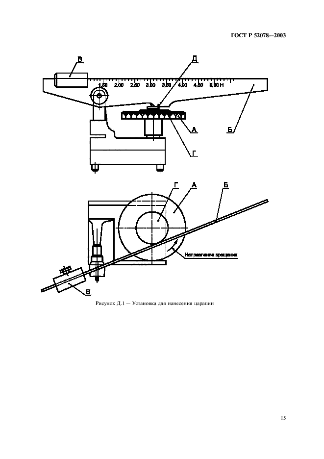
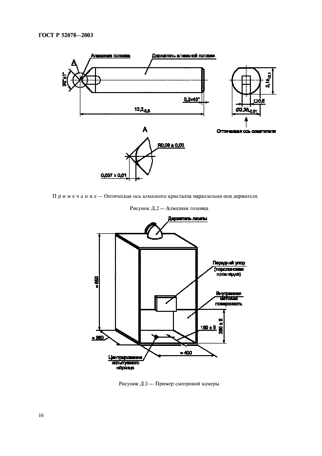
Плиты древесно-стружечные, облицованные пленками на основе термореактивных полимеров. Технические условия

Обозначение:ГОСТ Р 52078-2003
Текущий статус документа: действующий
Название документа рус.:Плиты древесно-стружечные, облицованные пленками на основе термореактивных полимеров. Технические условия
Название документа англ.:Wood particle boards, laminated with paper impregnated with thermosetting resins
Дата актуализации текста:01.12.2013
Дата издания:07.08.2003
Дата введения:01.01.2004
Дата последнего изменения:16.10.2013
Дата окончания срока действия:01.07.2014
Область применения:Настоящий стандарт распространяется на древесно-стружечные плиты, облицованные пленками на основе термореактивных полимеров и предназначенные для производства мебели и других товаров народного потребления, использования в качестве конструкционных отделочных материалов в строительстве в условиях, защищенных от увлажнения, в машиностроении и радиоприборостроении.
Положения настоящего стандарта распространяются на плиты, выпускаемые и применяемые предприятиями (организациями) любых форм собственности, а также индивидуальными изготовителями
Список изменений:№0 от 01.07.2014 (рег. 09.10.2013) «Текстовое изменение; Изменено заглавие»
№1 от 01.07.2008 (рег. 27.12.2007) «Текстовое изменение; Изменены ссылочные НД»
№2 от 01.01.2012 (рег. 22.08.2011) «Текстовое изменение; Изменены ссылочные НД»
Приложение №1:Изменение №1 к ГОСТ Р 52078-2003
Приложение №2:Изменение №2 к ГОСТ Р 52078-2003
ГОСТ Р 52078-2003ГОСТ Р 52078-2003ГОСТ Р 52078-2003ГОСТ Р 52078-2003ГОСТ Р 52078-2003ГОСТ Р 52078-2003ГОСТ Р 52078-2003ГОСТ Р 52078-2003ГОСТ Р 52078-2003ГОСТ Р 52078-2003ГОСТ Р 52078-2003ГОСТ Р 52078-2003ГОСТ Р 52078-2003ГОСТ Р 52078-2003ГОСТ Р 52078-2003ГОСТ Р 52078-2003ГОСТ Р 52078-2003ГОСТ Р 52078-2003ГОСТ Р 52078-2003ГОСТ Р 52078-2003ГОСТ Р 52078-2003ГОСТ Р 52078-2003ГОСТ Р 52078-2003

Изменение №1 к ГОСТ Р 52078-2003

Обозначение:Изменение №1 к ГОСТ Р 52078-2003
Дата введения:01.07.2008


Изменение №1 к ГОСТ Р 52078-2003Изменение №1 к ГОСТ Р 52078-2003

Изменение №2 к ГОСТ Р 52078-2003

Обозначение:Изменение №2 к ГОСТ Р 52078-2003
Дата введения:01.01.2012


Изменение №2 к ГОСТ Р 52078-2003
 




ГОСТЫ, СТРОИТЕЛЬНЫЕ и ТЕХНИЧЕСКИЕ НОРМАТИВЫ.
Некоммерческая онлайн система, содержащая все Российские Госты, национальные Стандарты и нормативы.
В Системе содержится более 150000 файлов нормативно-технической документации, действующей на территории РФ.
Система предназначена для широкого круга инженерно-технических специалистов.

Рейтинг@Mail.ru Яндекс цитирования

Copyright © www.gostrf.com, 2008 - 2026