Крупнейшая бесплатная информационно-справочная система онлайн доступа к полному собранию технических нормативно-правовых актов РФ. Огромная база технических нормативов (более 150 тысяч документов) и полное собрание национальных стандартов, аутентичное официальной базе Госстандарта. GOSTRF.com - это более 1 Терабайта бесплатной технической информации для всех пользователей интернета. Все электронные копии представленных здесь документов могут распространяться без каких-либо ограничений. Поощряется распространение информации с этого сайта на любых других ресурсах. Каждый человек имеет право на неограниченный доступ к этим документам! Каждый человек имеет право на знание требований, изложенных в данных нормативно-правовых актах!

  


 

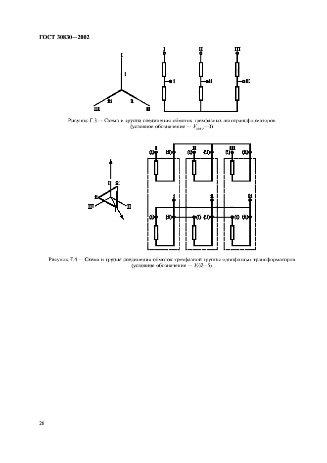
ГОСТ 30830-2002

Трансформаторы силовые. Часть 1. Общие положения

Обозначение:ГОСТ 30830-2002
Текущий статус документа: действующий
Название документа рус.:Трансформаторы силовые. Часть 1. Общие положения
Название документа англ.:Power transformers. Part 1. General
Дата актуализации текста:01.12.2013
Дата издания:19.06.2003
Дата введения:01.01.2004
Дата последнего изменения:22.05.2013
Область применения:Настоящий стандарт распространяется на трехфазные и однофазные силовые трансформаторы (в т.ч. автотрансформаторы), за исключением некоторых видов маломощных и специальных трансформаторов, а именно:
- однофазных трансформаторов номинальной мощностью менее 1 кВ.А и трехфазных трансформаторов номинальной мощностью менее 5 кВ.А;
- измерительных трансформаторов;
- трансформаторов для статических преобразователей;
- тяговых трансформаторов, установленных на подвижном составе;
- пусковых трансформаторов;
- испытательных трансформаторов;
- сварочных трансформаторов.
Требования настоящего стандарта могут применяться для указанных выше видов трансформаторов, если на них нет отдельных стандартов или нормативных документов. Для тех видов силовых трансформаторов, на которые имеются отдельные НД, настоящий стандарт распространяется только в той области, которая указана в этих стандартах
ГОСТ 30830-2002ГОСТ 30830-2002ГОСТ 30830-2002ГОСТ 30830-2002ГОСТ 30830-2002ГОСТ 30830-2002ГОСТ 30830-2002ГОСТ 30830-2002ГОСТ 30830-2002ГОСТ 30830-2002ГОСТ 30830-2002ГОСТ 30830-2002ГОСТ 30830-2002ГОСТ 30830-2002ГОСТ 30830-2002ГОСТ 30830-2002ГОСТ 30830-2002ГОСТ 30830-2002ГОСТ 30830-2002ГОСТ 30830-2002ГОСТ 30830-2002ГОСТ 30830-2002ГОСТ 30830-2002ГОСТ 30830-2002ГОСТ 30830-2002ГОСТ 30830-2002ГОСТ 30830-2002ГОСТ 30830-2002ГОСТ 30830-2002ГОСТ 30830-2002ГОСТ 30830-2002
 




ГОСТЫ, СТРОИТЕЛЬНЫЕ и ТЕХНИЧЕСКИЕ НОРМАТИВЫ.
Некоммерческая онлайн система, содержащая все Российские Госты, национальные Стандарты и нормативы.
В Системе содержится более 150000 файлов нормативно-технической документации, действующей на территории РФ.
Система предназначена для широкого круга инженерно-технических специалистов.

Рейтинг@Mail.ru Яндекс цитирования

Copyright © www.gostrf.com, 2008 - 2026