Крупнейшая бесплатная информационно-справочная система онлайн доступа к полному собранию технических нормативно-правовых актов РФ. Огромная база технических нормативов (более 150 тысяч документов) и полное собрание национальных стандартов, аутентичное официальной базе Госстандарта. GOSTRF.com - это более 1 Терабайта бесплатной технической информации для всех пользователей интернета. Все электронные копии представленных здесь документов могут распространяться без каких-либо ограничений. Поощряется распространение информации с этого сайта на любых других ресурсах. Каждый человек имеет право на неограниченный доступ к этим документам! Каждый человек имеет право на знание требований, изложенных в данных нормативно-правовых актах!

  


 

ГОСТ Р 52023-2003

Сети распределительные систем кабельного телевидения. Основные параметры. Технические требования. Методы измерений и испытаний

Обозначение:ГОСТ Р 52023-2003
Текущий статус документа: действующий
Название документа рус.:Сети распределительные систем кабельного телевидения. Основные параметры. Технические требования. Методы измерений и испытаний
Название документа англ.:Distribution networks of cable TV systems. Basic parameters. Technical requirements. Measurement and test methods
Дата актуализации текста:01.12.2013
Дата издания:20.05.2003
Дата введения:30.06.2003
Дата последнего изменения:22.05.2013
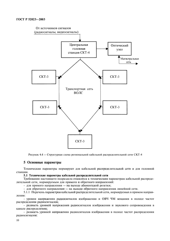
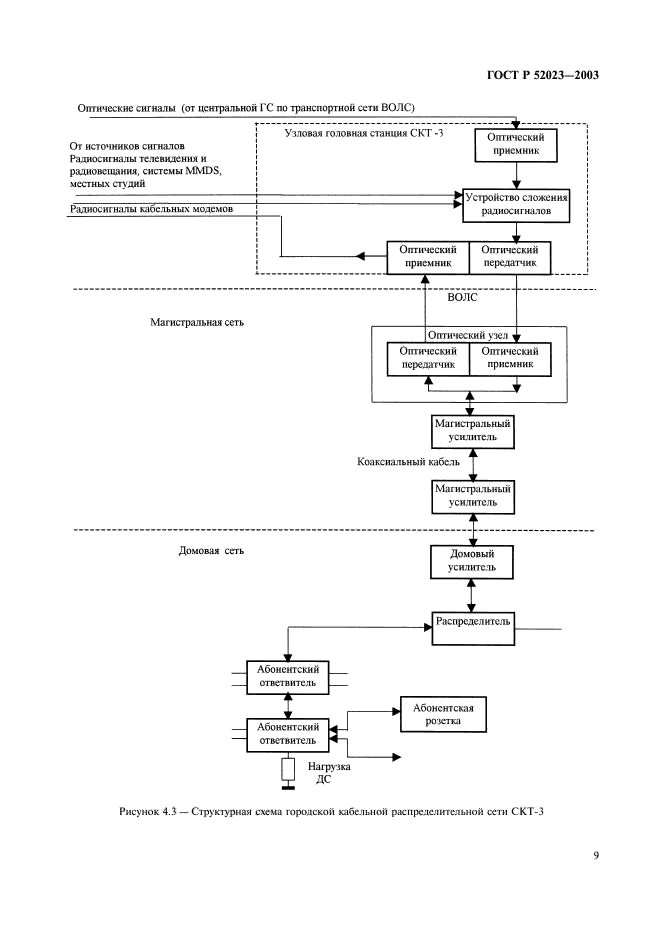
Область применения:Настоящий стандарт распространяется на распределительные сети систем кабельного телевидения с частотным разделением каналов и полосой частот от 5 до 1000 МГц, предназначенные для двунаправленной или однонаправленной передачи радиосигналов телевидения, радиовещания, других сигналов электросвязи.
Полоса частот от 40 до 1000 МГц предназначена для распределения радиосигналов в прямом направлении, полоса частот от 5 до 30 МГц - для передачи радиосигналов в обратном направлении. Допускается расширение полосы частот обратного направления за счет полосы частот прямого направления.
Стандарт устанавливает параметры, технические требования, методы измерений и испытаний кабельных распределительных сетей при проектировании, строительстве, сертификации и эксплуатации.
Стандарт не распространяется на источники сигналов, приемные антенны с фидерами снижения и абонентское оборудование
ГОСТ Р 52023-2003ГОСТ Р 52023-2003ГОСТ Р 52023-2003ГОСТ Р 52023-2003ГОСТ Р 52023-2003ГОСТ Р 52023-2003ГОСТ Р 52023-2003ГОСТ Р 52023-2003ГОСТ Р 52023-2003ГОСТ Р 52023-2003ГОСТ Р 52023-2003ГОСТ Р 52023-2003ГОСТ Р 52023-2003ГОСТ Р 52023-2003ГОСТ Р 52023-2003ГОСТ Р 52023-2003ГОСТ Р 52023-2003ГОСТ Р 52023-2003ГОСТ Р 52023-2003ГОСТ Р 52023-2003ГОСТ Р 52023-2003ГОСТ Р 52023-2003ГОСТ Р 52023-2003ГОСТ Р 52023-2003ГОСТ Р 52023-2003ГОСТ Р 52023-2003ГОСТ Р 52023-2003ГОСТ Р 52023-2003ГОСТ Р 52023-2003ГОСТ Р 52023-2003ГОСТ Р 52023-2003ГОСТ Р 52023-2003ГОСТ Р 52023-2003ГОСТ Р 52023-2003ГОСТ Р 52023-2003ГОСТ Р 52023-2003ГОСТ Р 52023-2003ГОСТ Р 52023-2003ГОСТ Р 52023-2003ГОСТ Р 52023-2003ГОСТ Р 52023-2003ГОСТ Р 52023-2003ГОСТ Р 52023-2003ГОСТ Р 52023-2003ГОСТ Р 52023-2003ГОСТ Р 52023-2003ГОСТ Р 52023-2003ГОСТ Р 52023-2003ГОСТ Р 52023-2003ГОСТ Р 52023-2003ГОСТ Р 52023-2003ГОСТ Р 52023-2003ГОСТ Р 52023-2003ГОСТ Р 52023-2003ГОСТ Р 52023-2003ГОСТ Р 52023-2003ГОСТ Р 52023-2003ГОСТ Р 52023-2003ГОСТ Р 52023-2003ГОСТ Р 52023-2003ГОСТ Р 52023-2003
 




ГОСТЫ, СТРОИТЕЛЬНЫЕ и ТЕХНИЧЕСКИЕ НОРМАТИВЫ.
Некоммерческая онлайн система, содержащая все Российские Госты, национальные Стандарты и нормативы.
В Системе содержится более 150000 файлов нормативно-технической документации, действующей на территории РФ.
Система предназначена для широкого круга инженерно-технических специалистов.

Рейтинг@Mail.ru Яндекс цитирования

Copyright © www.gostrf.com, 2008 - 2026