Крупнейшая бесплатная информационно-справочная система онлайн доступа к полному собранию технических нормативно-правовых актов РФ. Огромная база технических нормативов (более 150 тысяч документов) и полное собрание национальных стандартов, аутентичное официальной базе Госстандарта. GOSTRF.com - это более 1 Терабайта бесплатной технической информации для всех пользователей интернета. Все электронные копии представленных здесь документов могут распространяться без каких-либо ограничений. Поощряется распространение информации с этого сайта на любых других ресурсах. Каждый человек имеет право на неограниченный доступ к этим документам! Каждый человек имеет право на знание требований, изложенных в данных нормативно-правовых актах!

  


 

ГОСТ Р 53536-2009

Цифровое телевидение повышенной четкости. Основные параметры цифровой системы с построчным разложением. Аналоговые и цифровые представления сигналов. Параллельный цифровой интерфейс

Обозначение:ГОСТ Р 53536-2009
Текущий статус документа: действующий
Название документа рус.:Цифровое телевидение повышенной четкости. Основные параметры цифровой системы с построчным разложением. Аналоговые и цифровые представления сигналов. Параллельный цифровой интерфейс
Название документа англ.:Enhanced - definition television. Basic parameters of digital system with progressive scanning. Analog and digital signals representations. Parallel digital interface
Дата актуализации текста:01.12.2013
Дата издания:20.04.2011
Дата введения:01.12.2010
Дата последнего изменения:20.06.2013
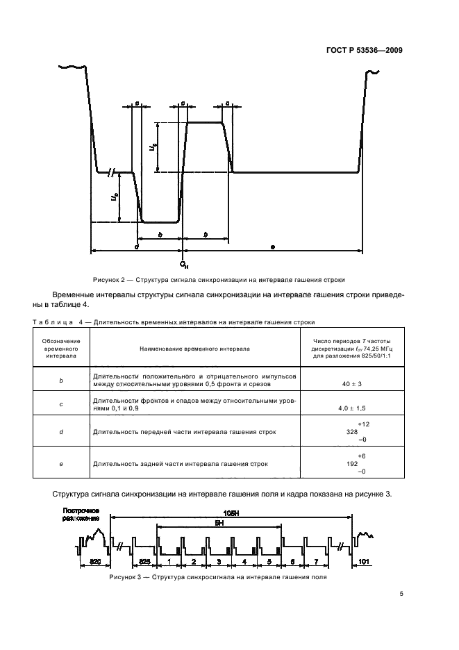
Область применения:Настоящий стандарт распространяется на цифровую систему телевидения повышенной четкости с построчным разложением и устанавливает:
- параметры разложения цифровой системы телевидения повышенной четкости с построчным разложением;
- параметры оптико-электронного преобразования;
- структуру телевизионного сигнала в аналоговом представлении;
- параметры цифрового телевизионного сигнала;
- общие требования к параллельному цифровому интерфейсу
ГОСТ Р 53536-2009ГОСТ Р 53536-2009ГОСТ Р 53536-2009ГОСТ Р 53536-2009ГОСТ Р 53536-2009ГОСТ Р 53536-2009ГОСТ Р 53536-2009ГОСТ Р 53536-2009ГОСТ Р 53536-2009ГОСТ Р 53536-2009ГОСТ Р 53536-2009ГОСТ Р 53536-2009ГОСТ Р 53536-2009ГОСТ Р 53536-2009ГОСТ Р 53536-2009ГОСТ Р 53536-2009ГОСТ Р 53536-2009ГОСТ Р 53536-2009ГОСТ Р 53536-2009ГОСТ Р 53536-2009
 




ГОСТЫ, СТРОИТЕЛЬНЫЕ и ТЕХНИЧЕСКИЕ НОРМАТИВЫ.
Некоммерческая онлайн система, содержащая все Российские Госты, национальные Стандарты и нормативы.
В Системе содержится более 150000 файлов нормативно-технической документации, действующей на территории РФ.
Система предназначена для широкого круга инженерно-технических специалистов.

Рейтинг@Mail.ru Яндекс цитирования

Copyright © www.gostrf.com, 2008 - 2026