Крупнейшая бесплатная информационно-справочная система онлайн доступа к полному собранию технических нормативно-правовых актов РФ. Огромная база технических нормативов (более 150 тысяч документов) и полное собрание национальных стандартов, аутентичное официальной базе Госстандарта. GOSTRF.com - это более 1 Терабайта бесплатной технической информации для всех пользователей интернета. Все электронные копии представленных здесь документов могут распространяться без каких-либо ограничений. Поощряется распространение информации с этого сайта на любых других ресурсах. Каждый человек имеет право на неограниченный доступ к этим документам! Каждый человек имеет право на знание требований, изложенных в данных нормативно-правовых актах!

  


 

ГОСТ Р ЕН 1822-1-2010

Высокоэффективные фильтры очистки воздуха ЕРА, HEPA и ULPA. Часть 1. Классификация, методы испытаний, маркировка

Обозначение:ГОСТ Р ЕН 1822-1-2010
Текущий статус документа: действующий
Название документа рус.:Высокоэффективные фильтры очистки воздуха ЕРА, HEPA и ULPA. Часть 1. Классификация, методы испытаний, маркировка
Название документа англ.:High efficiency air filters ЕРА, HEPA and ULPA. Part 1. Classification, performance testing, marking
Дата актуализации текста:01.12.2013
Дата издания:16.03.2011
Дата введения:01.12.2011
Дата последнего изменения:22.05.2013
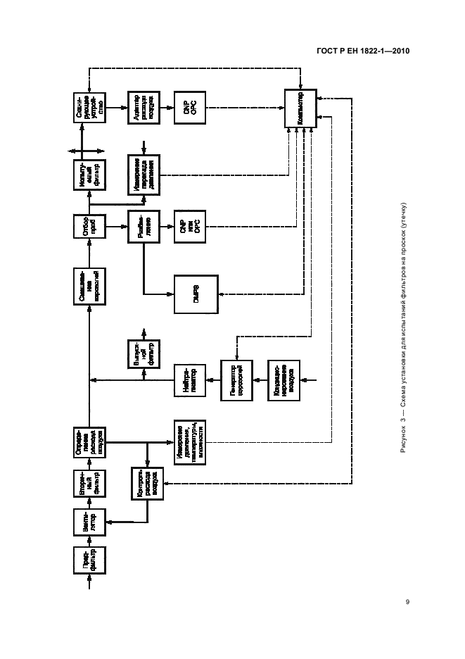
Область применения:Настоящий стандарт устанавливает требования к высокоэффективным и сверхвысокоэффективным фильтрам очистки воздуха ЕРА, HEPA и ULPA, применяемым в системах вентиляции и кондиционирования воздуха и в технологических системах, например, в чистых помещениях и фармацевтической промышленности.
Стандарт содержит методику определения эффективности фильтров с использованием контрольного аэрозоля с жидкими частицами (или аэрозоля с твердыми частицами) и счетчика частиц и устанавливает классификацию фильтров по показателям эффективности (локальной и интегральной)
ГОСТ Р ЕН 1822-1-2010ГОСТ Р ЕН 1822-1-2010ГОСТ Р ЕН 1822-1-2010ГОСТ Р ЕН 1822-1-2010ГОСТ Р ЕН 1822-1-2010ГОСТ Р ЕН 1822-1-2010ГОСТ Р ЕН 1822-1-2010ГОСТ Р ЕН 1822-1-2010ГОСТ Р ЕН 1822-1-2010ГОСТ Р ЕН 1822-1-2010ГОСТ Р ЕН 1822-1-2010ГОСТ Р ЕН 1822-1-2010ГОСТ Р ЕН 1822-1-2010ГОСТ Р ЕН 1822-1-2010ГОСТ Р ЕН 1822-1-2010ГОСТ Р ЕН 1822-1-2010ГОСТ Р ЕН 1822-1-2010ГОСТ Р ЕН 1822-1-2010ГОСТ Р ЕН 1822-1-2010ГОСТ Р ЕН 1822-1-2010
 




ГОСТЫ, СТРОИТЕЛЬНЫЕ и ТЕХНИЧЕСКИЕ НОРМАТИВЫ.
Некоммерческая онлайн система, содержащая все Российские Госты, национальные Стандарты и нормативы.
В Системе содержится более 150000 файлов нормативно-технической документации, действующей на территории РФ.
Система предназначена для широкого круга инженерно-технических специалистов.

Рейтинг@Mail.ru Яндекс цитирования

Copyright © www.gostrf.com, 2008 - 2026