Крупнейшая бесплатная информационно-справочная система онлайн доступа к полному собранию технических нормативно-правовых актов РФ. Огромная база технических нормативов (более 150 тысяч документов) и полное собрание национальных стандартов, аутентичное официальной базе Госстандарта. GOSTRF.com - это более 1 Терабайта бесплатной технической информации для всех пользователей интернета. Все электронные копии представленных здесь документов могут распространяться без каких-либо ограничений. Поощряется распространение информации с этого сайта на любых других ресурсах. Каждый человек имеет право на неограниченный доступ к этим документам! Каждый человек имеет право на знание требований, изложенных в данных нормативно-правовых актах!

  


 

ГОСТ Р 51365-2009

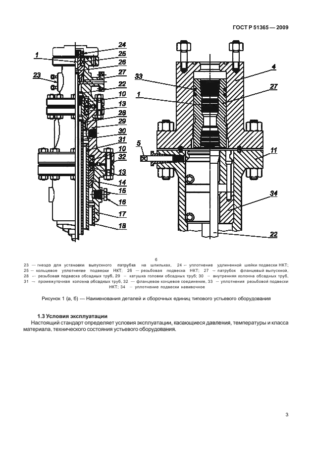
Нефтяная и газовая промышленность. Оборудование для бурения и добычи. Оборудование устья скважины и фонтанное устьевое оборудование. Общие технические требования

Обозначение:ГОСТ Р 51365-2009
Текущий статус документа: действующий
Название документа рус.:Нефтяная и газовая промышленность. Оборудование для бурения и добычи. Оборудование устья скважины и фонтанное устьевое оборудование. Общие технические требования
Название документа англ.:Petroleum and natural gas industries. Drilling and production equipment. Wellhead and christmas tree equipment. General specifications
Дата актуализации текста:01.12.2013
Дата издания:31.05.2011
Дата введения:01.01.2011
Дата последнего изменения:22.05.2013
Область применения:Настоящий стандарт распространяется на устьевое оборудование и фонтанную арматуру, применяемые при добыче нефти и газа, и устанавливает основные технические характеристики, требования к размерной и функциональной взаимозаменяемости, требования к проектированию и изготовлению, материалам, испытаниям и контролю, сварке, маркировке, погрузо-разгрузочным операциям, хранению, приобретению, ремонту и модернизации.
Настоящий стандарт не распространяется на испытания и (или) ремонт устьевого оборудования и фонтанной арматуры в промысловых условиях
ГОСТ Р 51365-2009ГОСТ Р 51365-2009ГОСТ Р 51365-2009ГОСТ Р 51365-2009ГОСТ Р 51365-2009ГОСТ Р 51365-2009ГОСТ Р 51365-2009ГОСТ Р 51365-2009ГОСТ Р 51365-2009ГОСТ Р 51365-2009ГОСТ Р 51365-2009ГОСТ Р 51365-2009ГОСТ Р 51365-2009ГОСТ Р 51365-2009ГОСТ Р 51365-2009ГОСТ Р 51365-2009ГОСТ Р 51365-2009ГОСТ Р 51365-2009ГОСТ Р 51365-2009ГОСТ Р 51365-2009ГОСТ Р 51365-2009ГОСТ Р 51365-2009ГОСТ Р 51365-2009ГОСТ Р 51365-2009ГОСТ Р 51365-2009ГОСТ Р 51365-2009ГОСТ Р 51365-2009ГОСТ Р 51365-2009ГОСТ Р 51365-2009ГОСТ Р 51365-2009ГОСТ Р 51365-2009ГОСТ Р 51365-2009ГОСТ Р 51365-2009ГОСТ Р 51365-2009ГОСТ Р 51365-2009ГОСТ Р 51365-2009ГОСТ Р 51365-2009ГОСТ Р 51365-2009ГОСТ Р 51365-2009ГОСТ Р 51365-2009ГОСТ Р 51365-2009ГОСТ Р 51365-2009ГОСТ Р 51365-2009ГОСТ Р 51365-2009ГОСТ Р 51365-2009ГОСТ Р 51365-2009ГОСТ Р 51365-2009ГОСТ Р 51365-2009ГОСТ Р 51365-2009ГОСТ Р 51365-2009ГОСТ Р 51365-2009ГОСТ Р 51365-2009ГОСТ Р 51365-2009ГОСТ Р 51365-2009ГОСТ Р 51365-2009ГОСТ Р 51365-2009ГОСТ Р 51365-2009ГОСТ Р 51365-2009ГОСТ Р 51365-2009ГОСТ Р 51365-2009ГОСТ Р 51365-2009ГОСТ Р 51365-2009
 




ГОСТЫ, СТРОИТЕЛЬНЫЕ и ТЕХНИЧЕСКИЕ НОРМАТИВЫ.
Некоммерческая онлайн система, содержащая все Российские Госты, национальные Стандарты и нормативы.
В Системе содержится более 150000 файлов нормативно-технической документации, действующей на территории РФ.
Система предназначена для широкого круга инженерно-технических специалистов.

Рейтинг@Mail.ru Яндекс цитирования

Copyright © www.gostrf.com, 2008 - 2026