Крупнейшая бесплатная информационно-справочная система онлайн доступа к полному собранию технических нормативно-правовых актов РФ. Огромная база технических нормативов (более 150 тысяч документов) и полное собрание национальных стандартов, аутентичное официальной базе Госстандарта. GOSTRF.com - это более 1 Терабайта бесплатной технической информации для всех пользователей интернета. Все электронные копии представленных здесь документов могут распространяться без каких-либо ограничений. Поощряется распространение информации с этого сайта на любых других ресурсах. Каждый человек имеет право на неограниченный доступ к этим документам! Каждый человек имеет право на знание требований, изложенных в данных нормативно-правовых актах!

  


 

ГОСТ Р МЭК 60095-2-2010

Батареи стартерные свинцово-кислотные. Часть 2. Размеры батарей и размеры и маркировка выводов

Обозначение:ГОСТ Р МЭК 60095-2-2010
Текущий статус документа: действующий
Название документа рус.:Батареи стартерные свинцово-кислотные. Часть 2. Размеры батарей и размеры и маркировка выводов
Название документа англ.:Lead-acid starter batteries. Part 2. Dimensions of batteries and dimensions and marking of terminals
Дата актуализации текста:01.12.2013
Дата издания:18.08.2011
Дата введения:01.07.2011
Дата последнего изменения:22.05.2013
Область применения:Настоящий стандарт распространяется на свинцово-кислотные стартерные батареи с номинальным напряжением 12 В, используемые для пуска, освещения и систем зажигания легковых и малолитражных автомобилей.
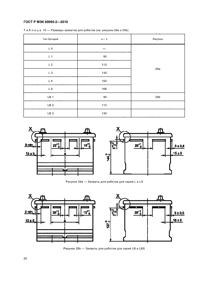
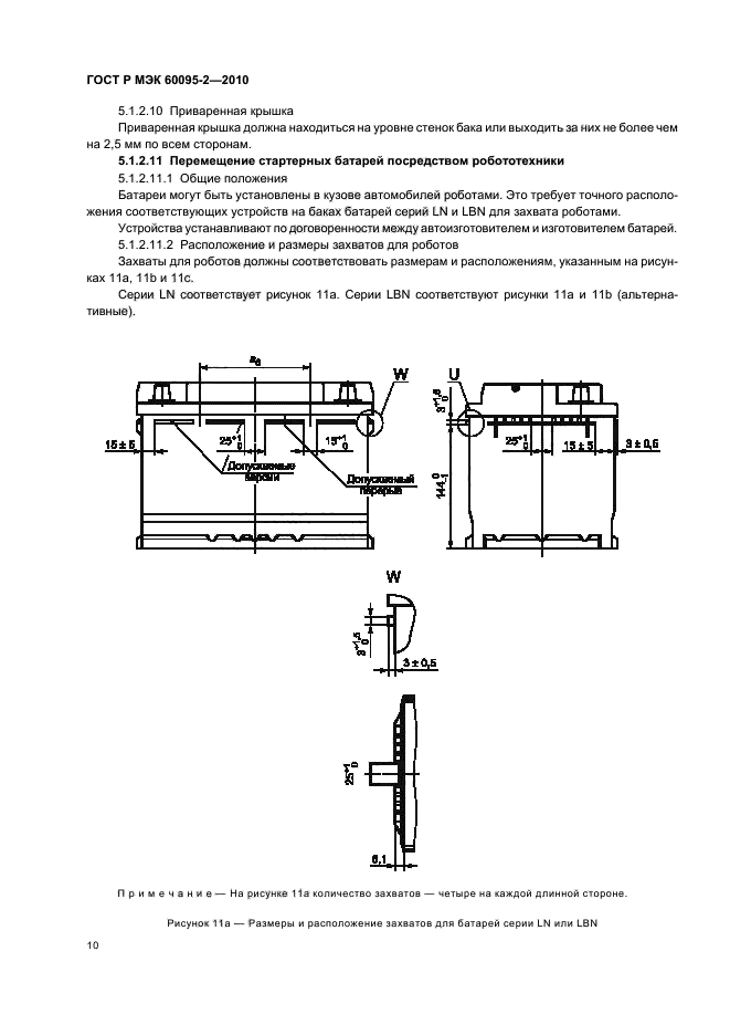
Все батареи могут крепиться на автомобиле или посредством бортиков вокруг бака, или посредством крепежного устройства, соединяющегося с крышкой.
Стандарт устанавливает требования к размерам батарей, применяемым в Европе, Северной Америке и Восточной Азии
ГОСТ Р МЭК 60095-2-2010ГОСТ Р МЭК 60095-2-2010ГОСТ Р МЭК 60095-2-2010ГОСТ Р МЭК 60095-2-2010ГОСТ Р МЭК 60095-2-2010ГОСТ Р МЭК 60095-2-2010ГОСТ Р МЭК 60095-2-2010ГОСТ Р МЭК 60095-2-2010ГОСТ Р МЭК 60095-2-2010ГОСТ Р МЭК 60095-2-2010ГОСТ Р МЭК 60095-2-2010ГОСТ Р МЭК 60095-2-2010ГОСТ Р МЭК 60095-2-2010ГОСТ Р МЭК 60095-2-2010ГОСТ Р МЭК 60095-2-2010ГОСТ Р МЭК 60095-2-2010ГОСТ Р МЭК 60095-2-2010ГОСТ Р МЭК 60095-2-2010ГОСТ Р МЭК 60095-2-2010ГОСТ Р МЭК 60095-2-2010ГОСТ Р МЭК 60095-2-2010ГОСТ Р МЭК 60095-2-2010ГОСТ Р МЭК 60095-2-2010ГОСТ Р МЭК 60095-2-2010ГОСТ Р МЭК 60095-2-2010ГОСТ Р МЭК 60095-2-2010ГОСТ Р МЭК 60095-2-2010ГОСТ Р МЭК 60095-2-2010ГОСТ Р МЭК 60095-2-2010ГОСТ Р МЭК 60095-2-2010ГОСТ Р МЭК 60095-2-2010ГОСТ Р МЭК 60095-2-2010ГОСТ Р МЭК 60095-2-2010ГОСТ Р МЭК 60095-2-2010ГОСТ Р МЭК 60095-2-2010ГОСТ Р МЭК 60095-2-2010
 




ГОСТЫ, СТРОИТЕЛЬНЫЕ и ТЕХНИЧЕСКИЕ НОРМАТИВЫ.
Некоммерческая онлайн система, содержащая все Российские Госты, национальные Стандарты и нормативы.
В Системе содержится более 150000 файлов нормативно-технической документации, действующей на территории РФ.
Система предназначена для широкого круга инженерно-технических специалистов.

Рейтинг@Mail.ru Яндекс цитирования

Copyright © www.gostrf.com, 2008 - 2026