Крупнейшая бесплатная информационно-справочная система онлайн доступа к полному собранию технических нормативно-правовых актов РФ. Огромная база технических нормативов (более 150 тысяч документов) и полное собрание национальных стандартов, аутентичное официальной базе Госстандарта. GOSTRF.com - это более 1 Терабайта бесплатной технической информации для всех пользователей интернета. Все электронные копии представленных здесь документов могут распространяться без каких-либо ограничений. Поощряется распространение информации с этого сайта на любых других ресурсах. Каждый человек имеет право на неограниченный доступ к этим документам! Каждый человек имеет право на знание требований, изложенных в данных нормативно-правовых актах!

  


 

ГОСТ Р ИСО 8399-2-2010

Авиация и космонавтика. Присоединения агрегатов к изделию. Вспомогательные приводы и монтажные фланцы (метрическая серия). Часть 2. Размеры

Обозначение:ГОСТ Р ИСО 8399-2-2010
Текущий статус документа: действующий
Название документа рус.:Авиация и космонавтика. Присоединения агрегатов к изделию. Вспомогательные приводы и монтажные фланцы (метрическая серия). Часть 2. Размеры
Название документа англ.:Aerospace. Accessory connection to the product. Accessory drives and mounting flanges (Metric series). Part 2. Dimensions
Дата актуализации текста:01.12.2013
Дата издания:27.05.2011
Дата введения:01.07.2011
Дата последнего изменения:23.05.2013
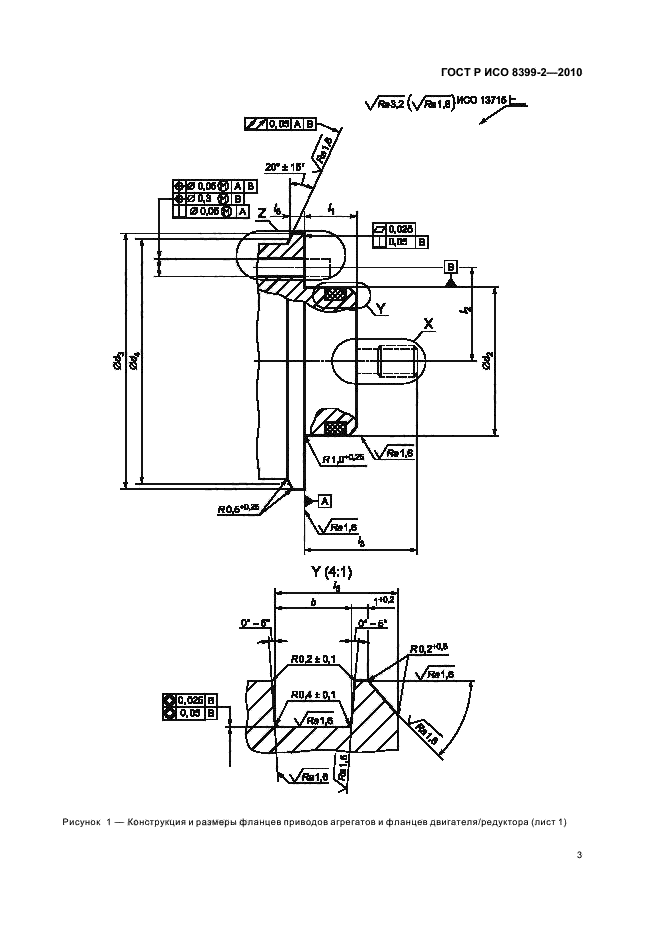
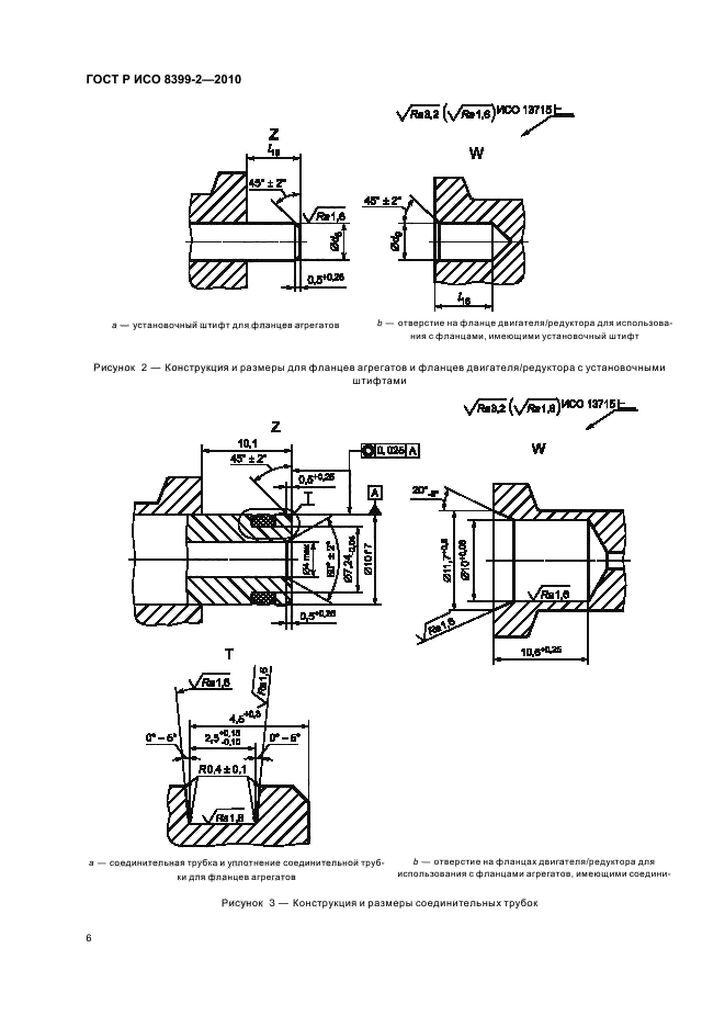
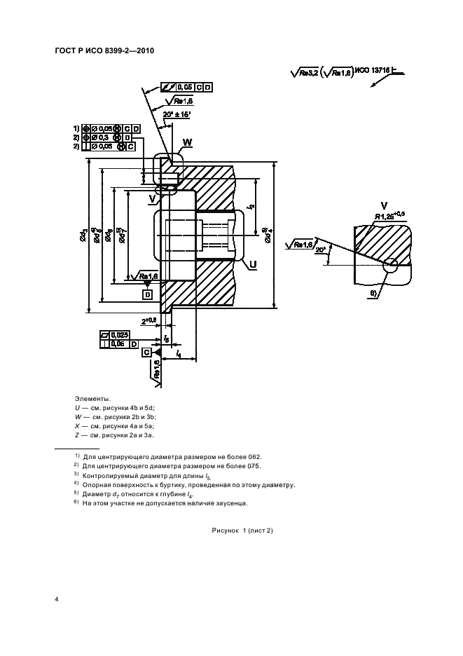
Область применения:В настоящем стандарте установлены размеры фланцев для агрегатов и монтажных фланцев, обеспечивающих возможности быстрого присоединения или отсоединения, предназначенных в основном для использования в авиационных двигателях/редукторах и агрегатах двигателей
ГОСТ Р ИСО 8399-2-2010ГОСТ Р ИСО 8399-2-2010ГОСТ Р ИСО 8399-2-2010ГОСТ Р ИСО 8399-2-2010ГОСТ Р ИСО 8399-2-2010ГОСТ Р ИСО 8399-2-2010ГОСТ Р ИСО 8399-2-2010ГОСТ Р ИСО 8399-2-2010ГОСТ Р ИСО 8399-2-2010ГОСТ Р ИСО 8399-2-2010ГОСТ Р ИСО 8399-2-2010ГОСТ Р ИСО 8399-2-2010ГОСТ Р ИСО 8399-2-2010ГОСТ Р ИСО 8399-2-2010ГОСТ Р ИСО 8399-2-2010ГОСТ Р ИСО 8399-2-2010
 




ГОСТЫ, СТРОИТЕЛЬНЫЕ и ТЕХНИЧЕСКИЕ НОРМАТИВЫ.
Некоммерческая онлайн система, содержащая все Российские Госты, национальные Стандарты и нормативы.
В Системе содержится более 150000 файлов нормативно-технической документации, действующей на территории РФ.
Система предназначена для широкого круга инженерно-технических специалистов.

Рейтинг@Mail.ru Яндекс цитирования

Copyright © www.gostrf.com, 2008 - 2026