Крупнейшая бесплатная информационно-справочная система онлайн доступа к полному собранию технических нормативно-правовых актов РФ. Огромная база технических нормативов (более 150 тысяч документов) и полное собрание национальных стандартов, аутентичное официальной базе Госстандарта. GOSTRF.com - это более 1 Терабайта бесплатной технической информации для всех пользователей интернета. Все электронные копии представленных здесь документов могут распространяться без каких-либо ограничений. Поощряется распространение информации с этого сайта на любых других ресурсах. Каждый человек имеет право на неограниченный доступ к этим документам! Каждый человек имеет право на знание требований, изложенных в данных нормативно-правовых актах!

  


 

ГОСТ Р 9.317-2010

Единая система защиты от коррозии и старения. Покрытия металлические. Методы измерения пластичности

Обозначение:ГОСТ Р 9.317-2010
Текущий статус документа: действующий
Название документа рус.:Единая система защиты от коррозии и старения. Покрытия металлические. Методы измерения пластичности
Название документа англ.:Unified system of corrosion and ageing protection. Metallic coatings. Methods of measuriment of ductility
Дата актуализации текста:01.12.2013
Дата издания:19.12.2011
Дата введения:01.01.2012
Дата последнего изменения:22.05.2013
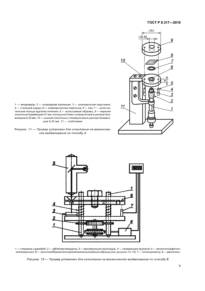
Область применения:Настоящий стандарт распространяется на металлические покрытия толщиной до 200 мм, полученные гальваническим, автокаталитическим осаждением или другими способами, и устанавливает следующие методы измерения пластичности покрытий:
- испытания на свободных покрытиях (отделенных от подложки);
- испытания покрытий на подложках.
Методы испытаний покрытий на подложках используют также для выявления охрупчивания подложки, которое может произойти после нанесения покрытия, например, водородного охрупчивания стали, покрытой цинком
ГОСТ Р 9.317-2010ГОСТ Р 9.317-2010ГОСТ Р 9.317-2010ГОСТ Р 9.317-2010ГОСТ Р 9.317-2010ГОСТ Р 9.317-2010ГОСТ Р 9.317-2010ГОСТ Р 9.317-2010ГОСТ Р 9.317-2010ГОСТ Р 9.317-2010ГОСТ Р 9.317-2010ГОСТ Р 9.317-2010ГОСТ Р 9.317-2010ГОСТ Р 9.317-2010ГОСТ Р 9.317-2010ГОСТ Р 9.317-2010ГОСТ Р 9.317-2010ГОСТ Р 9.317-2010ГОСТ Р 9.317-2010ГОСТ Р 9.317-2010ГОСТ Р 9.317-2010ГОСТ Р 9.317-2010ГОСТ Р 9.317-2010ГОСТ Р 9.317-2010ГОСТ Р 9.317-2010ГОСТ Р 9.317-2010ГОСТ Р 9.317-2010ГОСТ Р 9.317-2010ГОСТ Р 9.317-2010ГОСТ Р 9.317-2010ГОСТ Р 9.317-2010ГОСТ Р 9.317-2010ГОСТ Р 9.317-2010ГОСТ Р 9.317-2010ГОСТ Р 9.317-2010ГОСТ Р 9.317-2010
 




ГОСТЫ, СТРОИТЕЛЬНЫЕ и ТЕХНИЧЕСКИЕ НОРМАТИВЫ.
Некоммерческая онлайн система, содержащая все Российские Госты, национальные Стандарты и нормативы.
В Системе содержится более 150000 файлов нормативно-технической документации, действующей на территории РФ.
Система предназначена для широкого круга инженерно-технических специалистов.

Рейтинг@Mail.ru Яндекс цитирования

Copyright © www.gostrf.com, 2008 - 2026