Крупнейшая бесплатная информационно-справочная система онлайн доступа к полному собранию технических нормативно-правовых актов РФ. Огромная база технических нормативов (более 150 тысяч документов) и полное собрание национальных стандартов, аутентичное официальной базе Госстандарта. GOSTRF.com - это более 1 Терабайта бесплатной технической информации для всех пользователей интернета. Все электронные копии представленных здесь документов могут распространяться без каких-либо ограничений. Поощряется распространение информации с этого сайта на любых других ресурсах. Каждый человек имеет право на неограниченный доступ к этим документам! Каждый человек имеет право на знание требований, изложенных в данных нормативно-правовых актах!

  


 

ГОСТ 12248-2010

Грунты. Методы лабораторного определения характеристик прочности и деформируемости

Обозначение:ГОСТ 12248-2010
Текущий статус документа: действующий
Название документа рус.:Грунты. Методы лабораторного определения характеристик прочности и деформируемости
Название документа англ.:Soils. Laboratory methods for determining the strength and strain characteristics
Дата актуализации текста:01.12.2013
Дата издания:29.11.2011
Дата введения:01.01.2012
Дата последнего изменения:22.05.2013
Взамен::
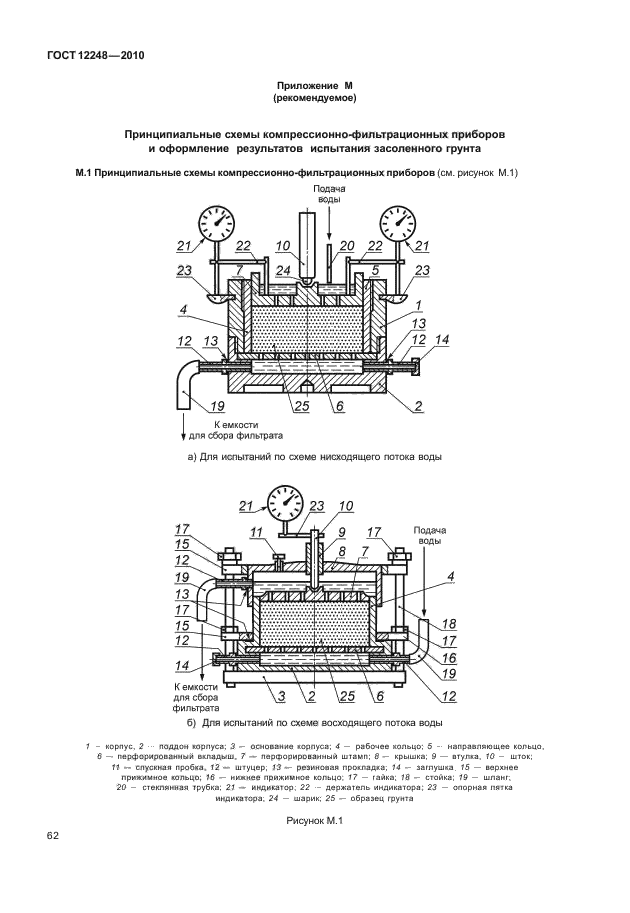
Область применения:Настоящий стандарт устанавливает методы лабораторного определения характеристик прочности и деформируемости полускальных, дисперсных и мерзлых грунтов при их исследовании для строительства
Список изменений:№0 от 20.09.2012 (рег. 20.09.2012) «Дата введения перенесена»
№0 от 20.09.2012 (рег. 20.09.2012) «Дата введения перенесена»
Приложение №1:Поправка к ГОСТ 12248-2010
ГОСТ 12248-2010ГОСТ 12248-2010ГОСТ 12248-2010ГОСТ 12248-2010ГОСТ 12248-2010ГОСТ 12248-2010ГОСТ 12248-2010ГОСТ 12248-2010ГОСТ 12248-2010ГОСТ 12248-2010ГОСТ 12248-2010ГОСТ 12248-2010ГОСТ 12248-2010ГОСТ 12248-2010ГОСТ 12248-2010ГОСТ 12248-2010ГОСТ 12248-2010ГОСТ 12248-2010ГОСТ 12248-2010ГОСТ 12248-2010ГОСТ 12248-2010ГОСТ 12248-2010ГОСТ 12248-2010ГОСТ 12248-2010ГОСТ 12248-2010ГОСТ 12248-2010ГОСТ 12248-2010ГОСТ 12248-2010ГОСТ 12248-2010ГОСТ 12248-2010ГОСТ 12248-2010ГОСТ 12248-2010ГОСТ 12248-2010ГОСТ 12248-2010ГОСТ 12248-2010ГОСТ 12248-2010ГОСТ 12248-2010ГОСТ 12248-2010ГОСТ 12248-2010ГОСТ 12248-2010ГОСТ 12248-2010ГОСТ 12248-2010ГОСТ 12248-2010ГОСТ 12248-2010ГОСТ 12248-2010ГОСТ 12248-2010ГОСТ 12248-2010ГОСТ 12248-2010ГОСТ 12248-2010ГОСТ 12248-2010ГОСТ 12248-2010ГОСТ 12248-2010ГОСТ 12248-2010ГОСТ 12248-2010ГОСТ 12248-2010ГОСТ 12248-2010ГОСТ 12248-2010ГОСТ 12248-2010ГОСТ 12248-2010ГОСТ 12248-2010ГОСТ 12248-2010ГОСТ 12248-2010ГОСТ 12248-2010ГОСТ 12248-2010ГОСТ 12248-2010ГОСТ 12248-2010ГОСТ 12248-2010ГОСТ 12248-2010ГОСТ 12248-2010ГОСТ 12248-2010ГОСТ 12248-2010ГОСТ 12248-2010ГОСТ 12248-2010ГОСТ 12248-2010ГОСТ 12248-2010ГОСТ 12248-2010ГОСТ 12248-2010ГОСТ 12248-2010ГОСТ 12248-2010ГОСТ 12248-2010ГОСТ 12248-2010ГОСТ 12248-2010ГОСТ 12248-2010

Поправка к ГОСТ 12248-2010

Обозначение:Поправка к ГОСТ 12248-2010
Дата введения:20.09.2012


Поправка к ГОСТ 12248-2010
 




ГОСТЫ, СТРОИТЕЛЬНЫЕ и ТЕХНИЧЕСКИЕ НОРМАТИВЫ.
Некоммерческая онлайн система, содержащая все Российские Госты, национальные Стандарты и нормативы.
В Системе содержится более 150000 файлов нормативно-технической документации, действующей на территории РФ.
Система предназначена для широкого круга инженерно-технических специалистов.

Рейтинг@Mail.ru Яндекс цитирования

Copyright © www.gostrf.com, 2008 - 2026