Крупнейшая бесплатная информационно-справочная система онлайн доступа к полному собранию технических нормативно-правовых актов РФ. Огромная база технических нормативов (более 150 тысяч документов) и полное собрание национальных стандартов, аутентичное официальной базе Госстандарта. GOSTRF.com - это более 1 Терабайта бесплатной технической информации для всех пользователей интернета. Все электронные копии представленных здесь документов могут распространяться без каких-либо ограничений. Поощряется распространение информации с этого сайта на любых других ресурсах. Каждый человек имеет право на неограниченный доступ к этим документам! Каждый человек имеет право на знание требований, изложенных в данных нормативно-правовых актах!

  


 

ГОСТ 3.1103-2011

Единая система технологической документации. Основные надписи. Общие положения

Обозначение:ГОСТ 3.1103-2011
Текущий статус документа: действующий
Название документа рус.:Единая система технологической документации. Основные надписи. Общие положения
Название документа англ.:Unified system of technological documentation. Basic inscriptions. General principles
Дата актуализации текста:01.12.2013
Дата издания:22.12.2011
Дата введения:01.01.2012
Дата последнего изменения:22.05.2013
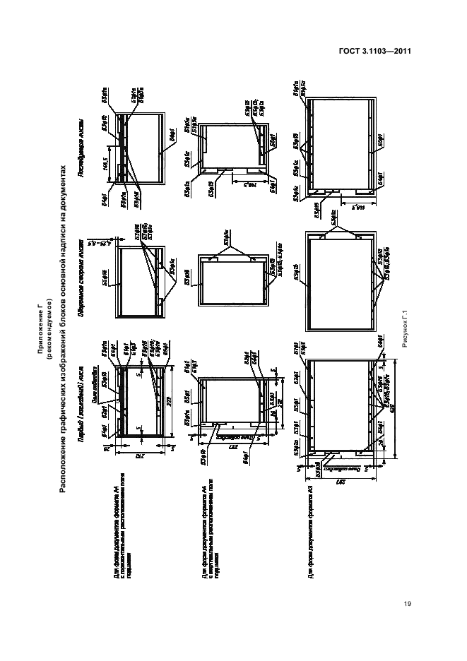
Область применения:Настоящий стандарт устанавливает состав, размеры, формы, правила оформления и расположения информационных блоков основной надписи и поля подшивки в формах технологических документов, а также номенклатуру реквизитов (атрибутов) и правила указания их значений в информационных блоках.
На основании настоящего стандарта допускается, при необходимости, разрабатывать стандарты, отражающие номенклатуру реквизитов и атрибутов и особенности указания их значений при оформлении технологических документов
ГОСТ 3.1103-2011ГОСТ 3.1103-2011ГОСТ 3.1103-2011ГОСТ 3.1103-2011ГОСТ 3.1103-2011ГОСТ 3.1103-2011ГОСТ 3.1103-2011ГОСТ 3.1103-2011ГОСТ 3.1103-2011ГОСТ 3.1103-2011ГОСТ 3.1103-2011ГОСТ 3.1103-2011ГОСТ 3.1103-2011ГОСТ 3.1103-2011ГОСТ 3.1103-2011ГОСТ 3.1103-2011ГОСТ 3.1103-2011ГОСТ 3.1103-2011ГОСТ 3.1103-2011ГОСТ 3.1103-2011ГОСТ 3.1103-2011ГОСТ 3.1103-2011ГОСТ 3.1103-2011ГОСТ 3.1103-2011
 




ГОСТЫ, СТРОИТЕЛЬНЫЕ и ТЕХНИЧЕСКИЕ НОРМАТИВЫ.
Некоммерческая онлайн система, содержащая все Российские Госты, национальные Стандарты и нормативы.
В Системе содержится более 150000 файлов нормативно-технической документации, действующей на территории РФ.
Система предназначена для широкого круга инженерно-технических специалистов.

Рейтинг@Mail.ru Яндекс цитирования

Copyright © www.gostrf.com, 2008 - 2026