Крупнейшая бесплатная информационно-справочная система онлайн доступа к полному собранию технических нормативно-правовых актов РФ. Огромная база технических нормативов (более 150 тысяч документов) и полное собрание национальных стандартов, аутентичное официальной базе Госстандарта. GOSTRF.com - это более 1 Терабайта бесплатной технической информации для всех пользователей интернета. Все электронные копии представленных здесь документов могут распространяться без каких-либо ограничений. Поощряется распространение информации с этого сайта на любых других ресурсах. Каждый человек имеет право на неограниченный доступ к этим документам! Каждый человек имеет право на знание требований, изложенных в данных нормативно-правовых актах!

  


 

ГОСТ Р 54321-2011

Машины и оборудование для пищевой промышленности. Центрифуги для производства пищевых растительных масел и жиров. Требования по безопасности и гигиене

Обозначение:ГОСТ Р 54321-2011
Текущий статус документа: действующий
Название документа рус.:Машины и оборудование для пищевой промышленности. Центрифуги для производства пищевых растительных масел и жиров. Требования по безопасности и гигиене
Название документа англ.:Food processing machinery. Centrifugal machines for processing edible oils and fats. Safety and hygiene requirements
Дата актуализации текста:01.12.2013
Дата издания:14.02.2012
Дата введения:01.07.2012
Дата последнего изменения:22.05.2013
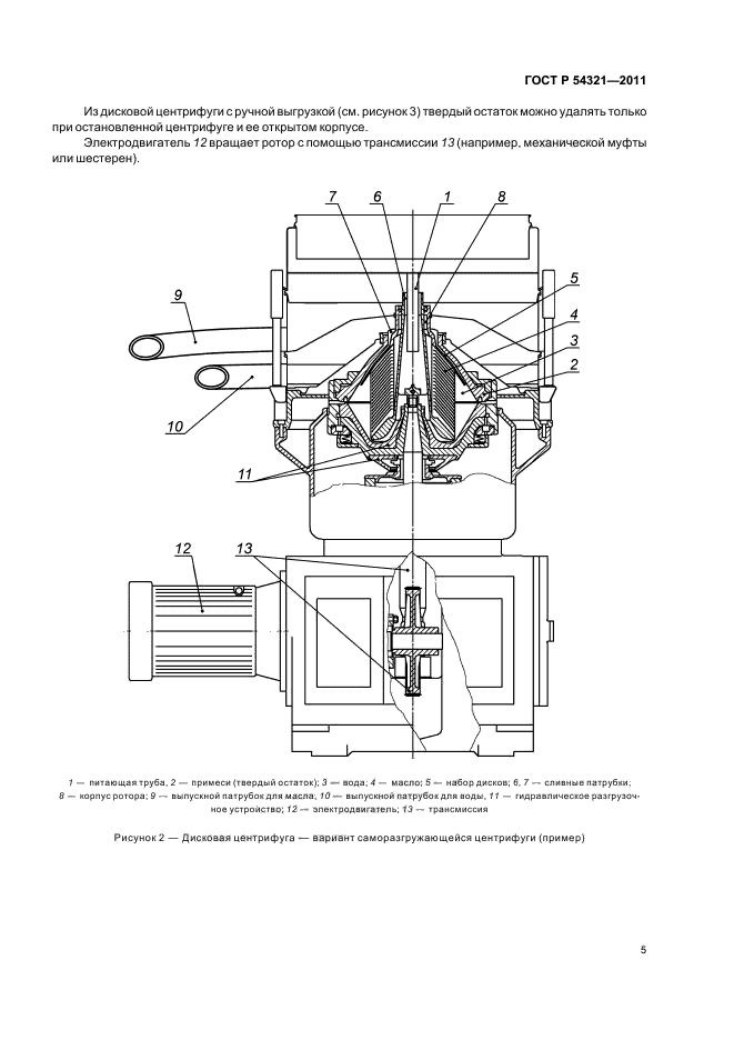
Область применения:Стандарт определяет все существенные опасности, выявленные при оценке рисков, которые перечислены в пункте 5 стандарта, в отношении центрифуг для производства пищевых растительных масел и жиров, используемых по назначению и в условиях, оговоренных изготовителем.
Стандарт содержит требования по безопасности и гигиене при конструировании, изготовлении, эксплуатации, обслуживании и очистке центрифуг.
Стандарт не распространяется на центрифуги, используемые при экстракции растворителями, и на вспомогательное оборудование (например, транспортеры, бункеры и т. д.).
Стандарт не распространяется также на «корзиночные» центрифуги, в которых разделяемый материал помещается в специальные контейнеры (кассеты).
Стандарт применим совместно с ГОСТ 24885 только к центрифугам, выпущенным после даты его выхода
ГОСТ Р 54321-2011ГОСТ Р 54321-2011ГОСТ Р 54321-2011ГОСТ Р 54321-2011ГОСТ Р 54321-2011ГОСТ Р 54321-2011ГОСТ Р 54321-2011ГОСТ Р 54321-2011ГОСТ Р 54321-2011ГОСТ Р 54321-2011ГОСТ Р 54321-2011ГОСТ Р 54321-2011ГОСТ Р 54321-2011ГОСТ Р 54321-2011ГОСТ Р 54321-2011ГОСТ Р 54321-2011ГОСТ Р 54321-2011ГОСТ Р 54321-2011ГОСТ Р 54321-2011ГОСТ Р 54321-2011ГОСТ Р 54321-2011ГОСТ Р 54321-2011ГОСТ Р 54321-2011ГОСТ Р 54321-2011ГОСТ Р 54321-2011ГОСТ Р 54321-2011ГОСТ Р 54321-2011ГОСТ Р 54321-2011ГОСТ Р 54321-2011ГОСТ Р 54321-2011ГОСТ Р 54321-2011ГОСТ Р 54321-2011ГОСТ Р 54321-2011ГОСТ Р 54321-2011ГОСТ Р 54321-2011ГОСТ Р 54321-2011ГОСТ Р 54321-2011ГОСТ Р 54321-2011ГОСТ Р 54321-2011ГОСТ Р 54321-2011
 




ГОСТЫ, СТРОИТЕЛЬНЫЕ и ТЕХНИЧЕСКИЕ НОРМАТИВЫ.
Некоммерческая онлайн система, содержащая все Российские Госты, национальные Стандарты и нормативы.
В Системе содержится более 150000 файлов нормативно-технической документации, действующей на территории РФ.
Система предназначена для широкого круга инженерно-технических специалистов.

Рейтинг@Mail.ru Яндекс цитирования

Copyright © www.gostrf.com, 2008 - 2026