Крупнейшая бесплатная информационно-справочная система онлайн доступа к полному собранию технических нормативно-правовых актов РФ. Огромная база технических нормативов (более 150 тысяч документов) и полное собрание национальных стандартов, аутентичное официальной базе Госстандарта. GOSTRF.com - это более 1 Терабайта бесплатной технической информации для всех пользователей интернета. Все электронные копии представленных здесь документов могут распространяться без каких-либо ограничений. Поощряется распространение информации с этого сайта на любых других ресурсах. Каждый человек имеет право на неограниченный доступ к этим документам! Каждый человек имеет право на знание требований, изложенных в данных нормативно-правовых актах!

  


 

ГОСТ Р 54364-2011

Низковольтные источники питания постоянного тока. Эксплуатационные характеристики

Обозначение:ГОСТ Р 54364-2011
Текущий статус документа: действующий
Название документа рус.:Низковольтные источники питания постоянного тока. Эксплуатационные характеристики
Название документа англ.:Low-voltage power supply devices, d.c. output. Performance characteristics
Дата актуализации текста:01.12.2013
Дата издания:26.01.2012
Дата введения:01.01.2013
Дата последнего изменения:22.05.2013
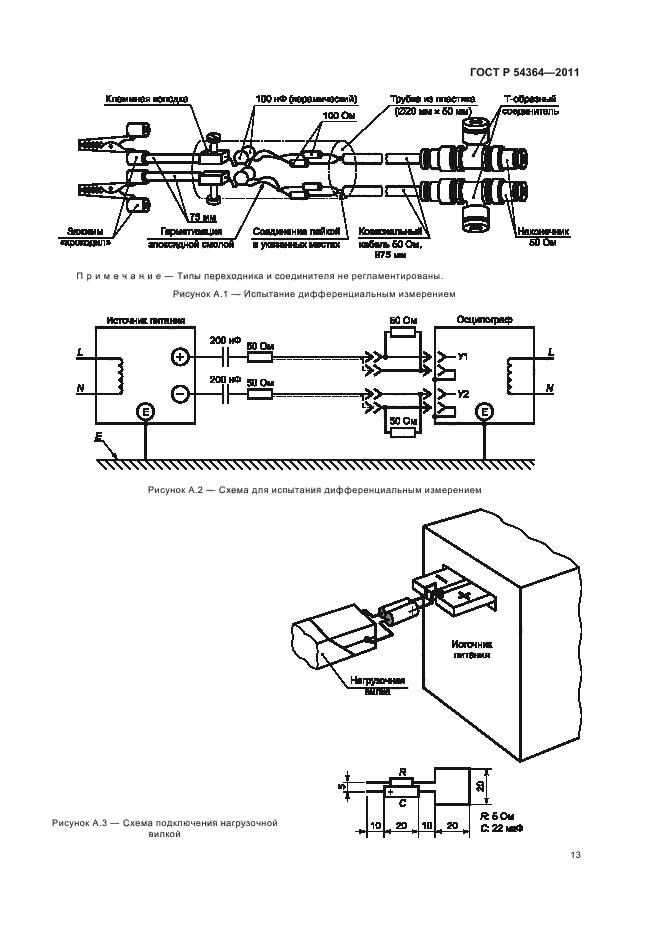
Область применения:Настоящий стандарт устанавливает требования к низковольтным источникам питания, в том числе к импульсным источникам питания, с выходным напряжением до 200 В постоянного тока и мощностью до 30 кВт при питающем напряжении переменного или постоянного тока до 600 В, предназначенным для использования в оборудовании класса I или для автономной работы при наличии соответствующей электрической и механической защиты.
Настоящий стандарт распространяется на источники питания, предназначенные для широкого применения, с любым числом выходов и всеми типами источников электропитания переменного или постоянного тока, от которых они функционируют
ГОСТ Р 54364-2011ГОСТ Р 54364-2011ГОСТ Р 54364-2011ГОСТ Р 54364-2011ГОСТ Р 54364-2011ГОСТ Р 54364-2011ГОСТ Р 54364-2011ГОСТ Р 54364-2011ГОСТ Р 54364-2011ГОСТ Р 54364-2011ГОСТ Р 54364-2011ГОСТ Р 54364-2011ГОСТ Р 54364-2011ГОСТ Р 54364-2011ГОСТ Р 54364-2011ГОСТ Р 54364-2011ГОСТ Р 54364-2011ГОСТ Р 54364-2011ГОСТ Р 54364-2011ГОСТ Р 54364-2011ГОСТ Р 54364-2011ГОСТ Р 54364-2011ГОСТ Р 54364-2011ГОСТ Р 54364-2011
 




ГОСТЫ, СТРОИТЕЛЬНЫЕ и ТЕХНИЧЕСКИЕ НОРМАТИВЫ.
Некоммерческая онлайн система, содержащая все Российские Госты, национальные Стандарты и нормативы.
В Системе содержится более 150000 файлов нормативно-технической документации, действующей на территории РФ.
Система предназначена для широкого круга инженерно-технических специалистов.

Рейтинг@Mail.ru Яндекс цитирования

Copyright © www.gostrf.com, 2008 - 2026