Крупнейшая бесплатная информационно-справочная система онлайн доступа к полному собранию технических нормативно-правовых актов РФ. Огромная база технических нормативов (более 150 тысяч документов) и полное собрание национальных стандартов, аутентичное официальной базе Госстандарта. GOSTRF.com - это более 1 Терабайта бесплатной технической информации для всех пользователей интернета. Все электронные копии представленных здесь документов могут распространяться без каких-либо ограничений. Поощряется распространение информации с этого сайта на любых других ресурсах. Каждый человек имеет право на неограниченный доступ к этим документам! Каждый человек имеет право на знание требований, изложенных в данных нормативно-правовых актах!

  


 

ГОСТ Р ЕН 13060-2011

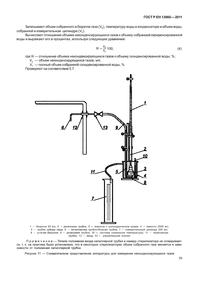
Стерилизаторы паровые малые

Обозначение:ГОСТ Р ЕН 13060-2011
Текущий статус документа: действующий
Название документа рус.:Стерилизаторы паровые малые
Название документа англ.:Small steam sterilizers
Дата актуализации текста:01.12.2013
Дата издания:20.01.2012
Дата введения:01.03.2012
Дата последнего изменения:22.05.2013
Область применения:Настоящий стандарт определяет требования к рабочим характеристикам и методам испытаний малых паровых стерилизаторов, используемых для медицинских целей или для материалов, для которых существует вероятность контакта с кровью или жидкостями организма.
Настоящий стандарт распространяется на малые паровые стерилизаторы с автоматическим управлением, в которых пар вырабатывается с помощью электрических нагревателей или используется пар, генерируемый внешней относительно стерилизатора системой.
Настоящий стандарт распространяется на малые паровые стерилизаторы, используемые главным образом для стерилизации медицинских изделий, не способные вместить стерилизационный модуль (300 х 300 х 600 мм) и имеющие камеру объемом не более 60 л.
Настоящий стандарт не распространяется на малые паровые стерилизаторы, используемые для стерилизации жидкостей или фармацевтических продуктов.
Настоящий стандарт не определяет требований техники безопасности, относящихся к опасностям, связанным с зоной, в которой используется стерилизатор (например, к легковоспламеняющимся газам).
Настоящий стандарт не определяет требований к проверке и текущему контролю стерилизации посредством влажного тепла
ГОСТ Р ЕН 13060-2011ГОСТ Р ЕН 13060-2011ГОСТ Р ЕН 13060-2011ГОСТ Р ЕН 13060-2011ГОСТ Р ЕН 13060-2011ГОСТ Р ЕН 13060-2011ГОСТ Р ЕН 13060-2011ГОСТ Р ЕН 13060-2011ГОСТ Р ЕН 13060-2011ГОСТ Р ЕН 13060-2011ГОСТ Р ЕН 13060-2011ГОСТ Р ЕН 13060-2011ГОСТ Р ЕН 13060-2011ГОСТ Р ЕН 13060-2011ГОСТ Р ЕН 13060-2011ГОСТ Р ЕН 13060-2011ГОСТ Р ЕН 13060-2011ГОСТ Р ЕН 13060-2011ГОСТ Р ЕН 13060-2011ГОСТ Р ЕН 13060-2011ГОСТ Р ЕН 13060-2011ГОСТ Р ЕН 13060-2011ГОСТ Р ЕН 13060-2011ГОСТ Р ЕН 13060-2011ГОСТ Р ЕН 13060-2011ГОСТ Р ЕН 13060-2011ГОСТ Р ЕН 13060-2011ГОСТ Р ЕН 13060-2011ГОСТ Р ЕН 13060-2011ГОСТ Р ЕН 13060-2011ГОСТ Р ЕН 13060-2011ГОСТ Р ЕН 13060-2011ГОСТ Р ЕН 13060-2011ГОСТ Р ЕН 13060-2011ГОСТ Р ЕН 13060-2011ГОСТ Р ЕН 13060-2011ГОСТ Р ЕН 13060-2011ГОСТ Р ЕН 13060-2011ГОСТ Р ЕН 13060-2011ГОСТ Р ЕН 13060-2011ГОСТ Р ЕН 13060-2011ГОСТ Р ЕН 13060-2011ГОСТ Р ЕН 13060-2011ГОСТ Р ЕН 13060-2011ГОСТ Р ЕН 13060-2011ГОСТ Р ЕН 13060-2011ГОСТ Р ЕН 13060-2011ГОСТ Р ЕН 13060-2011ГОСТ Р ЕН 13060-2011ГОСТ Р ЕН 13060-2011ГОСТ Р ЕН 13060-2011ГОСТ Р ЕН 13060-2011ГОСТ Р ЕН 13060-2011ГОСТ Р ЕН 13060-2011
 




ГОСТЫ, СТРОИТЕЛЬНЫЕ и ТЕХНИЧЕСКИЕ НОРМАТИВЫ.
Некоммерческая онлайн система, содержащая все Российские Госты, национальные Стандарты и нормативы.
В Системе содержится более 150000 файлов нормативно-технической документации, действующей на территории РФ.
Система предназначена для широкого круга инженерно-технических специалистов.

Рейтинг@Mail.ru Яндекс цитирования

Copyright © www.gostrf.com, 2008 - 2026