Крупнейшая бесплатная информационно-справочная система онлайн доступа к полному собранию технических нормативно-правовых актов РФ. Огромная база технических нормативов (более 150 тысяч документов) и полное собрание национальных стандартов, аутентичное официальной базе Госстандарта. GOSTRF.com - это более 1 Терабайта бесплатной технической информации для всех пользователей интернета. Все электронные копии представленных здесь документов могут распространяться без каких-либо ограничений. Поощряется распространение информации с этого сайта на любых других ресурсах. Каждый человек имеет право на неограниченный доступ к этим документам! Каждый человек имеет право на знание требований, изложенных в данных нормативно-правовых актах!

  


 

ГОСТ Р 53737-2009

Нефтяная и газовая промышленность. Поршневые компрессоры. Общие технические требования

Обозначение:ГОСТ Р 53737-2009
Текущий статус документа: действующий
Название документа рус.:Нефтяная и газовая промышленность. Поршневые компрессоры. Общие технические требования
Название документа англ.:Petroleum and natural gas industries. Reciprocating compressors. General technical requirements
Дата актуализации текста:01.12.2013
Дата издания:30.03.2012
Дата введения:01.01.2011
Дата последнего изменения:15.07.2013
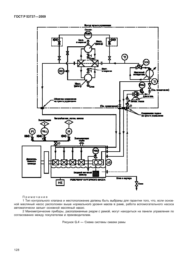
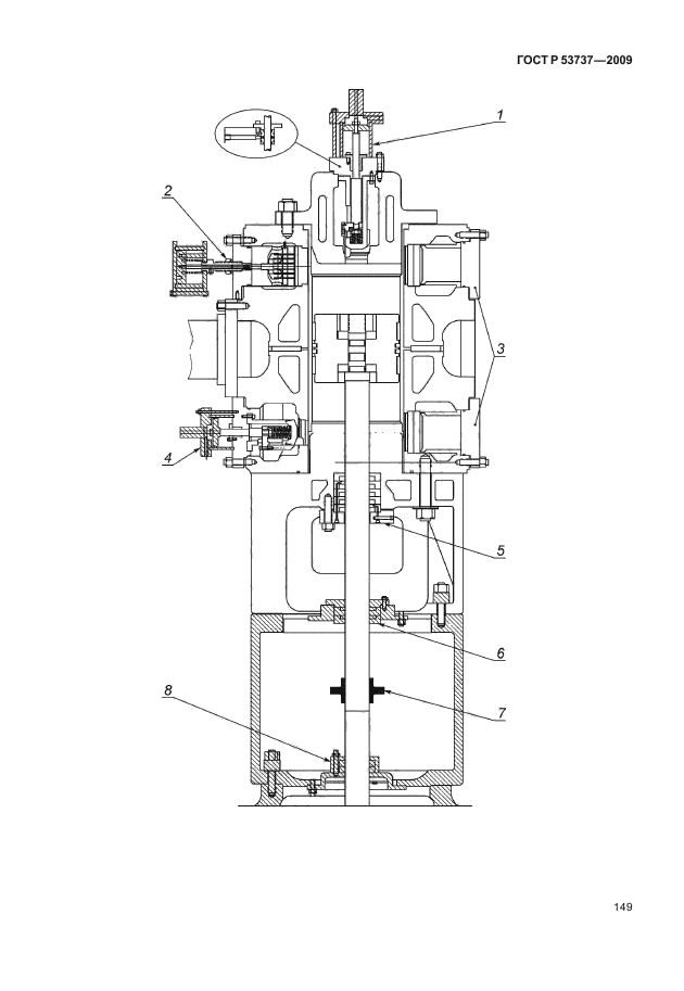
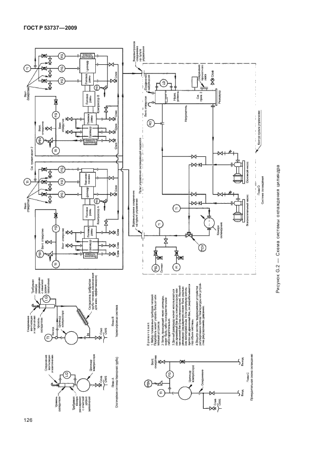
Область применения:Настоящий стандарт содержит минимальные требования для поршневых компрессоров и приводов к ним, используемых в нефтяной и газовой промышленности с цилиндрами со смазкой и без смазки. Настоящий стандарт может также по договоренности использоваться в других отраслях. Компрессоры, подпадающие под настоящий стандарт, включают в свой диапазон скорости от средней до низкой и пригодны для работы в экстремальных условиях. Сюда также включены относящиеся к ним системы подачи смазки, средства управления, контрольно-измерительная аппаратура, промежуточные охладители, выходные холодильники, устройства для подавления пульсации и другое оборудование. Сюда не входят встроенные газомоторные компрессорные агрегаты, блочные высокоскоростные съемные поршневые газовые компрессоры с механическим приводом, компрессоры с самодвижущимися поршнями однократного действия резиновой манжетой, которые служат также в качестве ползунов, общестанционные воздушные компрессоры или компрессоры воздуха КИП и А, которые разрежаются с манометрическим давлением 9 бар и ниже.
Сюда также не входят приводы газовых и паровых двигателей
ГОСТ Р 53737-2009ГОСТ Р 53737-2009ГОСТ Р 53737-2009ГОСТ Р 53737-2009ГОСТ Р 53737-2009ГОСТ Р 53737-2009ГОСТ Р 53737-2009ГОСТ Р 53737-2009ГОСТ Р 53737-2009ГОСТ Р 53737-2009ГОСТ Р 53737-2009ГОСТ Р 53737-2009ГОСТ Р 53737-2009ГОСТ Р 53737-2009ГОСТ Р 53737-2009ГОСТ Р 53737-2009ГОСТ Р 53737-2009ГОСТ Р 53737-2009ГОСТ Р 53737-2009ГОСТ Р 53737-2009ГОСТ Р 53737-2009ГОСТ Р 53737-2009ГОСТ Р 53737-2009ГОСТ Р 53737-2009ГОСТ Р 53737-2009ГОСТ Р 53737-2009ГОСТ Р 53737-2009ГОСТ Р 53737-2009ГОСТ Р 53737-2009ГОСТ Р 53737-2009ГОСТ Р 53737-2009ГОСТ Р 53737-2009ГОСТ Р 53737-2009ГОСТ Р 53737-2009ГОСТ Р 53737-2009ГОСТ Р 53737-2009ГОСТ Р 53737-2009ГОСТ Р 53737-2009ГОСТ Р 53737-2009ГОСТ Р 53737-2009ГОСТ Р 53737-2009ГОСТ Р 53737-2009ГОСТ Р 53737-2009ГОСТ Р 53737-2009ГОСТ Р 53737-2009ГОСТ Р 53737-2009ГОСТ Р 53737-2009ГОСТ Р 53737-2009ГОСТ Р 53737-2009ГОСТ Р 53737-2009ГОСТ Р 53737-2009ГОСТ Р 53737-2009ГОСТ Р 53737-2009ГОСТ Р 53737-2009ГОСТ Р 53737-2009ГОСТ Р 53737-2009ГОСТ Р 53737-2009ГОСТ Р 53737-2009ГОСТ Р 53737-2009ГОСТ Р 53737-2009ГОСТ Р 53737-2009ГОСТ Р 53737-2009ГОСТ Р 53737-2009ГОСТ Р 53737-2009ГОСТ Р 53737-2009ГОСТ Р 53737-2009ГОСТ Р 53737-2009ГОСТ Р 53737-2009ГОСТ Р 53737-2009ГОСТ Р 53737-2009ГОСТ Р 53737-2009ГОСТ Р 53737-2009ГОСТ Р 53737-2009ГОСТ Р 53737-2009ГОСТ Р 53737-2009ГОСТ Р 53737-2009ГОСТ Р 53737-2009ГОСТ Р 53737-2009ГОСТ Р 53737-2009ГОСТ Р 53737-2009ГОСТ Р 53737-2009ГОСТ Р 53737-2009ГОСТ Р 53737-2009ГОСТ Р 53737-2009ГОСТ Р 53737-2009ГОСТ Р 53737-2009ГОСТ Р 53737-2009ГОСТ Р 53737-2009ГОСТ Р 53737-2009ГОСТ Р 53737-2009ГОСТ Р 53737-2009ГОСТ Р 53737-2009ГОСТ Р 53737-2009ГОСТ Р 53737-2009ГОСТ Р 53737-2009ГОСТ Р 53737-2009ГОСТ Р 53737-2009ГОСТ Р 53737-2009ГОСТ Р 53737-2009ГОСТ Р 53737-2009ГОСТ Р 53737-2009ГОСТ Р 53737-2009ГОСТ Р 53737-2009ГОСТ Р 53737-2009ГОСТ Р 53737-2009ГОСТ Р 53737-2009ГОСТ Р 53737-2009ГОСТ Р 53737-2009ГОСТ Р 53737-2009ГОСТ Р 53737-2009ГОСТ Р 53737-2009ГОСТ Р 53737-2009ГОСТ Р 53737-2009ГОСТ Р 53737-2009ГОСТ Р 53737-2009ГОСТ Р 53737-2009ГОСТ Р 53737-2009ГОСТ Р 53737-2009ГОСТ Р 53737-2009ГОСТ Р 53737-2009ГОСТ Р 53737-2009ГОСТ Р 53737-2009ГОСТ Р 53737-2009ГОСТ Р 53737-2009ГОСТ Р 53737-2009ГОСТ Р 53737-2009ГОСТ Р 53737-2009ГОСТ Р 53737-2009ГОСТ Р 53737-2009ГОСТ Р 53737-2009ГОСТ Р 53737-2009ГОСТ Р 53737-2009ГОСТ Р 53737-2009ГОСТ Р 53737-2009ГОСТ Р 53737-2009ГОСТ Р 53737-2009ГОСТ Р 53737-2009ГОСТ Р 53737-2009ГОСТ Р 53737-2009ГОСТ Р 53737-2009ГОСТ Р 53737-2009ГОСТ Р 53737-2009ГОСТ Р 53737-2009ГОСТ Р 53737-2009ГОСТ Р 53737-2009ГОСТ Р 53737-2009ГОСТ Р 53737-2009ГОСТ Р 53737-2009ГОСТ Р 53737-2009ГОСТ Р 53737-2009ГОСТ Р 53737-2009ГОСТ Р 53737-2009ГОСТ Р 53737-2009ГОСТ Р 53737-2009ГОСТ Р 53737-2009ГОСТ Р 53737-2009ГОСТ Р 53737-2009ГОСТ Р 53737-2009ГОСТ Р 53737-2009ГОСТ Р 53737-2009ГОСТ Р 53737-2009ГОСТ Р 53737-2009
 




ГОСТЫ, СТРОИТЕЛЬНЫЕ и ТЕХНИЧЕСКИЕ НОРМАТИВЫ.
Некоммерческая онлайн система, содержащая все Российские Госты, национальные Стандарты и нормативы.
В Системе содержится более 150000 файлов нормативно-технической документации, действующей на территории РФ.
Система предназначена для широкого круга инженерно-технических специалистов.

Рейтинг@Mail.ru Яндекс цитирования

Copyright © www.gostrf.com, 2008 - 2026