Крупнейшая бесплатная информационно-справочная система онлайн доступа к полному собранию технических нормативно-правовых актов РФ. Огромная база технических нормативов (более 150 тысяч документов) и полное собрание национальных стандартов, аутентичное официальной базе Госстандарта. GOSTRF.com - это более 1 Терабайта бесплатной технической информации для всех пользователей интернета. Все электронные копии представленных здесь документов могут распространяться без каких-либо ограничений. Поощряется распространение информации с этого сайта на любых других ресурсах. Каждый человек имеет право на неограниченный доступ к этим документам! Каждый человек имеет право на знание требований, изложенных в данных нормативно-правовых актах!

  


 

ГОСТ Р ИСО 3679-2010

Метиловые эфиры жирных кислот (FAME). Ускоренный метод определения температуры вспышки в равновесных условиях в закрытом тигле

Обозначение:ГОСТ Р ИСО 3679-2010
Текущий статус документа: действующий
Название документа рус.:Метиловые эфиры жирных кислот (FAME). Ускоренный метод определения температуры вспышки в равновесных условиях в закрытом тигле
Название документа англ.:Methyl esters of fatty acids (FAME). Rapid equilibrium closed cup method of flash point determination
Дата актуализации текста:01.12.2013
Дата издания:12.04.2012
Дата введения:01.07.2012
Дата последнего изменения:22.05.2013
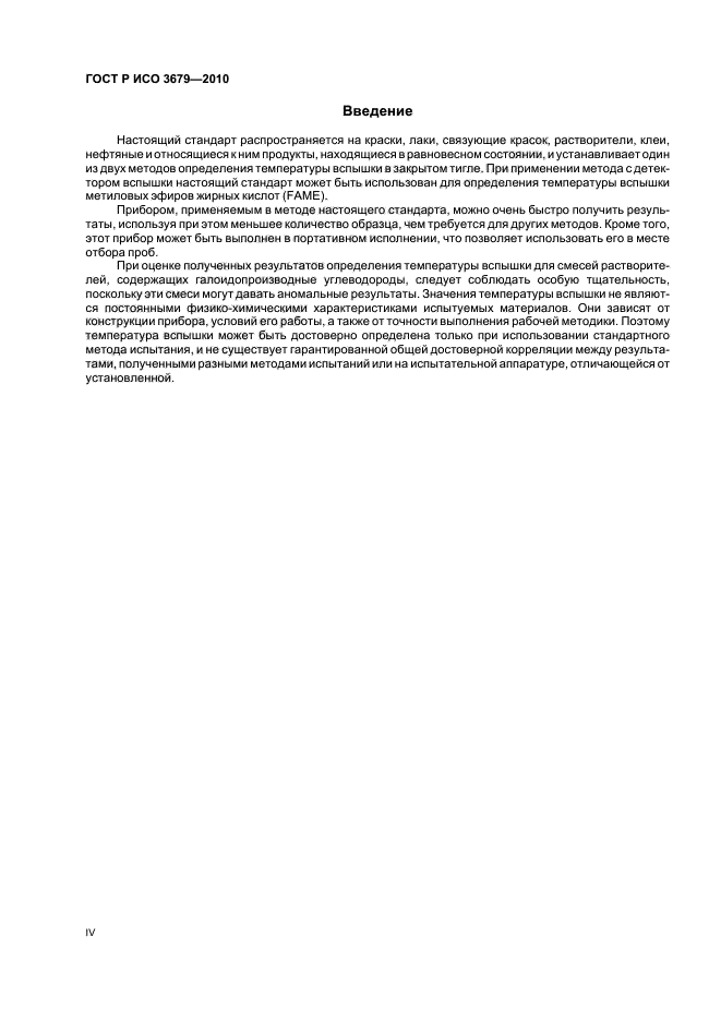
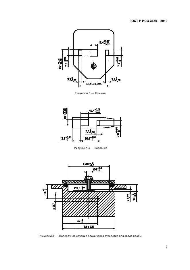
Область применения:Настоящий стандарт распространяется на краски (включая водорастворимые краски), лаки, связующие красок, растворители, клеи, нефтяные и относящиеся к ним продукты и устанавливает метод определения температуры вспышки в закрытом тигле в интервале от минус 30 град. С до плюс 300 град. С. При применении метода с детектором вспышки настоящий стандарт можно применять для определения температуры вспышки метиловых эфиров жирных кислот (FAME)
ГОСТ Р ИСО 3679-2010ГОСТ Р ИСО 3679-2010ГОСТ Р ИСО 3679-2010ГОСТ Р ИСО 3679-2010ГОСТ Р ИСО 3679-2010ГОСТ Р ИСО 3679-2010ГОСТ Р ИСО 3679-2010ГОСТ Р ИСО 3679-2010ГОСТ Р ИСО 3679-2010ГОСТ Р ИСО 3679-2010ГОСТ Р ИСО 3679-2010ГОСТ Р ИСО 3679-2010ГОСТ Р ИСО 3679-2010ГОСТ Р ИСО 3679-2010ГОСТ Р ИСО 3679-2010ГОСТ Р ИСО 3679-2010ГОСТ Р ИСО 3679-2010ГОСТ Р ИСО 3679-2010ГОСТ Р ИСО 3679-2010ГОСТ Р ИСО 3679-2010
 




ГОСТЫ, СТРОИТЕЛЬНЫЕ и ТЕХНИЧЕСКИЕ НОРМАТИВЫ.
Некоммерческая онлайн система, содержащая все Российские Госты, национальные Стандарты и нормативы.
В Системе содержится более 150000 файлов нормативно-технической документации, действующей на территории РФ.
Система предназначена для широкого круга инженерно-технических специалистов.

Рейтинг@Mail.ru Яндекс цитирования

Copyright © www.gostrf.com, 2008 - 2026