| |
ГОСТ Р 54432-2011Фланцы арматуры, соединительных частей и трубопроводов на номинальное давление от PN 1 до PN 200. Конструкция, размеры и общие технические требования
| Обозначение: | ГОСТ Р 54432-2011 |
| Текущий статус документа: | действующий |
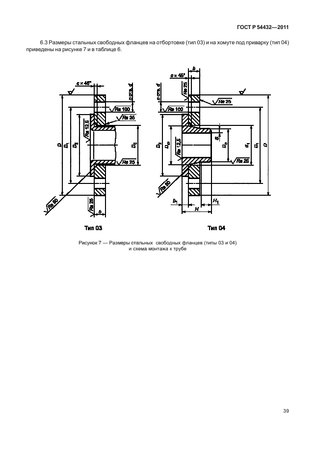
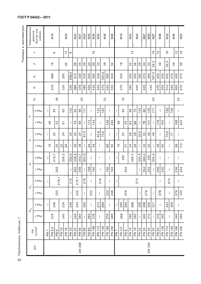
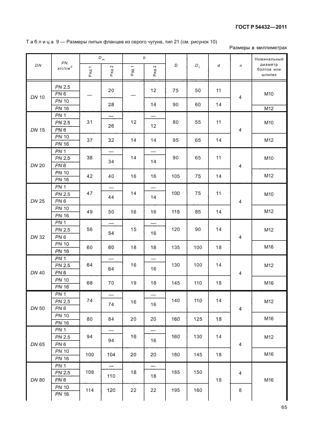
| Название документа рус.: | Фланцы арматуры, соединительных частей и трубопроводов на номинальное давление от PN 1 до PN 200. Конструкция, размеры и общие технические требования | | Название документа англ.: | Flanges for valves, fittings, and pipelines for pressure from PN 1 to PN 200. Design, dimensions and general technical requirements | | Дата актуализации текста: | 01.12.2013 | | Дата издания: | 24.05.2012 | | Дата введения: | 01.04.2012 | | Дата последнего изменения: | 17.10.2013 | | Область применения: | Настоящий стандарт распространяется на присоединительные фланцы трубопроводной арматуры, соединительных частей и трубопроводов, а также на присоединительные фланцы машин, приборов, патрубков, аппаратов и резервуаров на номинальное давление от PN 1 до PN 200 и устанавливает конструкцию и размеры стальных и чугунных фланцев, определяет типы фланцев, типы форм уплотнительных поверхностей, устанавливает технические требования к изготовлению, маркировке, испытаниям и контролю. Также в настоящем стандарте приведены рекомендации по выбору материала для фланцев и крепежных деталей.
На фланцы для других объектов, параметров и условий применения действуют ГОСТ 1536, ГОСТ 4433, ГОСТ 9399, ГОСТ 25660, ГОСТ 28759.1-ГОСТ 28759.5.
Стандарт может быть использован для подтверждения соответствия. | | Список изменений: | №0 от 25.12.2012 (рег. 25.12.2012) «Дата введения перенесена» | | Приложение №1: | Поправка к ГОСТ Р 54432-2011 | |
                                                                                               
Поправка к ГОСТ Р 54432-2011
| Обозначение: | Поправка к ГОСТ Р 54432-2011 |
| Дата введения: | 25.12.2012 |

|
|
|