Крупнейшая бесплатная информационно-справочная система онлайн доступа к полному собранию технических нормативно-правовых актов РФ. Огромная база технических нормативов (более 150 тысяч документов) и полное собрание национальных стандартов, аутентичное официальной базе Госстандарта. GOSTRF.com - это более 1 Терабайта бесплатной технической информации для всех пользователей интернета. Все электронные копии представленных здесь документов могут распространяться без каких-либо ограничений. Поощряется распространение информации с этого сайта на любых других ресурсах. Каждый человек имеет право на неограниченный доступ к этим документам! Каждый человек имеет право на знание требований, изложенных в данных нормативно-правовых актах!

  


 

ГОСТ Р 54709-2011

Система цифрового звукового радиовещания DRM. Специфичные ограничения по применению протокола распределения и коммуникации (DCP)

Обозначение:ГОСТ Р 54709-2011
Текущий статус документа: действующий
Название документа рус.:Система цифрового звукового радиовещания DRM. Специфичные ограничения по применению протокола распределения и коммуникации (DCP)
Название документа англ.:Digital audio broadcasting system DRM. Specific rectrictions for the use of the dictribution and communication protocol (DCP)
Дата актуализации текста:01.12.2013
Дата издания:22.06.2012
Дата введения:01.09.2012
Дата последнего изменения:23.05.2013
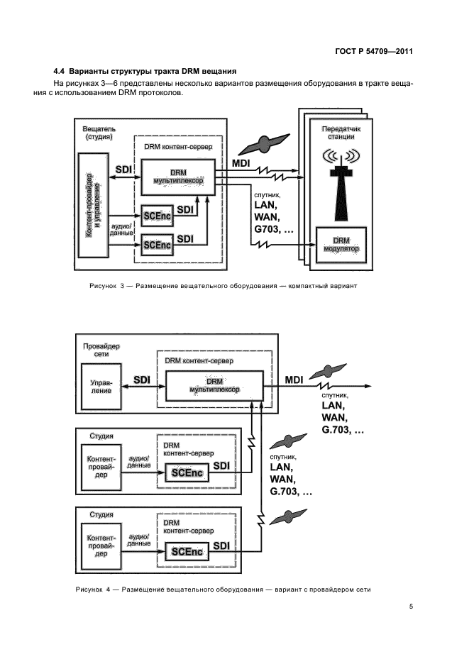
Область применения:Настоящий стандарт расширяет и более подробно определяет некоторые аспекты универсального независимого прикладного протокола распределения и коммуникации (DCP), чтобы построить в рамках DRM (см. ETSI [1]) общую основу для всех базирующихся на DCP протоколов. Эти прикладные DRM протоколы включают например, интерфейс распределения мультиплекса (MDI), интерфейс контроля модулятора (MCI), интерфейс распределения обслуживания (CDI), интерфейс состояния и управления приемника (RSCI).
Определения и ограничения к протоколу DCP, приведенные в настоящем стандарте, обязательны для всех используемых в DRM протоколов, основанных на DCP
ГОСТ Р 54709-2011ГОСТ Р 54709-2011ГОСТ Р 54709-2011ГОСТ Р 54709-2011ГОСТ Р 54709-2011ГОСТ Р 54709-2011ГОСТ Р 54709-2011ГОСТ Р 54709-2011ГОСТ Р 54709-2011ГОСТ Р 54709-2011ГОСТ Р 54709-2011ГОСТ Р 54709-2011ГОСТ Р 54709-2011ГОСТ Р 54709-2011ГОСТ Р 54709-2011ГОСТ Р 54709-2011
 




ГОСТЫ, СТРОИТЕЛЬНЫЕ и ТЕХНИЧЕСКИЕ НОРМАТИВЫ.
Некоммерческая онлайн система, содержащая все Российские Госты, национальные Стандарты и нормативы.
В Системе содержится более 150000 файлов нормативно-технической документации, действующей на территории РФ.
Система предназначена для широкого круга инженерно-технических специалистов.

Рейтинг@Mail.ru Яндекс цитирования

Copyright © www.gostrf.com, 2008 - 2026