Крупнейшая бесплатная информационно-справочная система онлайн доступа к полному собранию технических нормативно-правовых актов РФ. Огромная база технических нормативов (более 150 тысяч документов) и полное собрание национальных стандартов, аутентичное официальной базе Госстандарта. GOSTRF.com - это более 1 Терабайта бесплатной технической информации для всех пользователей интернета. Все электронные копии представленных здесь документов могут распространяться без каких-либо ограничений. Поощряется распространение информации с этого сайта на любых других ресурсах. Каждый человек имеет право на неограниченный доступ к этим документам! Каждый человек имеет право на знание требований, изложенных в данных нормативно-правовых актах!

  


 

ГОСТ Р 54439-2011

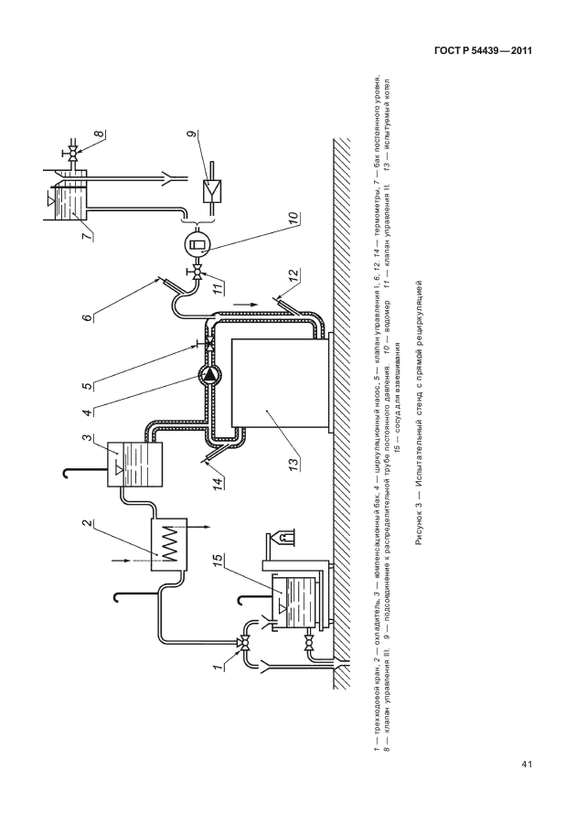
Котлы газовые для центрального отопления. Котлы типа В с номинальной тепловой мощностью свыше 300 кВт, но не более 1000 кВт

Обозначение:ГОСТ Р 54439-2011
Текущий статус документа: действующий
Название документа рус.:Котлы газовые для центрального отопления. Котлы типа В с номинальной тепловой мощностью свыше 300 кВт, но не более 1000 кВт
Название документа англ.:Gas fired central heating boilers. Type B boilers of nominal heat input not exceeding 300 kW, but not exceeding 1000 kW
Дата актуализации текста:01.12.2013
Дата издания:02.10.2012
Дата введения:01.07.2012
Дата последнего изменения:22.05.2013
Область применения:Настоящий стандарт распространяется на газовые котлы центрального отопления типа B, предназначенные для закрытых или открытых водяных систем, оборудованные атмосферными горелками, атмосферными горелками с вентиляторами или горелками с полным предварительным смешением, работающие с использованием одного или нескольких газов трех семейств, имеющие номинальную тепловую мощность более 300 кВт, но не превышающую 1000 кВт, температуру воды - не более 95 град. С, давление воды - не более 0,6 МПа.
Настоящий стандарт не распространяется на котлы:
- предназначенные для установки на открытом воздухе или в жилых помещениях;
- оборудованные несколькими дымоходами;
- с закрытыми камерами сгорания;
- с дутьевыми горелками;
- конденсационного типа;
- предназначенные для присоединения к общей дымовой трубе, имеющей дымосос;
- комбинированного типа (центральное отопление и горячее водоснабжение)
ГОСТ Р 54439-2011ГОСТ Р 54439-2011ГОСТ Р 54439-2011ГОСТ Р 54439-2011ГОСТ Р 54439-2011ГОСТ Р 54439-2011ГОСТ Р 54439-2011ГОСТ Р 54439-2011ГОСТ Р 54439-2011ГОСТ Р 54439-2011ГОСТ Р 54439-2011ГОСТ Р 54439-2011ГОСТ Р 54439-2011ГОСТ Р 54439-2011ГОСТ Р 54439-2011ГОСТ Р 54439-2011ГОСТ Р 54439-2011ГОСТ Р 54439-2011ГОСТ Р 54439-2011ГОСТ Р 54439-2011ГОСТ Р 54439-2011ГОСТ Р 54439-2011ГОСТ Р 54439-2011ГОСТ Р 54439-2011ГОСТ Р 54439-2011ГОСТ Р 54439-2011ГОСТ Р 54439-2011ГОСТ Р 54439-2011ГОСТ Р 54439-2011ГОСТ Р 54439-2011ГОСТ Р 54439-2011ГОСТ Р 54439-2011ГОСТ Р 54439-2011ГОСТ Р 54439-2011ГОСТ Р 54439-2011ГОСТ Р 54439-2011ГОСТ Р 54439-2011ГОСТ Р 54439-2011ГОСТ Р 54439-2011ГОСТ Р 54439-2011ГОСТ Р 54439-2011ГОСТ Р 54439-2011ГОСТ Р 54439-2011ГОСТ Р 54439-2011ГОСТ Р 54439-2011ГОСТ Р 54439-2011ГОСТ Р 54439-2011ГОСТ Р 54439-2011ГОСТ Р 54439-2011ГОСТ Р 54439-2011ГОСТ Р 54439-2011ГОСТ Р 54439-2011ГОСТ Р 54439-2011ГОСТ Р 54439-2011ГОСТ Р 54439-2011ГОСТ Р 54439-2011ГОСТ Р 54439-2011ГОСТ Р 54439-2011ГОСТ Р 54439-2011ГОСТ Р 54439-2011ГОСТ Р 54439-2011ГОСТ Р 54439-2011ГОСТ Р 54439-2011ГОСТ Р 54439-2011ГОСТ Р 54439-2011ГОСТ Р 54439-2011ГОСТ Р 54439-2011ГОСТ Р 54439-2011ГОСТ Р 54439-2011ГОСТ Р 54439-2011ГОСТ Р 54439-2011ГОСТ Р 54439-2011ГОСТ Р 54439-2011ГОСТ Р 54439-2011ГОСТ Р 54439-2011ГОСТ Р 54439-2011ГОСТ Р 54439-2011ГОСТ Р 54439-2011ГОСТ Р 54439-2011ГОСТ Р 54439-2011ГОСТ Р 54439-2011ГОСТ Р 54439-2011ГОСТ Р 54439-2011ГОСТ Р 54439-2011ГОСТ Р 54439-2011ГОСТ Р 54439-2011ГОСТ Р 54439-2011ГОСТ Р 54439-2011ГОСТ Р 54439-2011ГОСТ Р 54439-2011ГОСТ Р 54439-2011ГОСТ Р 54439-2011ГОСТ Р 54439-2011ГОСТ Р 54439-2011ГОСТ Р 54439-2011ГОСТ Р 54439-2011ГОСТ Р 54439-2011ГОСТ Р 54439-2011
 




ГОСТЫ, СТРОИТЕЛЬНЫЕ и ТЕХНИЧЕСКИЕ НОРМАТИВЫ.
Некоммерческая онлайн система, содержащая все Российские Госты, национальные Стандарты и нормативы.
В Системе содержится более 150000 файлов нормативно-технической документации, действующей на территории РФ.
Система предназначена для широкого круга инженерно-технических специалистов.

Рейтинг@Mail.ru Яндекс цитирования

Copyright © www.gostrf.com, 2008 - 2026