Крупнейшая бесплатная информационно-справочная система онлайн доступа к полному собранию технических нормативно-правовых актов РФ. Огромная база технических нормативов (более 150 тысяч документов) и полное собрание национальных стандартов, аутентичное официальной базе Госстандарта. GOSTRF.com - это более 1 Терабайта бесплатной технической информации для всех пользователей интернета. Все электронные копии представленных здесь документов могут распространяться без каких-либо ограничений. Поощряется распространение информации с этого сайта на любых других ресурсах. Каждый человек имеет право на неограниченный доступ к этим документам! Каждый человек имеет право на знание требований, изложенных в данных нормативно-правовых актах!

  


 

ГОСТ Р 54442-2011

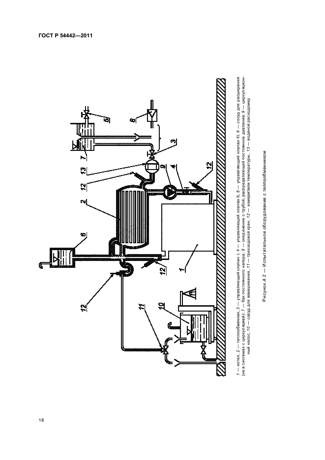
Котлы отопительные. Часть 3. Газовые котлы центрального отопления. Агрегат, состоящий из корпуса котла и горелки с принудительной подачей воздуха. Требования к теплотехническим испытаниям

Обозначение:ГОСТ Р 54442-2011
Текущий статус документа: действующий
Название документа рус.:Котлы отопительные. Часть 3. Газовые котлы центрального отопления. Агрегат, состоящий из корпуса котла и горелки с принудительной подачей воздуха. Требования к теплотехническим испытаниям
Название документа англ.:Heating boilers. Part 3. Gas-fired central heating boilers. Assembly comprising boiler body and a forced draught burner. Testing of heat engineering
Дата актуализации текста:01.12.2013
Дата издания:02.10.2012
Дата введения:01.07.2012
Дата последнего изменения:22.05.2013
Область применения:Настоящий стандарт устанавливает требования и методы испытаний, относящиеся к конструкции, безопасности и рациональному использованию энергии в агрегатах, собранных из корпуса котла, соответствующего ГОСТ Р 54440 и газовой горелки с принудительной подачей воздуха, соответствующей ГОСТ Р 51383.
Настоящий стандарт применяют к стандартным и низкотемпературным котлам с номинальной выходной мощностью не более 1000 кВт и максимальной рабочей температурой воды не более 115 градусов С.
Данный стандарт не включает в себя все необходимые требования к:
- узлам сконструированным из блоков;
- конденсационным котлам;
- котлам, предназначенным для установки вне помещений;
- котлам с несколькими постоянными выходами для топочных газов;
- котлам, имеющим устройство для отвода тяги;
- котлам, предназначенным для подсоединения к общему дымоходу с механической вытяжкой.
Настоящий стандарт не распространяется на котлы, предназначенные для жилых помещений
ГОСТ Р 54442-2011ГОСТ Р 54442-2011ГОСТ Р 54442-2011ГОСТ Р 54442-2011ГОСТ Р 54442-2011ГОСТ Р 54442-2011ГОСТ Р 54442-2011ГОСТ Р 54442-2011ГОСТ Р 54442-2011ГОСТ Р 54442-2011ГОСТ Р 54442-2011ГОСТ Р 54442-2011ГОСТ Р 54442-2011ГОСТ Р 54442-2011ГОСТ Р 54442-2011ГОСТ Р 54442-2011ГОСТ Р 54442-2011ГОСТ Р 54442-2011ГОСТ Р 54442-2011ГОСТ Р 54442-2011ГОСТ Р 54442-2011ГОСТ Р 54442-2011ГОСТ Р 54442-2011ГОСТ Р 54442-2011ГОСТ Р 54442-2011ГОСТ Р 54442-2011ГОСТ Р 54442-2011ГОСТ Р 54442-2011ГОСТ Р 54442-2011ГОСТ Р 54442-2011ГОСТ Р 54442-2011ГОСТ Р 54442-2011ГОСТ Р 54442-2011ГОСТ Р 54442-2011ГОСТ Р 54442-2011ГОСТ Р 54442-2011
 




ГОСТЫ, СТРОИТЕЛЬНЫЕ и ТЕХНИЧЕСКИЕ НОРМАТИВЫ.
Некоммерческая онлайн система, содержащая все Российские Госты, национальные Стандарты и нормативы.
В Системе содержится более 150000 файлов нормативно-технической документации, действующей на территории РФ.
Система предназначена для широкого круга инженерно-технических специалистов.

Рейтинг@Mail.ru Яндекс цитирования

Copyright © www.gostrf.com, 2008 - 2026