Крупнейшая бесплатная информационно-справочная система онлайн доступа к полному собранию технических нормативно-правовых актов РФ. Огромная база технических нормативов (более 150 тысяч документов) и полное собрание национальных стандартов, аутентичное официальной базе Госстандарта. GOSTRF.com - это более 1 Терабайта бесплатной технической информации для всех пользователей интернета. Все электронные копии представленных здесь документов могут распространяться без каких-либо ограничений. Поощряется распространение информации с этого сайта на любых других ресурсах. Каждый человек имеет право на неограниченный доступ к этим документам! Каждый человек имеет право на знание требований, изложенных в данных нормативно-правовых актах!

  


 

ГОСТ Р 54873-2011

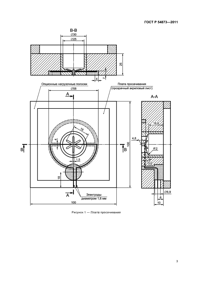
Полотна нетканые и изделия из них. Методы определения времени пропускания жидкости

Обозначение:ГОСТ Р 54873-2011
Текущий статус документа: действующий
Название документа рус.:Полотна нетканые и изделия из них. Методы определения времени пропускания жидкости
Название документа англ.:Nonwoven fabrics and products. Methods for determination of liquid strike-through time
Дата актуализации текста:01.12.2013
Дата издания:23.11.2012
Дата введения:01.01.2013
Дата последнего изменения:22.05.2013
Область применения:Настоящий стандарт распространяется на метод определения времени пропускания жидкости (искусственной мочи) нетканых полотен и изделий из них. Метод пригоден для сравнительных испытаний нетканых полотен различных типов и структур и изделий из них. Метод не моделирует условия использования готовых изделий.
Стандарт устанавливает метод лабораторного определения времени пропускания жидкости нетканых полотен, используемых в женских гигиенических прокладках (пакетах) и других изделиях санитарно–гигиенического назначения.
Сущность метода заключается в измерении времени, затраченного жидкостью, имитирующей мочу, для проникновения через испытуемые нетканые материалы и изделия из них, которые помещены на абсорбирующую подушку, при заданных условиях и скорости
ГОСТ Р 54873-2011ГОСТ Р 54873-2011ГОСТ Р 54873-2011ГОСТ Р 54873-2011ГОСТ Р 54873-2011ГОСТ Р 54873-2011ГОСТ Р 54873-2011ГОСТ Р 54873-2011ГОСТ Р 54873-2011ГОСТ Р 54873-2011ГОСТ Р 54873-2011ГОСТ Р 54873-2011
 




ГОСТЫ, СТРОИТЕЛЬНЫЕ и ТЕХНИЧЕСКИЕ НОРМАТИВЫ.
Некоммерческая онлайн система, содержащая все Российские Госты, национальные Стандарты и нормативы.
В Системе содержится более 150000 файлов нормативно-технической документации, действующей на территории РФ.
Система предназначена для широкого круга инженерно-технических специалистов.

Рейтинг@Mail.ru Яндекс цитирования

Copyright © www.gostrf.com, 2008 - 2026