Крупнейшая бесплатная информационно-справочная система онлайн доступа к полному собранию технических нормативно-правовых актов РФ. Огромная база технических нормативов (более 150 тысяч документов) и полное собрание национальных стандартов, аутентичное официальной базе Госстандарта. GOSTRF.com - это более 1 Терабайта бесплатной технической информации для всех пользователей интернета. Все электронные копии представленных здесь документов могут распространяться без каких-либо ограничений. Поощряется распространение информации с этого сайта на любых других ресурсах. Каждый человек имеет право на неограниченный доступ к этим документам! Каждый человек имеет право на знание требований, изложенных в данных нормативно-правовых актах!

  


 

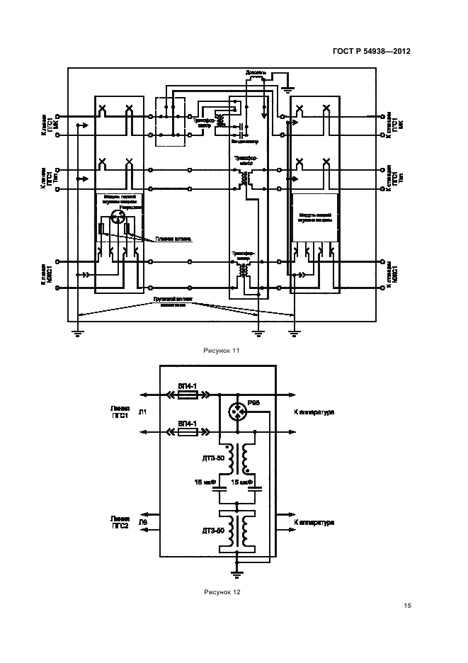
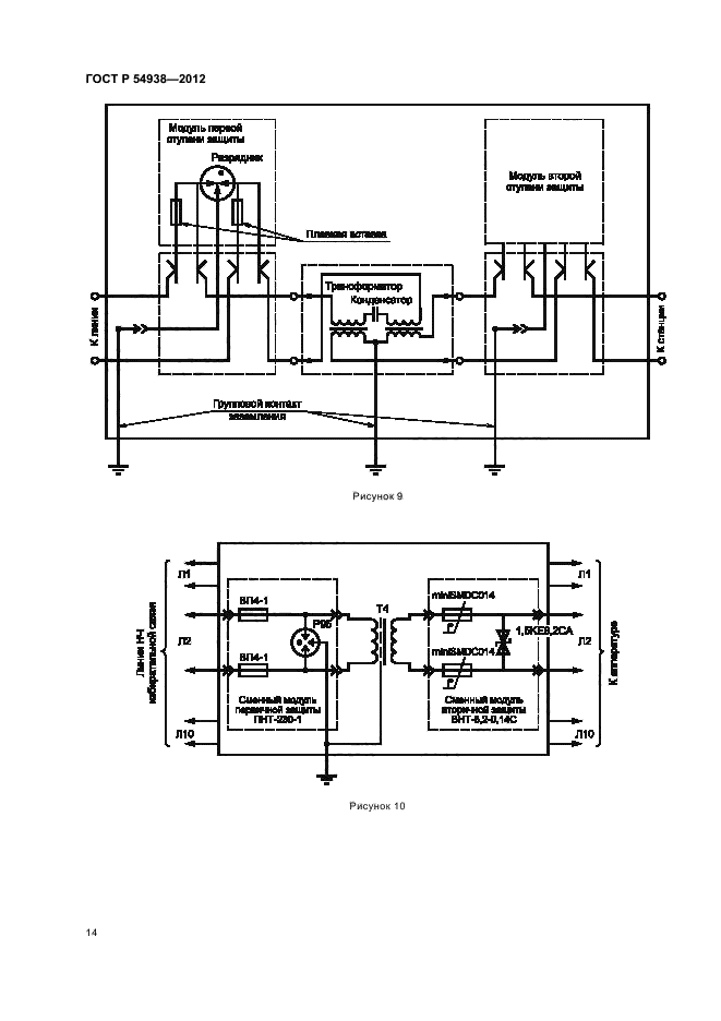
ГОСТ Р 54938-2012

Железнодорожная электросвязь. Правила защиты проводной связи от влияния тяговой сети электрифицированных железных дорог постоянного и переменного тока

Обозначение:ГОСТ Р 54938-2012
Текущий статус документа: действующий
Название документа рус.:Железнодорожная электросвязь. Правила защиты проводной связи от влияния тяговой сети электрифицированных железных дорог постоянного и переменного тока
Название документа англ.:Railway telecommunication. Protection regulation of lines communication against influence of a traction network of the electrified railways constant and alternating current
Дата актуализации текста:01.12.2013
Дата издания:17.12.2012
Дата введения:01.09.2012
Дата последнего изменения:22.05.2013
Область применения:Настоящий стандарт распространяется на устройства железнодорожной проводной электросвязи и устанавливает правила защиты их от опасных и мешающих напряжений и токов, возникающих при влиянии тяговых сетей электрифицированных железных дорог постоянного и переменного тока.
Правила, установленные настоящим стандартом, предназначены для применения на всех участках электрифицированных железных дорог и на всех участках не электрифицированных железных дорог, находящихся в зоне влияния тяговой сети.
Стандарт не распространяется на:
- установки проводной электросвязи энергосистем, линии которых обслуживаются как высоковольтные;
- средства и сооружения железнодорожной проводной электросвязи, расположенные внутри защитного заземляющего контура установок высокого напряжения;
- средства и сооружения железнодорожной автоматики и телемеханики (сигнализации, централизации и блокировки);
- устройства защиты подземных кабелей от коррозии блуждающими токами
ГОСТ Р 54938-2012ГОСТ Р 54938-2012ГОСТ Р 54938-2012ГОСТ Р 54938-2012ГОСТ Р 54938-2012ГОСТ Р 54938-2012ГОСТ Р 54938-2012ГОСТ Р 54938-2012ГОСТ Р 54938-2012ГОСТ Р 54938-2012ГОСТ Р 54938-2012ГОСТ Р 54938-2012ГОСТ Р 54938-2012ГОСТ Р 54938-2012ГОСТ Р 54938-2012ГОСТ Р 54938-2012ГОСТ Р 54938-2012ГОСТ Р 54938-2012ГОСТ Р 54938-2012ГОСТ Р 54938-2012ГОСТ Р 54938-2012ГОСТ Р 54938-2012ГОСТ Р 54938-2012ГОСТ Р 54938-2012
 




ГОСТЫ, СТРОИТЕЛЬНЫЕ и ТЕХНИЧЕСКИЕ НОРМАТИВЫ.
Некоммерческая онлайн система, содержащая все Российские Госты, национальные Стандарты и нормативы.
В Системе содержится более 150000 файлов нормативно-технической документации, действующей на территории РФ.
Система предназначена для широкого круга инженерно-технических специалистов.

Рейтинг@Mail.ru Яндекс цитирования

Copyright © www.gostrf.com, 2008 - 2026