Крупнейшая бесплатная информационно-справочная система онлайн доступа к полному собранию технических нормативно-правовых актов РФ. Огромная база технических нормативов (более 150 тысяч документов) и полное собрание национальных стандартов, аутентичное официальной базе Госстандарта. GOSTRF.com - это более 1 Терабайта бесплатной технической информации для всех пользователей интернета. Все электронные копии представленных здесь документов могут распространяться без каких-либо ограничений. Поощряется распространение информации с этого сайта на любых других ресурсах. Каждый человек имеет право на неограниченный доступ к этим документам! Каждый человек имеет право на знание требований, изложенных в данных нормативно-правовых актах!

  


 

ГОСТ Р 51318.20-2012

Совместимость технических средств электромагнитная. Приемники звукового и телевизионного вещания и связанное с ними оборудование. Характеристики помехоустойчивости. Нормы и методы измерений

Обозначение:ГОСТ Р 51318.20-2012
Текущий статус документа: действующий
Название документа рус.:Совместимость технических средств электромагнитная. Приемники звукового и телевизионного вещания и связанное с ними оборудование. Характеристики помехоустойчивости. Нормы и методы измерений
Название документа англ.:Electromagnetic compatibility of technical equipment. Sound and television broadcast receivers and associated equipment. Immunity characteristics. Limits and methods of measurement
Дата актуализации текста:01.12.2013
Дата издания:13.05.2013
Дата введения:01.01.2013
Дата последнего изменения:20.06.2013
Область применения:Настоящий стандарт устанавливает требования помехоустойчивости к приемникам телевизионного вещания (далее – телевизионные приемники), приемникам звукового вещания (звуковые приемники) и связанному с ними оборудованию, предназначенным для применения в жилых, коммерческих зонах и производственных зонах с малым энергопотреблением.
Настоящий стандарт устанавливает методы измерения и нормы помехоустойчивости в отношении воздействия мешающих сигналов, применимые к телевизионным приемникам, звуковым приемникам и связанному с ними оборудованию.
Настоящий стандарт устанавливает также требования к помехоустойчивости наружных устройств систем индивидуального приема спутниковых программ непосредственно на бытовой телевизионный приемник.
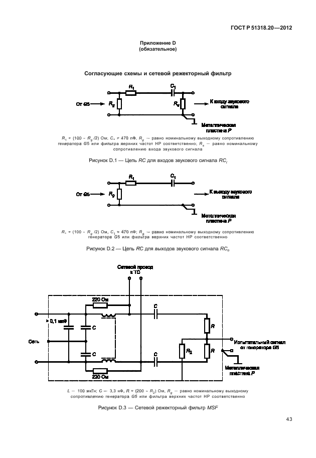
Настоящий стандарт устанавливает требования к проведению испытаний на помехоустойчивость телевизионных приемников, звуковых приемников и связанного с ними оборудования (применительно к ним в тексте стандарта применяются также термины «оборудование» или «техническое средство») при воздействии кондуктивных и излучаемых помех (непрерывного и переходного характера) и электростатических разрядов.
Требования настоящего стандарта распространяются на телевизионные приемники, звуковые приемники и связанное с ними оборудование, применяемые в жилых, коммерческих зонах и производственных зонах с малым энергопотреблением, как в зданиях, так и вне зданий
ГОСТ Р 51318.20-2012ГОСТ Р 51318.20-2012ГОСТ Р 51318.20-2012ГОСТ Р 51318.20-2012ГОСТ Р 51318.20-2012ГОСТ Р 51318.20-2012ГОСТ Р 51318.20-2012ГОСТ Р 51318.20-2012ГОСТ Р 51318.20-2012ГОСТ Р 51318.20-2012ГОСТ Р 51318.20-2012ГОСТ Р 51318.20-2012ГОСТ Р 51318.20-2012ГОСТ Р 51318.20-2012ГОСТ Р 51318.20-2012ГОСТ Р 51318.20-2012ГОСТ Р 51318.20-2012ГОСТ Р 51318.20-2012ГОСТ Р 51318.20-2012ГОСТ Р 51318.20-2012ГОСТ Р 51318.20-2012ГОСТ Р 51318.20-2012ГОСТ Р 51318.20-2012ГОСТ Р 51318.20-2012ГОСТ Р 51318.20-2012ГОСТ Р 51318.20-2012ГОСТ Р 51318.20-2012ГОСТ Р 51318.20-2012ГОСТ Р 51318.20-2012ГОСТ Р 51318.20-2012ГОСТ Р 51318.20-2012ГОСТ Р 51318.20-2012ГОСТ Р 51318.20-2012ГОСТ Р 51318.20-2012ГОСТ Р 51318.20-2012ГОСТ Р 51318.20-2012ГОСТ Р 51318.20-2012ГОСТ Р 51318.20-2012ГОСТ Р 51318.20-2012ГОСТ Р 51318.20-2012ГОСТ Р 51318.20-2012ГОСТ Р 51318.20-2012ГОСТ Р 51318.20-2012ГОСТ Р 51318.20-2012ГОСТ Р 51318.20-2012ГОСТ Р 51318.20-2012ГОСТ Р 51318.20-2012ГОСТ Р 51318.20-2012ГОСТ Р 51318.20-2012ГОСТ Р 51318.20-2012ГОСТ Р 51318.20-2012ГОСТ Р 51318.20-2012ГОСТ Р 51318.20-2012ГОСТ Р 51318.20-2012ГОСТ Р 51318.20-2012ГОСТ Р 51318.20-2012ГОСТ Р 51318.20-2012ГОСТ Р 51318.20-2012ГОСТ Р 51318.20-2012ГОСТ Р 51318.20-2012ГОСТ Р 51318.20-2012ГОСТ Р 51318.20-2012ГОСТ Р 51318.20-2012ГОСТ Р 51318.20-2012ГОСТ Р 51318.20-2012ГОСТ Р 51318.20-2012ГОСТ Р 51318.20-2012
 




ГОСТЫ, СТРОИТЕЛЬНЫЕ и ТЕХНИЧЕСКИЕ НОРМАТИВЫ.
Некоммерческая онлайн система, содержащая все Российские Госты, национальные Стандарты и нормативы.
В Системе содержится более 150000 файлов нормативно-технической документации, действующей на территории РФ.
Система предназначена для широкого круга инженерно-технических специалистов.

Рейтинг@Mail.ru Яндекс цитирования

Copyright © www.gostrf.com, 2008 - 2026