Крупнейшая бесплатная информационно-справочная система онлайн доступа к полному собранию технических нормативно-правовых актов РФ. Огромная база технических нормативов (более 150 тысяч документов) и полное собрание национальных стандартов, аутентичное официальной базе Госстандарта. GOSTRF.com - это более 1 Терабайта бесплатной технической информации для всех пользователей интернета. Все электронные копии представленных здесь документов могут распространяться без каких-либо ограничений. Поощряется распространение информации с этого сайта на любых других ресурсах. Каждый человек имеет право на неограниченный доступ к этим документам! Каждый человек имеет право на знание требований, изложенных в данных нормативно-правовых актах!

  


 

ГОСТ 31613-2012

Электростатическая искробезопасность. Общие технические требования и методы испытаний

Обозначение:ГОСТ 31613-2012
Текущий статус документа: действующий
Название документа рус.:Электростатическая искробезопасность. Общие технические требования и методы испытаний
Название документа англ.:Static electricity spark safety. General technical requirements and test methods
Дата актуализации текста:01.12.2013
Дата издания:22.04.2013
Дата введения:15.02.2013
Дата последнего изменения:22.05.2013
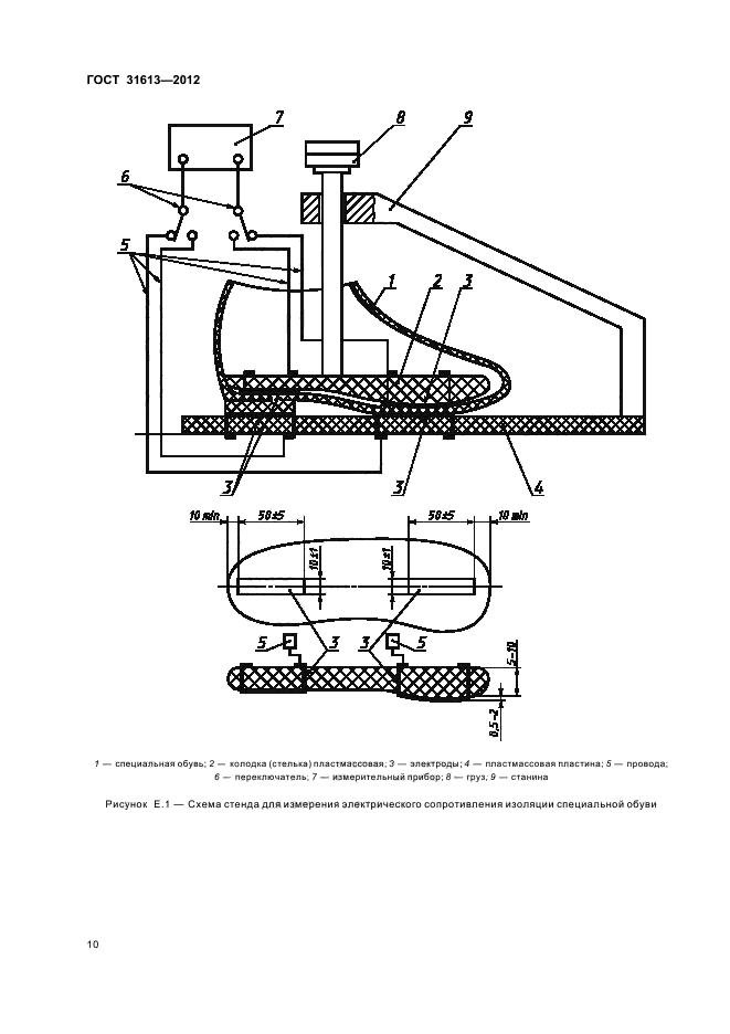
Область применения:Настоящий стандарт в соответствии с положениями ГОСТ 12.1.004, ГОСТ 12.1.010 и ГОСТ 12.1.018 регламентирует общие технические требования и методы испытаний оболочек и других частей электрооборудования, специальной одежды и обуви, конвейерных лент и вентиляционных труб, полностью или частично изготовленных из неметаллических материалов и электризующихся в процессе их применения во взрывоопасных зонах.
Стандарт не распространяется на кабели и провода, указатели напряжения, изолирующие штанги и клещи, диэлектрические боты и коврики, которые по требованиям электробезопасности должны иметь высокое электрическое сопротивление, а для обеспечения их электростатической искробезопасности должны быть предусмотрены организационные меры, указанные в «Правилах применения и испытания средств защиты, используемых в электроустановках, и технических требованиях к ним» и в «Инструкции по эксплуатации».
Стандарт не распространяется на оборудование электронно-ионных технологий, производств взрывчатых веществ и объектов, опасность которых обусловлена свойствами взрывчатых веществ
ГОСТ 31613-2012ГОСТ 31613-2012ГОСТ 31613-2012ГОСТ 31613-2012ГОСТ 31613-2012ГОСТ 31613-2012ГОСТ 31613-2012ГОСТ 31613-2012ГОСТ 31613-2012ГОСТ 31613-2012ГОСТ 31613-2012ГОСТ 31613-2012ГОСТ 31613-2012ГОСТ 31613-2012ГОСТ 31613-2012ГОСТ 31613-2012ГОСТ 31613-2012ГОСТ 31613-2012ГОСТ 31613-2012ГОСТ 31613-2012
 




ГОСТЫ, СТРОИТЕЛЬНЫЕ и ТЕХНИЧЕСКИЕ НОРМАТИВЫ.
Некоммерческая онлайн система, содержащая все Российские Госты, национальные Стандарты и нормативы.
В Системе содержится более 150000 файлов нормативно-технической документации, действующей на территории РФ.
Система предназначена для широкого круга инженерно-технических специалистов.

Рейтинг@Mail.ru Яндекс цитирования

Copyright © www.gostrf.com, 2008 - 2026