Крупнейшая бесплатная информационно-справочная система онлайн доступа к полному собранию технических нормативно-правовых актов РФ. Огромная база технических нормативов (более 150 тысяч документов) и полное собрание национальных стандартов, аутентичное официальной базе Госстандарта. GOSTRF.com - это более 1 Терабайта бесплатной технической информации для всех пользователей интернета. Все электронные копии представленных здесь документов могут распространяться без каких-либо ограничений. Поощряется распространение информации с этого сайта на любых других ресурсах. Каждый человек имеет право на неограниченный доступ к этим документам! Каждый человек имеет право на знание требований, изложенных в данных нормативно-правовых актах!

  


 

ГОСТ 30324.2.38-2012

Изделия медицинские электрические. Часть 2-38. Частные требования безопасности к кроватям медицинским электрическим

Обозначение:ГОСТ 30324.2.38-2012
Текущий статус документа: принят
Название документа рус.:Изделия медицинские электрические. Часть 2-38. Частные требования безопасности к кроватям медицинским электрическим
Название документа англ.:Medical electrical equipment. Part 2-38. Particular requirements for the safety of electrically operated hospital beds
Дата актуализации текста:01.12.2013
Дата издания:03.07.2013
Дата введения:01.01.2015
Дата последнего изменения:16.07.2013
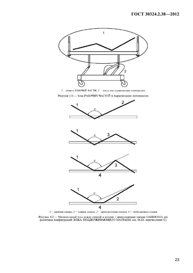
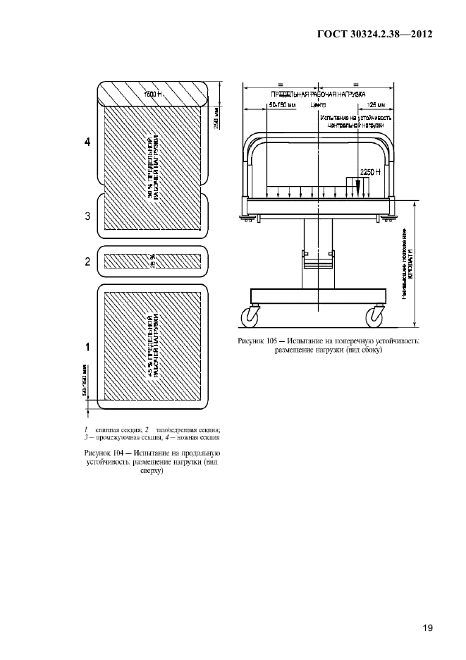
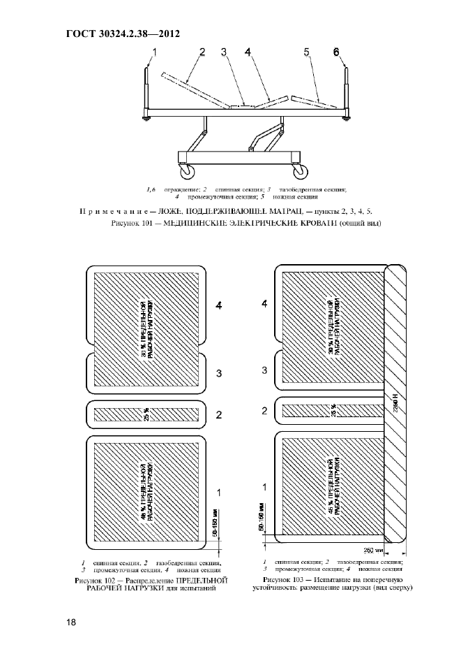
Область применения:Настоящий стандарт устанавливает требования к кроватям медицинским электрическим (далее - кровати, см. 2.2.101).
Требования настоящего стандарта являются обязательными
ГОСТ 30324.2.38-2012ГОСТ 30324.2.38-2012ГОСТ 30324.2.38-2012ГОСТ 30324.2.38-2012ГОСТ 30324.2.38-2012ГОСТ 30324.2.38-2012ГОСТ 30324.2.38-2012ГОСТ 30324.2.38-2012ГОСТ 30324.2.38-2012ГОСТ 30324.2.38-2012ГОСТ 30324.2.38-2012ГОСТ 30324.2.38-2012ГОСТ 30324.2.38-2012ГОСТ 30324.2.38-2012ГОСТ 30324.2.38-2012ГОСТ 30324.2.38-2012ГОСТ 30324.2.38-2012ГОСТ 30324.2.38-2012ГОСТ 30324.2.38-2012ГОСТ 30324.2.38-2012ГОСТ 30324.2.38-2012ГОСТ 30324.2.38-2012ГОСТ 30324.2.38-2012ГОСТ 30324.2.38-2012ГОСТ 30324.2.38-2012ГОСТ 30324.2.38-2012ГОСТ 30324.2.38-2012ГОСТ 30324.2.38-2012ГОСТ 30324.2.38-2012ГОСТ 30324.2.38-2012ГОСТ 30324.2.38-2012ГОСТ 30324.2.38-2012ГОСТ 30324.2.38-2012ГОСТ 30324.2.38-2012ГОСТ 30324.2.38-2012ГОСТ 30324.2.38-2012ГОСТ 30324.2.38-2012ГОСТ 30324.2.38-2012ГОСТ 30324.2.38-2012ГОСТ 30324.2.38-2012ГОСТ 30324.2.38-2012
 




ГОСТЫ, СТРОИТЕЛЬНЫЕ и ТЕХНИЧЕСКИЕ НОРМАТИВЫ.
Некоммерческая онлайн система, содержащая все Российские Госты, национальные Стандарты и нормативы.
В Системе содержится более 150000 файлов нормативно-технической документации, действующей на территории РФ.
Система предназначена для широкого круга инженерно-технических специалистов.

Рейтинг@Mail.ru Яндекс цитирования

Copyright © www.gostrf.com, 2008 - 2026