Крупнейшая бесплатная информационно-справочная система онлайн доступа к полному собранию технических нормативно-правовых актов РФ. Огромная база технических нормативов (более 150 тысяч документов) и полное собрание национальных стандартов, аутентичное официальной базе Госстандарта. GOSTRF.com - это более 1 Терабайта бесплатной технической информации для всех пользователей интернета. Все электронные копии представленных здесь документов могут распространяться без каких-либо ограничений. Поощряется распространение информации с этого сайта на любых других ресурсах. Каждый человек имеет право на неограниченный доступ к этим документам! Каждый человек имеет право на знание требований, изложенных в данных нормативно-правовых актах!

  


 

ГОСТ Р 54822-2011

Воздухонагреватели газовые бытовые отопительные с принудительной конвекцией и вспомогательным вентилятором горелок с номинальной тепловой мощностью не более 70 кВт. Общие технические требования и методы испытаний

Обозначение:ГОСТ Р 54822-2011
Текущий статус документа: действующий
Название документа рус.:Воздухонагреватели газовые бытовые отопительные с принудительной конвекцией и вспомогательным вентилятором горелок с номинальной тепловой мощностью не более 70 кВт. Общие технические требования и методы испытаний
Название документа англ.:Domestic gas-fired forced convection air heaters for space heating, with fan-assisted burners not exceeding a net heat input of 70 kW. General technical requirements and test methods
Дата актуализации текста:01.12.2013
Дата издания:22.05.2013
Дата введения:01.01.2013
Дата последнего изменения:15.07.2013
Область применения:Настоящий стандарт устанавливает требования безопасности и энергоэффективности, методы испытаний бытовых отопительных газовых воздухонагревателей с принудительной конвекцией и вспомогательным вентилятором, обеспечивающим подачу воздуха для горения и/ или отвод продуктов сгорания (далее – аппараты).
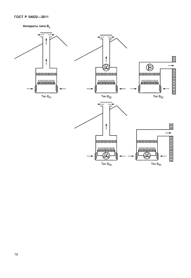
Настоящий стандарт распространяется на аппараты типов B12, B12AS, B12BS, В13, В13АS, B13BS, B14, B14АS, B14BS, B22, B23, B42, B42АS, B42BS, B43, B43АS, B43BS, B44, B44АS, B44BS, B52, B53, C12, C13, C32, C33, C62 и C63 с тепловой мощностью не более 70 кВт, предназначенные для использования, как правило, в одном блоке жилого дома
ГОСТ Р 54822-2011ГОСТ Р 54822-2011ГОСТ Р 54822-2011ГОСТ Р 54822-2011ГОСТ Р 54822-2011ГОСТ Р 54822-2011ГОСТ Р 54822-2011ГОСТ Р 54822-2011ГОСТ Р 54822-2011ГОСТ Р 54822-2011ГОСТ Р 54822-2011ГОСТ Р 54822-2011ГОСТ Р 54822-2011ГОСТ Р 54822-2011ГОСТ Р 54822-2011ГОСТ Р 54822-2011ГОСТ Р 54822-2011ГОСТ Р 54822-2011ГОСТ Р 54822-2011ГОСТ Р 54822-2011ГОСТ Р 54822-2011ГОСТ Р 54822-2011ГОСТ Р 54822-2011ГОСТ Р 54822-2011ГОСТ Р 54822-2011ГОСТ Р 54822-2011ГОСТ Р 54822-2011ГОСТ Р 54822-2011ГОСТ Р 54822-2011ГОСТ Р 54822-2011ГОСТ Р 54822-2011ГОСТ Р 54822-2011ГОСТ Р 54822-2011ГОСТ Р 54822-2011ГОСТ Р 54822-2011ГОСТ Р 54822-2011ГОСТ Р 54822-2011ГОСТ Р 54822-2011ГОСТ Р 54822-2011ГОСТ Р 54822-2011ГОСТ Р 54822-2011ГОСТ Р 54822-2011ГОСТ Р 54822-2011ГОСТ Р 54822-2011ГОСТ Р 54822-2011ГОСТ Р 54822-2011ГОСТ Р 54822-2011ГОСТ Р 54822-2011ГОСТ Р 54822-2011ГОСТ Р 54822-2011ГОСТ Р 54822-2011ГОСТ Р 54822-2011ГОСТ Р 54822-2011ГОСТ Р 54822-2011ГОСТ Р 54822-2011ГОСТ Р 54822-2011ГОСТ Р 54822-2011ГОСТ Р 54822-2011ГОСТ Р 54822-2011ГОСТ Р 54822-2011ГОСТ Р 54822-2011ГОСТ Р 54822-2011ГОСТ Р 54822-2011ГОСТ Р 54822-2011ГОСТ Р 54822-2011ГОСТ Р 54822-2011ГОСТ Р 54822-2011ГОСТ Р 54822-2011ГОСТ Р 54822-2011ГОСТ Р 54822-2011ГОСТ Р 54822-2011ГОСТ Р 54822-2011ГОСТ Р 54822-2011ГОСТ Р 54822-2011ГОСТ Р 54822-2011ГОСТ Р 54822-2011ГОСТ Р 54822-2011ГОСТ Р 54822-2011ГОСТ Р 54822-2011ГОСТ Р 54822-2011ГОСТ Р 54822-2011ГОСТ Р 54822-2011ГОСТ Р 54822-2011ГОСТ Р 54822-2011ГОСТ Р 54822-2011ГОСТ Р 54822-2011
 




ГОСТЫ, СТРОИТЕЛЬНЫЕ и ТЕХНИЧЕСКИЕ НОРМАТИВЫ.
Некоммерческая онлайн система, содержащая все Российские Госты, национальные Стандарты и нормативы.
В Системе содержится более 150000 файлов нормативно-технической документации, действующей на территории РФ.
Система предназначена для широкого круга инженерно-технических специалистов.

Рейтинг@Mail.ru Яндекс цитирования

Copyright © www.gostrf.com, 2008 - 2026