Крупнейшая бесплатная информационно-справочная система онлайн доступа к полному собранию технических нормативно-правовых актов РФ. Огромная база технических нормативов (более 150 тысяч документов) и полное собрание национальных стандартов, аутентичное официальной базе Госстандарта. GOSTRF.com - это более 1 Терабайта бесплатной технической информации для всех пользователей интернета. Все электронные копии представленных здесь документов могут распространяться без каких-либо ограничений. Поощряется распространение информации с этого сайта на любых других ресурсах. Каждый человек имеет право на неограниченный доступ к этим документам! Каждый человек имеет право на знание требований, изложенных в данных нормативно-правовых актах!

  


 

ГОСТ 12.4.107-2012

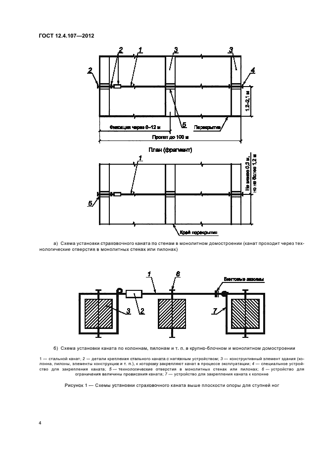
Система стандартов безопасности труда. Строительство. Канаты страховочные. Технические условия

Обозначение:ГОСТ 12.4.107-2012
Текущий статус документа: действующий
Название документа рус.:Система стандартов безопасности труда. Строительство. Канаты страховочные. Технические условия
Название документа англ.:Occupational safety standards system. Building. Safety ropes. Specifications
Дата актуализации текста:01.12.2013
Дата введения:01.07.2013
Дата последнего изменения:15.07.2013
Область применения:Настоящий стандарт распространяется на стальные страховочные канаты (далее канаты), располагаемые горизонтально или под углом до 10 к горизонту и предназначенные для закрепления карабином пояса предохранительного с целью защиты работающих при падении с высоты, в процессе производства строительно-монтажных, ремонтно-восстановительных и других видов работ, при возведении и эксплуатации зданий и сооружений
ГОСТ 12.4.107-2012ГОСТ 12.4.107-2012ГОСТ 12.4.107-2012ГОСТ 12.4.107-2012ГОСТ 12.4.107-2012ГОСТ 12.4.107-2012ГОСТ 12.4.107-2012ГОСТ 12.4.107-2012ГОСТ 12.4.107-2012ГОСТ 12.4.107-2012ГОСТ 12.4.107-2012ГОСТ 12.4.107-2012
 




ГОСТЫ, СТРОИТЕЛЬНЫЕ и ТЕХНИЧЕСКИЕ НОРМАТИВЫ.
Некоммерческая онлайн система, содержащая все Российские Госты, национальные Стандарты и нормативы.
В Системе содержится более 150000 файлов нормативно-технической документации, действующей на территории РФ.
Система предназначена для широкого круга инженерно-технических специалистов.

Рейтинг@Mail.ru Яндекс цитирования

Copyright © www.gostrf.com, 2008 - 2026