Крупнейшая бесплатная информационно-справочная система онлайн доступа к полному собранию технических нормативно-правовых актов РФ. Огромная база технических нормативов (более 150 тысяч документов) и полное собрание национальных стандартов, аутентичное официальной базе Госстандарта. GOSTRF.com - это более 1 Терабайта бесплатной технической информации для всех пользователей интернета. Все электронные копии представленных здесь документов могут распространяться без каких-либо ограничений. Поощряется распространение информации с этого сайта на любых других ресурсах. Каждый человек имеет право на неограниченный доступ к этим документам! Каждый человек имеет право на знание требований, изложенных в данных нормативно-правовых актах!

  


 

ГОСТ 31825-2012

Штанги насосные, штоки устьевые и муфты к ним. Технические условия

Обозначение:ГОСТ 31825-2012
Текущий статус документа: принят
Название документа рус.:Штанги насосные, штоки устьевые и муфты к ним. Технические условия
Название документа англ.:Sucker rods, mouth stocks and couplings for them. Specifications
Дата актуализации текста:01.12.2013
Дата издания:27.09.2013
Дата введения:01.01.2014
Дата последнего изменения:17.10.2013
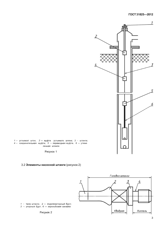
Область применения:Настоящий стандарт распространяется на насосные штанги (нормальной длины, укороченные, утяжеленные), устьевые штоки и муфты к ним, предназначенные для передачи возвратно-поступательного движения от наземного привода штанговой насосной установки к плунжеру скважинного насоса или вращательного движения, в случае применения винтовых насосов при добыче нефти.
Стандарт может быть использован для целей сертификации
ГОСТ 31825-2012ГОСТ 31825-2012ГОСТ 31825-2012ГОСТ 31825-2012ГОСТ 31825-2012ГОСТ 31825-2012ГОСТ 31825-2012ГОСТ 31825-2012ГОСТ 31825-2012ГОСТ 31825-2012ГОСТ 31825-2012ГОСТ 31825-2012ГОСТ 31825-2012ГОСТ 31825-2012ГОСТ 31825-2012ГОСТ 31825-2012ГОСТ 31825-2012ГОСТ 31825-2012ГОСТ 31825-2012ГОСТ 31825-2012ГОСТ 31825-2012ГОСТ 31825-2012ГОСТ 31825-2012ГОСТ 31825-2012ГОСТ 31825-2012ГОСТ 31825-2012ГОСТ 31825-2012ГОСТ 31825-2012ГОСТ 31825-2012ГОСТ 31825-2012ГОСТ 31825-2012ГОСТ 31825-2012ГОСТ 31825-2012ГОСТ 31825-2012ГОСТ 31825-2012ГОСТ 31825-2012ГОСТ 31825-2012ГОСТ 31825-2012ГОСТ 31825-2012ГОСТ 31825-2012ГОСТ 31825-2012ГОСТ 31825-2012ГОСТ 31825-2012ГОСТ 31825-2012ГОСТ 31825-2012ГОСТ 31825-2012ГОСТ 31825-2012ГОСТ 31825-2012ГОСТ 31825-2012ГОСТ 31825-2012ГОСТ 31825-2012
 




ГОСТЫ, СТРОИТЕЛЬНЫЕ и ТЕХНИЧЕСКИЕ НОРМАТИВЫ.
Некоммерческая онлайн система, содержащая все Российские Госты, национальные Стандарты и нормативы.
В Системе содержится более 150000 файлов нормативно-технической документации, действующей на территории РФ.
Система предназначена для широкого круга инженерно-технических специалистов.

Рейтинг@Mail.ru Яндекс цитирования

Copyright © www.gostrf.com, 2008 - 2026